虽然企业发展风云变幻,但我们也许可以从一些榜单间,一窥其发展态势。
9月28日,中国企业联合会、中国企业家协会发布2020中国企业500强名单,同时发布《2020中国企业500强分析报告》。报告显示,2020中国企业500强继续保持较好发展态势,且千亿级企业首次突破200家。
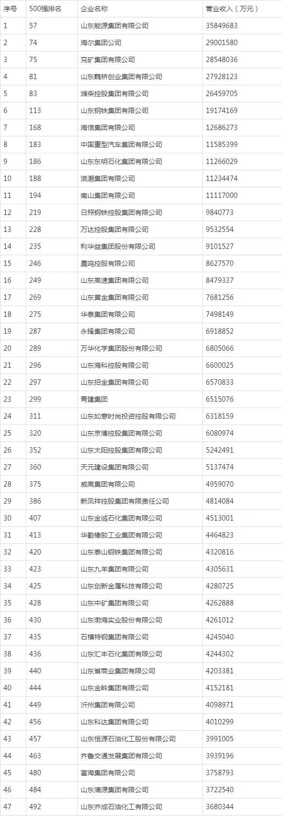
榜单中,中国石油化工集团有限公司、中国建筑股份有限公司,中国工商银行股份有限公司分列前三。从山东来看,有47家鲁企进入榜单,其中包含三家青岛企业。分别是排名74的海尔集团公司、排名168的海信集团有限公司和排名299的青建集团,比去年减少一家。
在青岛看来,企业家是青岛开放发展的重要资源和宝贵财富,青岛企业也呈现出良好的发展态势,布局持续优化,新旧动能转换的步伐也不断加快。但对标全国范围而言,青岛仍然没有服务业企业登上榜单。且如何培养下一个千亿级企业,仍然是留给城市的命题。

齐鲁财研社第55期
撰文/©茗萱
审校/©建成
2020中国企业500强出炉
9月28日,在2020中国500强企业高峰论坛上,中国企业联合会、中国企业家协会连续第19次向社会发布“中国企业500强”榜单。榜单是由企业按照要求进行申报或采用公开数据,并经会计师事务所等单位认可,依据2019年企业营业收入排序产生。
中国企业500强榜单至今已连续发布19年。但在整体来看,榜单入围门槛连续18年提高,2020中国企业500强入围门槛已经提升至359.61亿元。
2020年中国企业500强中,中国石油化工集团有限公司以2.81万亿营收排名第一,国家电网有限公司与中国石油天然气集团有限公司分列二三位,营收总额分别为2.65万亿、2.62万亿。中国建筑股份有限公司,中国工商银行股份有限公司,中国平安保险(集团)股份有限公司,中国建设银行股份有限公司,中国农业银行股份有限公司,中国银行股份有限公司,中国人寿(集团)公司分列第四到第十位。
本次榜单显示出2020中国企业500强继续保持较好发展态势,营业收入保持中高速增长,资产规模中低速扩张;净利润总体保持增长,亏损面均不同程度收窄。2019全年,前500强企业共实现营业收入86.02万亿元,比上年增长8.75%。
值得注意的是,“千亿俱乐部”也呈现快速扩容的态势,千亿级企业首次突破200家,达217家,净增23家。中国石化、中国石油、国家电网、中国建筑、中国工商银行、中国平安、中国建设银行、中国农业银行这8家企业的营业收入超过1万亿元。
分析榜单数据我们发现,一方面是企业并购重组频率增加,2020年中国企业500强合计报告并购重组次数1072次,比上年增加72次;另一方面是中国企业500强产业结构持续调整升级,现代服务业企业入围数量不断增加,在48家新晋企业中占据23家。榜单中服务业企业的收入利润率、净资产利润率,都明显高于制造业企业,也体现了如今行业发展的态势。
此外,2020中国企业500强合计投入的研发费用达10754.06亿元,同比大幅增长17.04%。华为以1315.59亿元投资额排名首位,阿里巴巴、中国石油、中国航天、中国移动、吉利控股、百度等进入前10。
从地域来看,500强企业分布最多的三个地区是北京、广东和山东。有47家鲁企进入本次榜单,包含3家来自青岛的企业。
47家鲁企上榜,青岛3家
2020中国企业500强中,共有47家鲁企上榜。山东能源集团有限公司以3584.97亿元营收位居山东第一、榜单第57位。
海尔集团公司、兖矿集团有限公司、山东魏桥创业集团有限公司、潍柴控股集团有限公司、山东钢铁集团有限公司、海信集团有限公司、中国重型汽车集团有限公司、山东东明石化集团有限公司、浪潮集团有限公司进入前十。
虽然本年度榜单中位列440名的山东省商业集团、山东齐成石油化工有限公司、晨鸣控股等都是首次进入榜单,但与去年相比,新华锦集团、瑞康医药、岚桥集团等却未进入榜单。
来自青岛的3家上榜企业分别为排名74的海尔集团公司、排名168的海信集团有限公司和排名299的青建集团。
其中,海尔集团公司2019年营收2661亿元。这家成立于上世纪80年代的公司,是青岛的“五朵金花”之一。在5G时代来临后,海尔旗下家电产品也在第一时间进行转型,智能一词逐渐成为海尔重要标签。2019年,海尔大家电占全球总零售量的14.7%,也占据了这个第一的位置长达11年。在疫情影响下的2020年上半年,海尔仍旧取得了957亿营收,相比去年同期仅下降1.6%。且海尔集团子公司海尔智家再次入围2020年世界500强榜单,排名上升13名,显示出其全球化的落地成果。
2019年营收1286.63亿元的海信集团,实现利润79.3亿元,同比增长24.17%。其中海外市场表现抢眼,实现收入461亿元,同比增长21.1%。旗下海信、容声、科龙、Toshiba、Gorenje和ASKO全球多品牌齐头并进,十几家公司实现了收入和利润同比双增长,并新增两个规模过百亿公司。
在国内,2019年海信电视55吋及以上大屏电视市场份额高居市场第一,进一步夯实了电视行业持续15年市场排名第一的地位;在海外,2019年海信国际营销海外品牌收入同比增长16.22%,利润总额同比增长54%,取得历史最好成绩。在此前发布的2020年中国对外贸易500强排行榜中,海信排名第63位。
排名299的青建集团,堪称岛城建筑企业的“排头兵”。虽然本次并未进入“千亿俱乐部”,但也取得了651.51亿元的营收,在日前公布的2020中国民营企业500强榜单中排名116位。2019年间,青建集团不断推进智能建造,发挥集团在新加坡建筑工业化的技术和经验优势,借助国内专家把握行业发展趋势,推动国内建筑工业化发展。
值得一提的是,公司为了推进行业生态建设,搭建起了优材优建电商平台,2019年撮合交易额约15亿元,入驻供应商约1500家。在2019年度美国《工程新闻纪录(ENR)》“全球最大250家国际承包商”榜单中,青建集团等10家山东企业上榜,在各省份中排名第一。
作为青岛发展的重要支柱,企业一向是青岛扶持的关键。从老“五朵金花”到新“五朵金花”,一大批企业、企业家在竞争中成长,随着城市的改革而进步,随着城市的开放而向前。
青岛企业占据“C位”
多家企业入围2020中国企业500强,一方面体现出的是青岛企业所具有的竞争力。
在青岛看来,企业、企业家是青岛发展的关键。正因如此在2019年9月的企业家暨“双招双引”大会上,企业家们被安排在“C位”。山东省委常委、青岛市委书记王清宪表示,青岛是制造之都、品牌之都,后盾都是企业,企业的灵魂是企业家。青岛的开放发展,企业家是主力军、是操盘手,是青岛这座城市引以自豪的底气。
事实也证明,青岛城市的发展,每一步都有企业的助推。正因如此,近年来青岛不断推出有利于企业发展的政策,如2019年青岛推出了青岛市企业服务平台、企业政策服务平台和企业大数据平台,为企业提供各方面的支撑,促进其发展。
但另一方面来看,回到榜单、对标全国而言,在本次榜单中服务业企业表现亮眼之时,青岛仍然没有服务业企业登上榜单。意味着青岛仍然需要进一步学习上海、学习现代服务业,发展人工智能、软件业等现代服务业,积极适应时代变化。
此外,本次“千亿俱乐部”比上年增加了24家,但青岛仅有海尔集团和海信集团入围,排名其后、营收651.51亿元的青建集团距离目标也仍然还有一段距离,断层较为严重。如何激发市场主体活力、让企业适应高质量发展要求,在提高产品质量和服务水平上下功夫,从而培养出下一个“千亿级”企业,则是留给城市的命题。






