南极熊导读:全球范围内,SLM类的金属3D打印机,激光器的数量越来越多。如果N年后,技术发展到使用100个甚至更多的激光器来同时烧结金属粉末材料,速度效率、成本得到质的飞跃,那么会不会真的颠覆金属加工行业呢?

△南极熊假想图:近百个激光器的超级金属3D打印机
此前,南极熊报道过这家金属3D打印领域的初创公司Velo3D,凭借无需支撑的金属3D打印技术,Velo3D累计获得1.5亿美元(约合10亿人民币)融资,而且设备已经销售到多家航空航天公司(如SpaceX、Honeywell),以及石油天然气客户。如今,Velo3D再次取得技术的重大突破!
△传统金属3D打印需要支撑(左),VELO3D则无需支撑(右)
无支撑金属3D打印“卡脖子”技术公开,VELO3D累计获10亿元融资
2020年10月21日,南极熊获悉,金属3D打印机制造商Velo3D宣布,推出了新型的8激光器Sapphire(蓝宝石)XC金属3D打印机。
Velo3D表示,这款机器已经接到了13台预订单,与之前的Sapphire机器相比,新设备打印每个零件的成本可以降低75%,效率产能增加了500%。Sapphire XC的特点是拥有一个φ600mm x 550mm的打印仓,并配备了8个1000W激光器。据南极熊了解,这是市面上首台公开发布的8激光器金属3D打印机。
△Sapphire XC的打印尺寸为φ600mm x 550mm (对比Sapphire的尺寸为φ 315mm x 400 mm )
虽然新系统发布了,但是交付需要等到2022年第一季度。在此之前Velo3D将忙于制造和交付已经订购的金属3D打印机。
Velo3D的创始人兼CEO Benny Buller表示:"在不需要支撑结构的情况下,3D打印更大的金属零件,对许多工业终端用户来说非常有吸引力。客户将首次能够在大尺寸系统中3D打印任何的几何形状,零件质量有着绝对的保证。大型金属部件的质量保证至关重要,因为一旦打印失败将会造成非常大的经济损失(例如某个大型零件打印了30天,却在最后一部分出现问题,导致整个零件作废,不但损失了材料,还耽误了零件交付进程)。"
△Sapphire XC拥有8个1000W的激光器 (对比Sapphire拥有2个1000W的激光器)
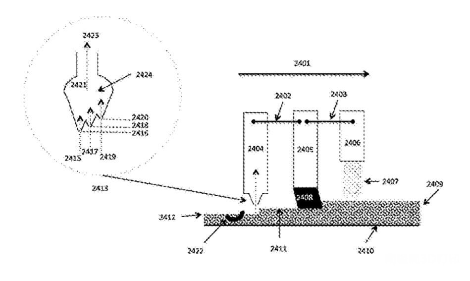
正如在之前的报道中所提到的,Velo3D开发了一种无需支撑结构的激光粉末床融合(PBF)的技术,用于3D打印金属部件。这是通过基于模拟的打印准备软件、高度控制的打印室气氛和闭环控制的结合来实现的。
△无支撑金属3D打印专利结构之一
新的SapphireXC系统,南极熊预计将对3D打印行业产生相当大的影响。Velo3D通过在全球范围内快速部署,取得了大进展。高生产率加上较少的支撑结构意味着,对于一些特别领域的零件,Velo3D的技术非常有吸引力。到目前为止,这家公司已经决定将重点放在航空航天领域,并将进一步在石油和天然气行业进行推荐。
Velo3D通过分析和监控,拥有远超其他金属3D打印厂商的熔池和工艺控制能力。作为一家硅谷的初创企业,Velo3D认为改善制造的最佳路径是通过更好的软件和优化。
从新机器的预付订单来看,客户企业愿意下大本钱来购买使用这种新技术。Velo3D一跃成为PBF(粉末床金属3D打印)的主流厂商。
此外,新设备可用的材料有:F357铝,、钛合金、 Inconel 718和Hastelloy X。 Inconel 718是一种航空材料,特别适用于燃气轮机部件的材料。同时,Hastelloy X与Inconel 718一样,也是一种镍基超级合金,用于石油和天然气加工零件。
Velo3D有一份 "Velo3D "认证的材料粉末清单,但材料体系也对外公开的,客户可以使用自己的材料。
钛合金是最常用的材料,其他两种材料支撑了Velo3D的能源和航空航天应用。F357铝材是与PWR公司合作开发的3D打印材料,PWR公司是一家动力单元散热器、中冷器公司,产品被广泛应用于赛车领域。EOS也有F357,GE的AP&C也有。SLM Solutions也和Honeywell做了一个F357的项目。Sintavia 公司提供这种材料的零件。
F357铝可以焊接、阳极氧化和涂层,也许可以为空间应用和进一步的增强隔热涂层。这种材料也将是汽车轮毂和底盘部件的选择。但是,无论是在商用和军用航空领域,还是在导弹等应用中,F357都将是制造金属结构件的理想选择。
除了新机器,Velo3D还宣布旧系统可以升级。之前的Sapphire将在2021年第二季度通过硬件和软件升级升级到Sapphire Gen 2系统。升级后的系统与当前的蓝宝石系统相比,生产力和部分成本指标将有10-50%的提升。
Velo3D还表示,Sapphire XC使用了与Sapphire 相同的光学设计,重涂机,气流,控制和监视功能。
总而言之,Velo3D在金属3D打印行业再次取得重大进步,并将推动其它同行公司的发展。
多激光金属3D打印趋势
南极熊注意到,随着产业化应用的深入,下游客户对打印速度和效率的要求越来越高,各大SLM技术类的金属3D打印机厂商都在往多激光方向发展。无论是国外的EOS、SLM Solutiuons等,还是中国的铂力特、华曙高科、汉邦科技、易加三维、中瑞科技、鑫精合等一批厂商,都已经纷纷推出2激光、4激光的金属3D打印机,逐渐成为每家金属厂商的必备产品。
Velo3D的8激光金属3D打印机已经推出,甚至德国SLM Solutiuons准备在2020年11月份推出超过10个激光器的新款设备(南极熊届时将做重点报道和直播,敬请关注),产业发展非常迅猛。








