这同样是一哥们丢给我的问题,它问到为现代军用步枪几乎都是导气式+枪机旋转闭锁,似乎很单调。而且现在除了给步枪加上导轨以便于配上战术附件之外,也没有什么太革命性的发展,这是为啥。

确实啊,至少在70年代,突击步枪的花样都很多。有AK这种长活塞+转栓的,也有FAL这种短活塞+枪机偏移的,当然没这些都还是导气式,非导气的也有,比如FAMAS这种杠杆延迟半自由的,G3这种滚柱延迟半自由的。再往前去的话,我们还能发现诸如雷明顿8这种枪管长后坐的,约翰逊这种枪管短后坐的,利贝罗勒这种自由枪机式的,但为啥后来都被导气+转栓大一统了?这得从其他原理的毛病去说,一个个来。
(雷明顿8)
先说自由枪机,这种原理是出了名的闭而不锁,只是依靠枪机本身的质量来抗子弹发射时的后坐力。由于枪机本身比弹头要重得多,因此子弹会以极高的速度飞出去,但枪机后退的速度则慢得多,因此等到膛压降下来之后,枪机才堪堪把弹壳拉出来。不过这就带来一个问题,如果子弹装药,膛压很高,这枪机就会提前打开,结果就是弹壳炸裂,燃气从后方喷射手一脸。解决办法是加重枪机,而且得非常重,这么一来得不偿失,所以自由枪机适合冲锋枪和手枪,但不适合步枪。
枪管后坐式是最早出现的自动原理,它可以搭配肘节、卡铁起落、枪机偏移、转栓、转管等几乎所有闭锁形式,但问题就出在枪管后坐这个问题上,不管是长后坐还是短后坐,它的枪管都是活动件。而活动件在每次运动复位后必然有误差,而且非固定件在子弹发射时的震动频率也往往不一。所以枪管后坐可以用在不怎么讲究精度的手枪和机枪上,但步枪不行,它是靠精度吃饭的。
既然自由枪机不适合步枪弹,枪管后坐精度不好,那么还有啥选择呢?导气么?
确实,第一把成功的半自动步枪就是导气式,玩战地的哥们应该很熟,蒙德拉贡步枪,而且它是转栓式闭锁。但当时很多国家并没觉得这种结构能在将来成为主流。其中一个原因是导气式步枪得在枪管上开孔,而开孔同样会导致精度下降,虽然没有枪管后坐的精度那么离谱,但同样人不少人不爽,所以在20世纪上半叶出现了不少枪管集气式武器,比如丹麦Bang步枪,刘将军步枪,G41步枪,早期加兰德等等
(图为加兰德的枪口集气套)
集气式也算导气式的一种,但它不需要在枪管开孔,而是通过用集气罩捕捉膛口燃气来推动活塞,不过事实证明,枪口集气罩非常容易脏,可靠性很差。当时还有另一个流派,半自由枪机,但早期比如毛瑟M1916、佩德森步枪这类半自由枪机还不成熟,尤其是抽壳方面很糟糕,对灰尘也极其敏感,但二战时期德国人发现了滚柱式半自由枪机似乎是个不错的方向,这也继而引出了战后的CETME和G3步枪以及滚柱家族。
由于滚柱半自由没有那套导气活塞机构,枪管不用开孔,因此理论精度是挺好的,好歹德国人也用这套结构造了PSG这类半自动高精狙。但造步枪时就不可能用上这么好的工艺了,所以精度就这么回事儿。而滚柱闭锁毕竟不是刚性闭锁,因此天依然存在枪机重、后坐高、拉机柄硬等问题,而且滚柱也会磨损,需要枪机后坐缓冲器,需要枪机防跳钩,这也导致省下来的那套导气成本又加回去了。
另一方面,法国FAMAS的和G3有着同样的后坐过大,抽壳困难等问题,抽壳上FAMAS和G3一样,都在弹膛上刻槽,以让燃气在弹膛和弹壳间形成气垫的方式避免过度贴膛。但FAMAS作为无托,这弹膛槽容易让燃气从抛壳口喷出来熏眼睛。同样的,FAMAS虽然没有在枪管上开孔,但单发精度同样不理想(不如同期的导气式)。另外,半自由枪机在糟糕环境下的可靠性不咋地,尤其是风沙泥浆这类异物进入机匣之后很容易导致延迟开锁机构出问题。
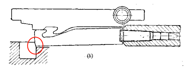
再谈闭锁,STG44、FAL、SKS这类导气式武器都采用了枪机偏移式闭锁,虽然成本比较低,但它闭锁面是在单独一侧的,比方下边红圈处就是SKS的闭锁支撑面。
这就导致了闭锁支撑不对称,精度不如闭锁对称的旋转式枪机。另一方面,枪机偏移式的支撑面在机匣后方,这就得让机匣做的比较厚实来承力,而转栓闭锁面在节套上,这么一来机匣就能做的比较薄,轻便。说白了,以前用转栓比较少,而且多数是机枪(比如ZB26、MG34)就是因为转栓+自动机比较贵,但后来生产力上来了,转栓就成标配了。
简单的做个总结就是,自由枪机承受不住步枪弹;半自由枪机其实和自由枪机一个路数,但靠一些机构延迟了开锁时间,但机构比较金贵,可靠性不足,而且后坐大、精度也没有提升;枪管后坐式太影响精度;所以导气式就成了最佳选择(不管是直接气吹还是长短行程活塞)。闭锁方面转栓一直都是非常可靠,精度优秀的闭锁方式,但早期出于成本考虑因此没多用,但等到生产力提高了,转栓没有成本问题了,那就普及了。(当然,还有契紧问题的解决,不过这聊起来就复杂了,我也一知半解,所以不嫌丑)









