想问问iPhone用户,截至目前,你用烂了几条Lightning数据线呢?
即使是原厂的Lightning线也有一直为人诟病的问题,价钱比较贵,并且还不耐用。
很多iPhone用户应该都面临过这样的问题:iPhone原装的充电线很容易损坏,线材包材容易发黄破损、露出裸露的导线……

为何iPhone的原装充电线不耐用?
原因有很多,比如官方充电线Lightning金属触点容易氧化导致充电出现问题,在iPhone 12上苹果还对此进行了升级。
另外官方的充电线采用了可降解的材料做包材而非塑料,这种材料更容易出问题,线材容易发黄,在友商大力宣传充电线耐用的今天,苹果充电线的质量不堪一击,很容易出现“蜕皮”现象。当然,采用这种材料的好处就是可以环保。
现在,终于有苹果准备着手解决这个问题的迹象了。
近日来自外媒 appleinsider 的消息,苹果最新公开的一项专利展现了数据线开裂问题的解决办法。
据悉,其它品牌为了解决数据线末端的易坏问题,使用加粗数据线末端的方法来提高强度。但苹果为了美观,选择了全新的设计。这项专利使用强度更高的材料覆盖电缆末端,并且这种材料慢慢变细,实现柔韧性的连续变化效果。这种方法既能保证数据线末端的强度,还不会影响到美观。
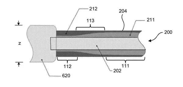
该专利名为“具有可变刚度的电缆”。
具体来说就是:
电缆可以包括一个由具有均匀厚度的外套管包围的电缆芯,它还具有第一刚度的第一纵向部分,具有第二刚度的第二纵向部分,以及在第一和第二纵向部分之间的第三纵向部分,其中第二刚度较大。而 第三纵向部分的刚度在第一刚度和第二刚度之间变化,真正的作用是扩大了电缆的应变能力。
专利申请的大部分内容描述了不同的可能材料,也试图定义刚度。例如,最小弯曲半径,定义为电缆在不发生扭结的情况下可以弯曲的最小半径,是电缆刚度的一个众所周知的衡量标准,最小弯曲半径可以相对于电缆直径来定义。增加弯曲半径对应着增加刚度。根据特定的电缆设计,最小弯曲半径可能是例如电缆直径的8至12倍。
用户呼吁了这么多年,终于想起要解决了,也是不容易。
(编辑:崔丽容)



