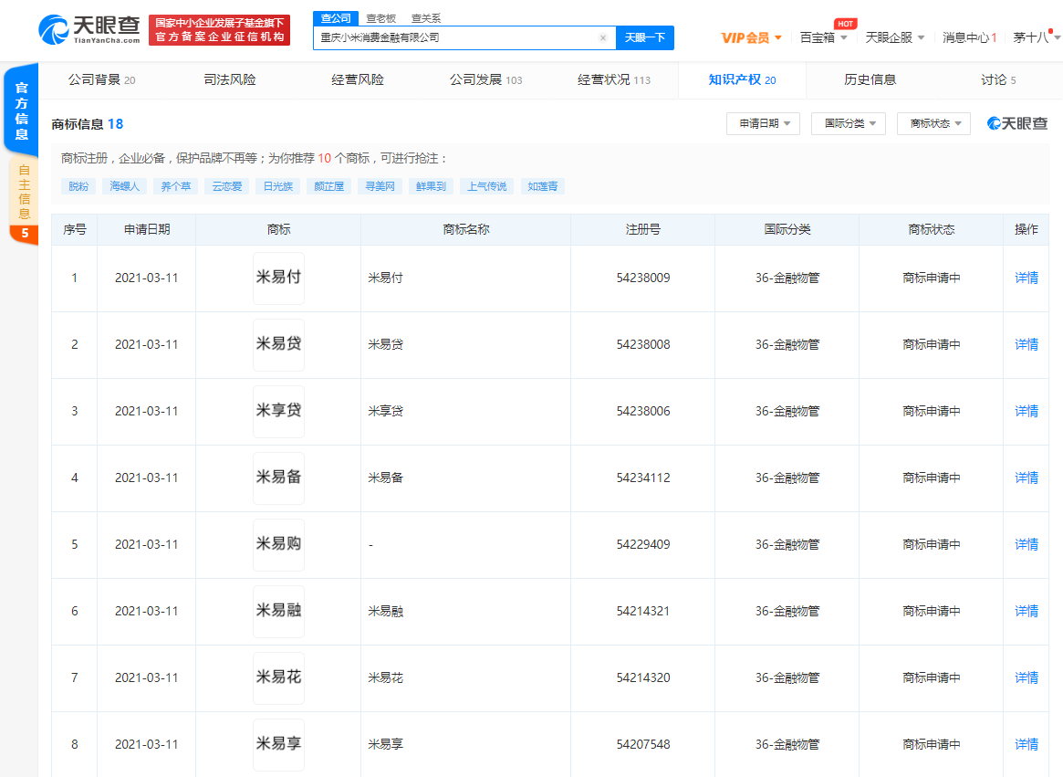
【环球网综合报道】天眼查App显示,近日,重庆小米消费金融有限公司申请注册“米易付”“米易贷”“米易融”“米易花”等多个商标,国际分类为金融物管,商标状态均为“商标申请中”。

重庆小米消费金融有限公司成立于2020年5月,法定代表人为洪锋,股东信息显示,该公司第一大股东为小米通讯技术有限公司,后者为Xiaomi H.K. Limited的全资子公司。
【环球网综合报道】天眼查App显示,近日,重庆小米消费金融有限公司申请注册“米易付”“米易贷”“米易融”“米易花”等多个商标,国际分类为金融物管,商标状态均为“商标申请中”。

重庆小米消费金融有限公司成立于2020年5月,法定代表人为洪锋,股东信息显示,该公司第一大股东为小米通讯技术有限公司,后者为Xiaomi H.K. Limited的全资子公司。
“特别声明:以上作品内容(包括在内的视频、图片或音频)为凤凰网旗下自媒体平台“大风号”用户上传并发布,本平台仅提供信息存储空间服务。
Notice: The content above (including the videos, pictures and audios if any) is uploaded and posted by the user of Dafeng Hao, which is a social media platform and merely provides information storage space services.”