京东方作为全球闻名的面板巨头,拥有强悍的研发能力。自研柔性AMOLED解决了传统AMOLED出现的大斜视角度下的白光色偏问题,提供了更好的视觉体验。
芯研所6月21日消息,面板巨头京东方(BOE)近日在接受机构调研时透露,成都、绵阳等地的第6代柔性AMOLED生产线,已经武汉的第10.5代TFT-LCD生产线均按照先前拟定计划进行生产,目前正处于产能爬坡阶段。

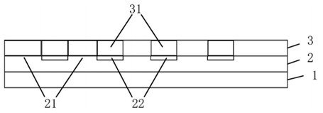
图片来源网络(芯研所采编)
据了解,AMOLED屏由于具有色域广、分辨率高、可单独控制每个像素等优点,在终端应用范围日益扩大,尤其AMOLED大尺寸面板在终端市场占比越来越高,如大屏手机、笔记本电脑、车载仪表显示等。
随着面板尺寸增加,用户观看显示屏幕的视觉角度相应变大。传统AMOLED显示屏观看角度增大,白光色偏的问题逐渐显示出来,不仅降低了AMOLED显示屏的使用性能,同时也非常影响用户使用体验。
为此,京东方(BOE)在2021年1月26日申请了一项名为“一种AMOLED显示屏及其制造方法”的发明专利。该方案在平坦层上设置了中间层,通过对中间层的表面粗糙度进行处理,使得设置在中间层上的阳极层能够在具有较好的反射和透射效果。既增加大角度下反射和透射的光,也解决了AMOLED显示屏大角度下白光色偏的问题,从而提升了产品性能。
具体来说,京东方所申请专利中,AMOLED显示屏结构包括:平坦层(1)、中间层(2)、阳极层(3)。其中,中间层21区域的粗糙程度要小于22区域。同时22区域的表面粗糙程度大于平坦层(1)。
平坦层(1)具有较为光滑的特性,因此,在平坦层(1)上设置阳极层(3)后,阳极层(3)也较为光滑,因此能够经阳极反射出来的光也越多,正面从阳极反射和透射出来的光也越多,发光效率也越高。
基于R色、G色和B色的不同波长特点,调整的表面粗糙度为R色像素和B色像素对应中间层的区域,而不增加G色像素在中间层上对应的区域的表面粗糙度。这样,通过提高大角度下预定类型像素亮度,以及降低大角度下的预定类型像素亮度衰减,就能够有效改善大角度倾斜观看的白光色偏,从而提高大视角倾斜观看的色彩精度。



