最近新车曝光的非常多,这里面就有很多款重磅车型,其中一款可能大家期待已久的,那就是全新汉兰达。今天,我们从广汽丰田官方获悉,全新汉兰达发布上市,此次提供6款车型可选,售价区间为26.88-34.88万元。

这个价格有无诚意大家对比现款,加价可能会存在,网络上都在说这个事情,但是令《懂车之道》担心的事情却来了,倒不是它后面要不要加价的问题和此次发动机只烧92#汽油,是不是发动机技术落后的问题。因为我们觉得,赚钱不容易,加钱买一台日系家用车,真的不太理智,我们关心的问题那就是全系搭配2.5L双擎动力系统。
之前大家最关心的是价格,但是这一次发布之后,一部分理智的消费者关注的焦点就在2.5L双擎发动机会不会存在机油乳化的问题?关心动力也正常,记得当年汉兰达爬坡门事件,就不难理解了。
国内丰田车型不同程度的出现机油增多、乳化现象,主要集中在了混动车型上。去年到今年一整年,大量关于丰田RAV4、亚洲龙、雷克萨斯ES、凯美瑞、威兰达混动车主在网络上吐槽,说对丰田失望了,广汽丰田和一汽丰田它们的车型出现了不同程度的机油增多或者乳化现象。关键是出了这么大的问题,丰田中国至今也都没有给出合理解决方式。
动力方面,现阶段推出的6款车型均搭载2.5L混动系统(2.5HEV)。其中2.5L发动机,最大功率为192马力(141kW),峰值扭矩为238牛·米,传动系统方面,匹配了E-CVT变速箱。电机方面,两驱版车型搭载134kW的电机,四驱版配一个40kW的后电机。总体上,这套HEV动力系统的综合输出功率为249马力(183kW)。
据相关机构获悉,丰田国产车型出现机油增多、乳化问题的车型均搭载了丰田Dynamic Force Engines发动机,该发动机具备低压气管喷射+D-4S高压缸内喷射的混合喷射系统。丰田官方对其的描述为混合喷射技术,能够依据不同工况来调节喷射模式,使发动机能够具有较高燃油经济性和动力性能。节能减排是企业的应该做到的,但是这项技术的副作用,已经影响到消费者正常使用了,这就不合理了。
广汽丰田凯美瑞2.5L双擎 现机油乳化
一汽丰田亚洲龙 2.5L双擎 现机油乳化
广汽丰田威兰达 2.5L双擎,现机油乳化
一汽丰田RAV4荣放 2.5L双擎 机油乳化
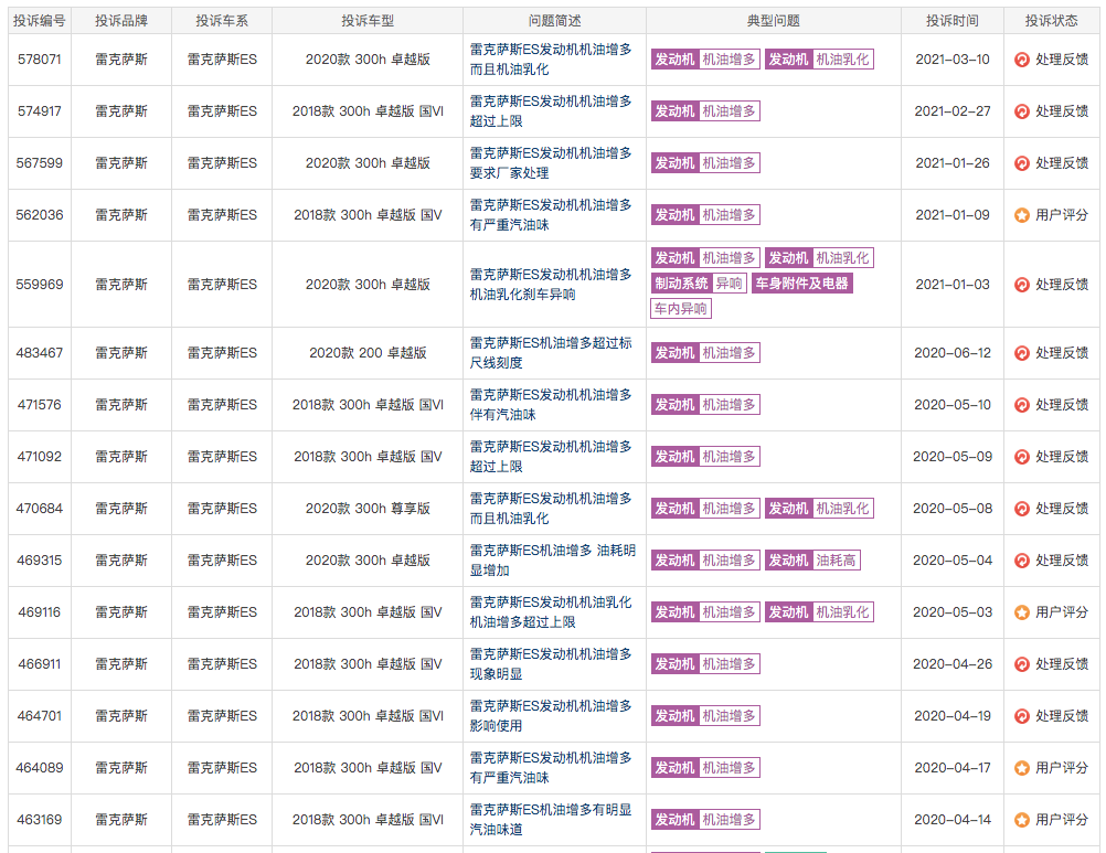
雷克萨斯ES 2.5L双擎,现机油乳化
我们觉得不一定是发动机型号问题,机油乳化的问题可能就是丰田双擎技术上的缺陷。当然目前也只是猜测,但是这个机油乳化问题始终存在国产丰田的车型上,非常普遍,丰田中国一直视而不见,中国消费者也是十分的诧异。
而作为广汽丰田的走量车型,全新汉兰达竟然全系都搭载受质疑的2.5L双擎动力系统,这一点我们完全没有想到,北美版本除了这个2.5L双擎动力系统之外,还有一套3.5L V6的燃油版本动力系统,之前北美市场也召回了,因为燃油泵出现隐患。
网友:现在的汉兰达是怎么了,可靠性还能行吗?
我们再来看一下全新一代汉兰达车型。
外观上,新车的设计大家肯定都十分熟悉了。北美市场早在2019年就发布了,国产版于今年4月的上海车展期间亮相了,大家还是很满意它的整体设计,新车出自TNGA-K平台打造,第一眼感觉,新车整体设计上相比于现款车型要更有肌肉感。
前脸方面,大嘴式的进气格栅变得协调了,丰田LOGO周围采用了飞翼式的镀铬装饰,配合全新的前包围,新车看上去要更加顺眼了,这和2000年在北美初代上市的汉兰达给人感觉印象都是一模一样的,这类城市SUV拥有更高视野、更强通过性以及如轿车般舒适性,这也是大家选择汉兰达在国内热销的原因,这个级别。
值得表扬的是,全新汉兰达全系标配LED头灯。改进了老款卤素低廉的感觉,新车在我们看得到的地方下足了功夫,几乎清一色的LED灯源,真的下了血本,LED日间行车灯、LED前雾灯、LED尾灯。根据配置不同,尊贵版和至尊版,搭配阵列式的LED大灯。
20英寸轮圈第一次出现在汉兰达上,与车身肌肉感十足的线条一搭配,新车还是挺耐看的。
车尾部,紧致的尾灯造型与车身线条相结合。排气也只是采用单边单出,也没有任何的排气装饰,你可以说它是家用属性,也可以说丰田策划节约成本到不太在意细节。
内饰方面,全新汉兰达不会带来太多惊喜,但的确时尚不少。中控造型很有特点,悬浮式的造型设计时尚且个性,用料相比上一代车型也有不小提升。数量不少的实体按键可以更好的保证行驶过程中操作的安全性和准确性。中高配车型上的12.3英寸的中控屏幕和新款RAV4上的一样的设计,都存在一个问题,就是遮挡视线,加上汉兰达比RAV4大。影响的程度会更高,大家去店里看车的时候要留意这个缺陷。
新车空间上的变化,相信是大家比较在意的,新车的尺寸变大了,虽然不如大众途昂大,新车的长宽高为4965/1930/1750mm,轴距为2850mm,这样带来的直接变化,就是车内座椅造型宽大,前两排座椅的乘坐舒适度都表现不错,不过第三排就比较局促一些。空间方面,我们去店里看了实车,第三排座椅就是鸡肋,不能长时间乘坐,就是短途应急没问题。
具体来看,全新汉兰达顶配车型拥有12.3英寸的全液晶仪表,HUD抬头显示系统、11扬声器的JBL高级环绕音响系统、HiCar/Carplay/Carlife手机互联功能、语音交互、语音控制车辆、导航、4G网络、OTA升级等功能,从顶配车型来说,配置还是很高,但是看中低配,就显得十分寒酸了,日系车现在就是这样的配置布局。
至于这台车的更多体验,我们后期拿来新车和大家解读,它的具体表现。
小编有话说:
不用说,汉兰达还是有热度的,毕竟前几代汉兰达以前的好口碑还是有号召力的,这次混动价格也在合理区间,可以说拿出了诚意。我们认为诚意和技术缺陷,不是一个事情,理智的消费者得把握好。我们担心的是,热卖之后,新车的机油乳化问题会不会突发。我们根据网友的质疑,我们也只是猜测和担忧,但是从过去的丰田国产的所有搭载2.5L双擎的车型都出现机油乳化问题,全新汉兰达的确让我们捏了一把冷汗。这一代广汽丰田第四代汉兰达一推出,给了我们惊喜,也给我们留下了不少担忧。




















