前言:
过去射频芯片较多被国外巨头厂商所垄断,近几年在政策和市场的支持下,不少优秀的射频芯片企业逐渐发展起来。
作者 | 方文
图片来源 | 网 络
近一个月国内射频芯片市场密集IPO
过去一个月,射频芯片市场经历了一段小高潮,四家企业IPO有了最新进展,多家企业完成了融资。
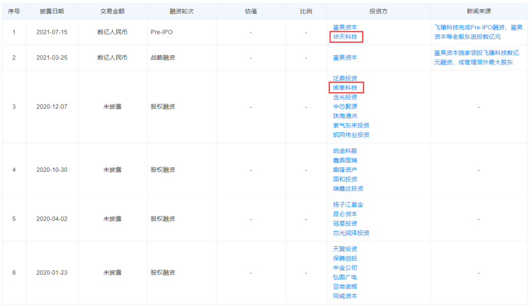
①飞骧科技:6月16日,中金公司宣布,已对飞骧科技进行上市辅导,并在深圳证监局备案。
随后飞骧科技完成Pre-IPO融资,鋆昊资本等老股东本轮追加投资额数亿元。
本轮投资方包括鋆昊资本等老股东,融资金额数亿元,值得注意的是,上游供应商华天科技也参与了本轮融资。
飞骧科技的前身是国民技术无线射频事业部,专注于射频前端芯片,产品有功率放大器芯片、开关芯片、滤波器芯片以及射频前端模组等。
产品兼容高通、联发科、展讯、瓴盛、翱捷、中兴微等所有国际及国产平台,客户覆盖知名手机品牌和ODM厂商,包括华为、中兴、小米、索尼、诺基亚、传音等,终端产品销往五大洲,至2017年射频产品累计出货量超数亿颗。
去年6月,该公司正式发布了一套完整的5G射频前端方案。
射频前端结构2020年6月,飞骧科技正式发布了一套完整的5G射频前端方案,是第一套完整支持所有5G频段的国产射频前端解决方案,也是第一套采用国产工艺实现5G性能的射频前端模块。

②唯捷创芯:6月21日,唯捷创芯在上交所申请科创板上市获受理,由中信建投证券为其保荐机构,拟募资24.87亿元。
本次IPO,唯捷创芯计划公开发行不低于4008万股,所募资金扣除发行费用后将有24.87亿元,将主要用于集成电路生产测试中心、研发中心建设和补充流动资金三个项目。
唯捷创芯是中国射频功率放大器行业的中坚力量,其4G射频功率放大器出货量位居国内第一。
从股权结构来看,联发科的子公司Gaintech持有公司29.87%的股份,是公司的第一大股东,此外华为的哈勃、OPPO、VIVO、小米也纷纷入股,分别持有3.57%、3.39%、2.61%、1.74%的股份。
③好达电子:6月30日,上交所受理了好达电子的科创板上市申请。根据招股书显示,好达电子拟募资9.6亿元用于投入研发中心建设、声表面波滤波器扩产建设项目及补充流动资金。
好达电子的股东中有华为和小米的身影。2020年5月,小米长江产业基金投资了好达电子,持股比例6%,同年1月,华为哈勃参与好达电子战略融资,融资规模未披露。
同时,好达电子也是小米和华为的供应商。好达电子的招股书显示,2019年,公司对小米销售单价低于对非关联直销客户销售平均单价8.81%。
无锡市好达电子股份有限公司主营业务是声表面波射频芯片的研发、生产和销售,主要产品有滤波器、双工器和谐振器。
目前有15000平米的净化厂房,有能生产0.25um微线条芯片生产线,有能生产CSP倒装产品封装的生产线,可生产产品尺寸为1.6*1.2的双工器、0.9*0.7的滤波器。
④国博电子:同样在上个月,国博电子首次公开发行股票并在科创板上市辅导工作总结报告,继1月份辅导备案登记后,国博电子科创板IPO再进一程。
国博电子隶属于中电科第五十五研究所,专业从事射频微波模块及子系统研发、生产和销售。
目前国内本土竞争对手提供的芯片产品趋于同质化,从而会出现价格下降,行业利润缩减等现象。
此外值得注意的是,国博电子正在建设一个总投资超30亿元的重大项目。
2018年国博电子在南京江宁开发区启动了[射频集成电路产业化]建设项目,该项目被列为南京市重点建设项目;
2019年被江苏省列为省级重点建设项目,项目投资超过30亿元,占地200亩,针对5G及新一代移动通信应用的射频集成电路,进行覆盖设计、芯片制造和封测的全产业链建设。
⑤超材信息:7月初,超材信息宣布完成A3轮融资,这已经是今年以来,超材信息的第三轮融资。
消息显示,独立自主开发的EDA软件2021年2月正式部署到云端,自此实现全球研发资源实时协同。
超材信息成立于2017年,是一家专注于高性能射频前端SAW滤波器产品的研发与销售的高新技术企业,产品覆盖4G、5G和物联网等领域的Tx滤波器和双工器。
2018年6月,超材信息完成天使轮融资;2020年9-12月,连续完成Pre-A1、Pre-A2、Pre-A3轮融资;2021年3月,完成A1轮融资;2021年5月份完成A2轮融资;2021年7月完成A3轮融资。
截至目前,共有48家射频相关企业获得融资,投资机构涵盖了中金资本、红杉资本中国、小米长江产业基金、深创投等机构,以及韦尔股份、长盈精密、卓胜微电子、信维通信、春兴精工等手机概念股企业。
射频芯片核心部件国内暂无替代
想要获得更高的利润,面向高端,面向5G是必经之路。
在射频前端领域,国外高通等公司市场份额较高,技术较为先进,占据了较高的市场份额。
目前射频芯片,特别是5G射频芯片市场是被美国和日本占据的,国产化难度较大。
以前华为使用的是美国的思佳讯,后来也使用了荷兰恩智浦和日本村田的射频芯片。
因为5G的射频要向下兼容4G/3G/2G的频段,滤波器、PA(功率放大器)、开关等器件的使用数量急剧增多,所以就会走向射频集成的道路。
今年下半年是国内射频前端芯片大幅度起飞的开始,Vanchip、国民飞骧、smartmicro、汉天下等几家的5G分离式方案在OPPO、Honor、小米等手机厂商的立项数越来越多。
但到今年4月份后,美国要求所有涉及美方技术的供应链企业,不允许向华为的5G通信设备提供零部件,包括5G射频芯片组合和5G基带,华为只能买到4G射频芯片了。
而射频芯片并不是一颗芯片,是一个零件组合,包含滤波器、LNA(低杂讯放大器)、PA(功率放大器)、开关、天线调谐等,最核心的滤波器,华为没有攻克,国内也没有替代的。
所以导致明明华为P50,用着5G版的麒麟9000芯片,却只能当4G芯片用,因为没有5G射频芯片,无法转化发送5G信号,空有5G基带,发挥不了作用。
射频芯片的成本高昂,通常手机主板使用的射频芯片成本占整个线路面板的30%-40%,核心技术大多仍为美日厂商掌握,在此背景下,射频芯片的国产替代需求巨大。
在射频芯片领域的核心技术仍然掌握在美国的Avago、Skyworks、Qorvo三大巨头手中,并且这也是经过了很长一段时间的洗牌、整合之后形成的格局,在这样的情况下想要再入行变得尤为困难。
结尾:
射频前端芯片是我国对外依存度较高的领域之一,尤其在5G高集成度射频前端模组等前沿市场,目前国产替代还处于初期,与一线大厂差距明显。
不过可以看到,目前国内企业在滤波器和功率放大模组方面,都已经有相应的产品适用于5G领域。
接下来,各射频前端芯片企业还需要在各自领域积极发力,持续成长。
部分资料参考:《密集IPO,华为小米加持,射频芯片迎来黄金时代》,芯东西:《国内最大射频IC设计公司IPO获受理,联发科为第一大股东》,中国经营报:《5G加速落地 中国射频前端芯片厂商将迎重大发展机遇》
本公众号所刊发稿件及图片来源于网络,仅用于交流使用,如有侵权请联系回复,我们收到信息后会在24小时内处理。





