除了常见的碳纤维鱼竿、碳纤维体育制品外,碳纤维复合材料民用制品的应用形式还有很多。下面仅根据国内碳纤维制品商智上新材料所提供的实际案例,简单介绍一下碳纤维复合材料在座椅板这类场景中的几种应用:

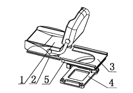
碳纤维航空座椅衬板
在航空座椅中应用碳纤维复合材料是客机比较常见的轻量化方式,但是具体的应用比例和设计差异较大。相关客户就曾在智上新材定制过一款碳纤维航空座椅衬板。该衬板作为座椅主承重结构的关键部分,结构占比较小,但需要承受绝大部分的座椅及乘客的重量。碳纤维复合材料的高强度能有效实现这样的承重需求,而且该衬板通过连接件可以在椅背倾斜时随之灵活移动,使乘坐者的身体形成合适的角度以减少物理张力,增加乘客的舒适度。

因为飞机对内部件材料均有严格的防火、低烟雾、低毒性要求,传统的环氧树脂基碳纤维复合材料并不适用于这种环境,所以智上新材专门添加了飞机专用的酚醛树脂以确保该座椅衬板符合FST性能要求。经测试,该座椅衬板至少可以服役6-8年,使用寿命较长,通过碳纤维的轻量化特征对节约飞机燃油,降低飞行成本也有积极作用。
碳纤维汽车座椅骨架板
很多环保节能型汽车开始使用碳纤维复合材料制作汽车座椅骨架板,碳纤维复合材料的耐疲劳性远高于钢和铝等传统金属材质。当轻量化的碳纤维材料应用于汽车时,最直接的作用就是节能、提速。据有关实验数据证明,车重每减小10%,油耗就能降低6%-8%,排放降低5%-6%,0-100km/h加速性提升8-10%,制动距离缩短2-7m。

车身轻量化还可以使整车的重心下移,车辆的运行将更加安全、稳定。除此之外,碳纤维复合材料还具有极佳的能量吸收率,碰撞吸能能力是钢的六到七倍、铝的三到四倍,这进一步保证了汽车的安全性。据智上新材介绍,正在量产的这款碳纤维汽车座椅骨架板也是该汽车品牌制造商利用人体工学的最新设计成果,乘客可以根据个人使用习惯进行个性化调整,在长时间驾驶或乘坐中获得更好的体验。
碳纤维轮椅座板
根据半截瘫患者特殊需求定制的这款碳纤维复合材料轮椅座板和靠背板,不仅能借助材料优势应对多种工作环境,而且可以显著提高残疾人的生活质量。

轮椅座板和背板不仅需要给用户提供长期安全的身体支撑,还要能灵活轻便地加以操纵和控制,重量更轻强度更大的碳纤维座板/背板更耐用、更可靠、更轻便,对改善轮椅使用者的活动能力和生活质量颇具意义。因为碳纤维复合材料制造需要严格的温控固化和繁复的工艺流程,原材料的价格也比较贵,所以这种碳纤维轮椅座板的成本价格更适于中高端市场,但是考虑到这种材料的座板可在水或体液腐蚀环境中持续使用,使用寿命也更长,所以无论是应用体验还是应用价值都足以抵消产品成本的增加。
(版权所有,转载时请务必保持内容的完整性并标明文章出处。)

