


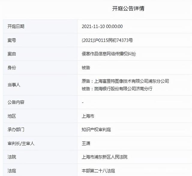
根据案号(2021)沪0115民初74373号开庭公告显示,因侵害作品信息网络传播权纠纷 ,原告上海富昱特图像技术有限公司浦东分公司将渤海银行股份有限公司济南分行诉至法庭,案件现由上海市浦东新区人民法院进行民事一审。

另据文号(鲁银监)罚字〔2019〕38号显示,渤海银行股份有限公司济南分行(法定代表人:金富祯)存在变相为房地产企业提供土地储备融资等行为,依据《中华人民共和国银行业监督管理法》第四十六条规定,山东银保监局对其作出罚款40万元的行政处罚决定。

资料显示,渤海银行股份有限公司济南分行成立于2008.10.24,注册地位于济南市历下区经十东路9777号鲁商国奥城3号楼1层101号,法定代表人为郑涛。经营范围包括经营中国银行业监督管理委员会依照有关法律、行政法规和其它规定批准的业务,经营范围以批准文件所列的为准;中国保监会批准的财产保险和人身保险(航意险及其代产品除外)(有效期以许可证为准)。(依法须经批准的项目,经相关部门批准后方可开展经营活动) #热点#
(来源:一点资讯山东)