本文转自【中国新闻网】;

记者:任思雨
最近,河南知名小吃“逍遥镇胡辣汤”被推上了风口浪尖。因为门牌上写了“逍遥镇”三个字,河南省焦作市的多家逍遥镇胡辣汤商户突然收到了法院传票,而起诉他们的,是河南省周口市西华县的逍遥镇胡辣汤协会。
开家胡辣汤店,也不能“任逍遥”?这一事件引发网友热议,21日,西华县胡辣汤产业发展中心发布情况说明,已责令协会暂停目前正在开展的工作。
多地逍遥镇胡辣汤店被起诉
逍遥镇胡辣汤,是起源于河南省周口市西华县逍遥镇的知名美食。据河南广播电视台民生频道《大参考》报道,最近,河南省焦作市多家胡辣汤店的老板收到法院的传票,起诉方均为西华县逍遥镇胡辣汤协会,原因是“逍遥镇”这三个字已经被协会注册了商标。
来源:视频截图
店主们找到法院询问,被告知可以选择庭前调解,而调解的主要解决方式就是需要加入逍遥镇胡辣汤协会,要想继续使用“逍遥镇”的牌子,每年要向协会交1000元会费,不然就得赔偿3到5万元 。
来源:视频截图
据介绍,这些胡辣汤店短则经营了七八年,长则经营了二三十年,店主们纷纷表示不解:“你要通知俺了,俺摘了不就妥了,我认为他就是敲竹杠。”“商标注册这么多年了,为啥中间一直不吭气呢?”
事实上,被起诉的胡辣汤店并非只在焦作一地。
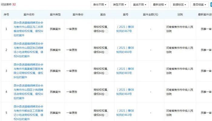
记者通过“企查查”查询发现,与“西华县逍遥镇胡辣汤协会”有关的民事案件有32件,而成为被告的胡辣汤商家涉及到焦作市、濮阳市、安阳市,且开庭时间多为2021年12月。
来源:网站截图
被起诉之后,店主们想出了各种应对措施:有的当天就去更改营业执照,有的去掉“逍遥镇”招牌,也有的选择去掉偏旁部首,留下“肖遥镇”等字样。
一些胡辣汤店担心被诉,也选择连夜拆除招牌。
一则视频在网上走红,开封一家胡辣汤店的年轻老板一度掩面哭泣,说这家店他们家已经开了25年,如今摘掉“镇”字,感觉失去了对家乡的思念。
来源:视频截图
逍遥镇胡辣汤协会回应
资料显示,西华县逍遥镇胡辣汤协会申请注册商标的时间是2003年,为何多年之后,协会突然要起诉这么多个体商户“侵权”?
据报道,西华县逍遥镇胡辣汤协会副会长高朋表示,前期发展主要是放任式,由于各种原因没有很好地规范化运作 。起诉的初衷是为了更好地规范经营,通过法律途径维护“逍遥镇”的商标权益,使逍遥镇胡辣汤产业得到更好的发展。
来源:视频截图
高朋表示,当下市场竞争激烈,产品如果没有规范化的操作和运营,确实对逍遥镇的品牌损害是比较大的,“加入协会之后,首先对技术不过硬的商户,我们会进行免费的重新培训,后期都是免费的,绝对不是‘割韭菜’。”
逍遥镇胡辣汤协会秘书长王磊华说,这次起诉的主要是跟逍遥镇没有关系的胡辣汤店,从中选择了一部分长期经营的、口味与逍遥镇相差甚远的店铺进行起诉。
对于为何要选择用起诉的方式,王磊华表示,法律手段是最直接、有效的办法,之前曾给一部分店铺发过律师函,希望对方自行去掉“逍遥镇”的招牌,但无人回应。
同时,逍遥镇相关负责人与王磊华都承认,他们的出发点是为了维护逍遥镇胡辣汤产业更好的发展,但这种做法的确有些操之过急,引发了网友误解和批评 。
来源:视频截图
用“逍遥镇”,为何侵权?
“逍遥镇胡辣汤”引起热议时,也有不少人疑惑,“逍遥镇”这个地名可以注册商标吗?
北京市中闻律师事务所合伙人、律师赵虎接受采访时说,根据商标法第十条规定,“县级以上行政区划的地名或者公众知晓的外国地名,不得作为商标……”而逍遥镇属于河南省周口市西华县下辖镇,所以“逍遥镇”是可以申请注册商标的。
来源:中国商标网
赵虎表示,如果“逍遥镇”是作为地名用于表示生产厂家地址时,属于正当使用;但如果“逍遥镇”商标注册在了第43类餐饮服务上,即他人在开设的饭店招牌或者牌匾上包含“逍遥镇”字样时,一般会认为构成侵权。
此外,根据商标法第五十九条,如果商户在“逍遥镇”商标被注册之前就已经使用这个名称,那他们在原使用范围内可以继续使用;但如果是在商标注册申请之后再使用,则有可能构成侵权。
来源:中国商标网
协会暂停商标维权工作
11月21日,针对逍遥镇胡辣汤协会对“逍遥镇”商标维权一事,西华县胡辣汤产业发展中心发布情况说明,称目前已责令协会暂停目前正在开展的工作。
说明中提到,“逍遥镇”三个字在2003年由逍遥镇政府作为胡辣汤品牌名称注册为商标。为了提升规范熬汤工艺与品质、保护注册的“逍遥镇”品牌,维护逍遥镇胡辣汤形象,今年4月,“逍遥镇胡辣汤协会”委托第三方公司开展了品牌保护工作。在与焦作等地经营户对接中,因沟通不充分、方法简单急切、服务培训流程操作性不强等原因,部分经营户不能理解支持,情感上更是难以接受,进而引发网友关注。
西华县胡辣汤产业发展中心还表示,胡辣汤不仅是逍遥镇的,更是全国人民的。欢迎广大网民多提宝贵意见建议,共同把这一舌尖上的美味维护好、经营好、推介好,让全国人民喝上口感更好、品质更优、卫生状况更佳、健康指数更高的逍遥镇胡辣汤。
你怎么看?










