近年来,随着人们生活水平的日益提高和生物科技的不断进步,人们开始重视自身健康与养生保健,于是昂贵的保健类产品开始被越来越多的中国家庭接受。但是,有不少保健品牌看准机会,打着“包治百病”“延年益寿”的旗号,伪装成“神药”,企图在兴起的养生保健商业大潮中分一杯羹。
近日,《消费者报道》关注到一款叫长生露的产品,其涉嫌虚假宣传、夸大功效,将自己包装成一款“包治百病”的“神药”。根据一篇宣传报道介绍,中健长生露生物科技股份有限公司(以下简称“中健长生露”)研发生产的“长生露”山药黄精复合饮品是一款新型抗衰老、保长寿的功能性食品,具有调控人体干细胞的DNA 复制、促进人体干细胞的分裂、恢复人体年轻的生命活力的作用,已成功挽救了无数濒临死亡的疑难杂症患者。

咋一看,这哪里是一款功能性食品,明明是一款治疗各种疑难杂症的“神药”啊!据《广告法》第十七条显示,“除医疗、药品、医疗器械广告外,禁止其他任何广告涉及疾病治疗功能,并不得使用医疗用语或者易使推销的商品与药品、医疗器械相混淆的用语”。
据天眼查数据显示,中健长生露成立于2020年8月14日,注册资本为1亿元,注册地址在山东省潍坊市安丘经济开发区青龙湖东路1号,法定代表人是陈聚宝,同时陈聚宝也是公司董事长、实际控制人。此外,中健长生露还有另一位企业股东山东长彤生物科技发展股份有限公司(以下简称“长彤生物”)。
据《消费者报道》查证,长彤生物也为陈聚宝旗下企业,成立于2011年9月26日,注册资本为1亿元,注册地址同样在山东省潍坊市安丘经济开发区青龙湖东路1号。据中健长生露官媒显示,长彤生物已于2021年1月24日起停止生产长生露所有系列产品,自此长生露所有系列产品均由中健长生露生产。
而在此之前,长彤生物就曾因虚假宣传遭到行政处罚。2018年5月31日,长彤生物因其生产的“长生露®山药黄精复合饮品”标签、说明书违反了《食品安全法》第七十一条第一款规定被潍坊市食品药品监督管理局没收查封并处罚款25万元。据《食品安全法》第七十一条第一款规定,“食品和食品添加剂的标签、说明书,不得含有虚假内容,不得涉及疾病预防、治疗功能。生产经营者对其提供的标签、说明书的内容负责。”
虽然长彤生物因虚假宣传被处罚,但是中健长生露依然涉嫌对长生露功效进行虚假宣传。据中健长生露官网显示,中健长生露“主要研发生产国家抗衰老领域著名生物学家蒋松柏教授自主知识产权(国家发明专利号:ZL2005100031849.6)抗衰老的药食同源产品‘长生露复合饮品’”,突出强调了长生露的抗衰老属性以及药食同源属性。
同时,中健长生露董事长陈聚宝也在公开场合多次表示,其父亲2010年被诊断出患有白血病,后经多方寻医问药得知蒋松柏教授,于是其父亲在服用蒋松柏提供的长生露后病情得到缓解,体重也增长了,寿命也延长了。
那么,长生露是否真的具备抗衰老、延长寿命的功效?
对此,《消费者报道》11月5日给中健长生露方面发去了采访函,但截至发稿并未收到官方对采访问题的回应。
同时,《消费者报道》记者通过电话联系到了中健长生露,中健长生露方面表示没有时间接受采访。
中健长生露不具备药品生产资质,长生露实为风味饮料
据中健长生露官网介绍,公司主要研发生产由蒋松柏教授自主知识产权(国家发明专利号:ZL2005100031849.6)抗衰老的药食同源产品“长生露复合饮品”。而据《消费者报道》查证,专利号ZL2005100031849.6实际不存在,而真实的专利号疑似为ZL200510031849.6,该专利为“一种滋阴强生口服液药品的生产方法”,“用于年老体弱,病后体虚引起的免疫力低下、血小板白细胞减少及脏器功能低下等症的辅助治疗”,申请人是湖南长生生物工程股份有限公司。
据天眼查数据显示,湖南长生生物工程股份有限公司(以下简称“湖南长生生物”)成立于1998年7月28日,注册资本为2117.36万元,注册地址在宁乡县经济技术开发区新康路妙盛国际企业孵化港第4栋304号,法定代表人、实际控制人是陈聚宝,股东列表中还包括蒋松柏等18人。
据《消费者报道》查明,湖南长生生物旗下拥有国产药品资质国药准字B20040003以及药品生产企业资质湘20200047。但国药准字B20040003实际为滋阴强生口服液,并非长生露。同时,《消费者报道》未查到中健长生露具有药品生产企业资质。
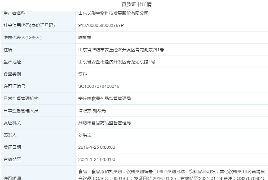
另据天眼查显示,长彤生物拥有一个食品生产许可获证企业资质证书SC10637078400046,食品类别为饮料,饮料品种明细为山药黄精复合饮品(Q/SDCT0001S),但该资质证书在2021年1月24日已失效。
据中健长生露官网显示,公司的长生露产品就是同类的山药黄精复合饮品。
据《消费者报道》查证,中健长生露具有一个生产该饮料的生产资质SC10637078403173,饮料品种明细为风味饮料,并不是官网所描述的药食同源产品,其抗衰老属性也备受质疑。
核心专利涉嫌虚假宣传,审中专利疑为保健药品
从《消费者报道》获取的中健长生露最新企业宣传资料看,中健长生露宣传其长生露产品的专利号为 202010278504.5。
而据《消费者报道》查证,专利号202010278504.5实为“山药黄精复合饮品制备方法”,申请人为湖南长彤生物科技有限责任公司(以下简称“湖南长彤生物”),目前处于“审中-公开”状态,尚不具有该发明专利权。
据《广告法》第十二条显示,广告中涉及专利产品或者专利方法的,应当标明专利号和专利种类。未取得专利权的,不得在广告中谎称取得专利权。禁止使用未授予专利权的专利申请和已经终止、撤销、无效的专利作广告。
同时,《消费者报道》还发现,该“山药黄精复合饮品制备方法”的制作过程明显包含多种中药,并且与专利号200510031849.6“一种滋阴强生口服液药品的生产方法”的制作过程几乎一致,同时强调了“本发明具有明显的抗衰老保健作用、能辅助治疗多种疾病”。以此来看,该“山药黄精复合饮品”应属于药品或保健品,但《消费者报道》未查到中健长生露具备相关的国产药品资质和药品生产企业资质。
核心研发人蒋松柏学历存疑 ,旗下多家公司被吊销
据公开宣传资料显示,中健长生露核心研发人是蒋松柏。蒋松柏1953年生于湖南常德,1984年毕业于复旦大学生物工程系。另据2021年8月14日中健长生露微信官媒转发的一篇题文章显示,蒋松柏毕业于复旦大学生命科学院。
据悉,复旦大学生命科学院由生态与进化生物学系、微生物学和微生物工程系、遗传学和遗传工程系、生理学和生物物理学系、生物化学系五个系级单位组成,并不包括生物工程系。尽管如此,《消费者报道》也未在复旦大学生命科学学院的往届校友名录中找到“蒋松柏”这个名字。在中国知网上,《消费者报道》也没查到蒋松柏在复旦大学期间发表的学术论文。
对于蒋松柏的具体学术背景及主要研究的真实性,《消费者报道》给中健长生露发去了采访函,但截至发稿并未收到官方对采访问题的回应。
据天眼查数据显示,1993年2月11日,蒋松柏成立了常德长生生命科学开发公司,开始生产经营长生露;1995年9月11日,蒋松柏拉到多方投资组建并成立了湖南省长生实业有限公司,扩大生产和销售长生露系列保健品。如今,这两家企业一家被注销一家被吊销。
1998年7月28日,蒋松柏与复旦大学旗下生物科技公司上海复福生物科技有限公司及复旦大学多位教授合资成立了湖南长生生物工程股份有限公司,开始研究、开发、生产和销售药品滋阴强生口服液。
2000年至2011年期间,蒋松柏接连创立了湖南长生生物工程股份有限公司长生医药保健品厂、常德长生生命科学开发研究所、武汉松柏生物科技有限公司等3家企业,现均已被吊销。湖南长生生物曾有过辉煌,但如今,上海复福生物科技有限公司及复旦大学教授们均已退股,湖南长生生物也变成了陈聚宝旗下企业。
原公司多个官司缠身,被执行总金额接近1亿元
前面说到,长彤生物已于2021年1月24日起停止生产长生露所有系列产品。而在中健长生露2020年8月14日成立之前,长彤生物参与了整个长生露的生产制造和销售过程。
据公开资料显示,中健长生露董事长、实际控制人陈聚宝曾长期从事纺织行业工作,2010年与蒋松柏结识,才进入保健药品行业。长彤生物是陈聚宝与蒋松柏在2011年9月26日一同成立的第一家公司,主要从事饮料的生产销售,也就是山药黄精复合饮品的生产销售。
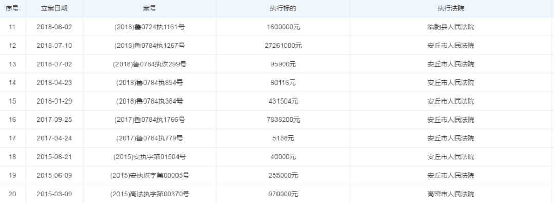
据天眼查数据显示,长彤生物涉及多个诉讼,并且22次成为被执行人。其中,最大的执行标的金额达到2726.1万元,最少的为5188元,累计被执行金额高达9872万元,接近企业注册资本1亿元。
与此同时,实控人陈聚宝还因长彤生物涉及的多个诉讼被相关法院4次出具《限制消费令》。
祸不单行,2020年4月22日中国网财经发布的一篇《“长生露”服用五六年就能长生不老?山东长彤生物旗下“神药”涉嫌虚假宣传》文章详细地披露了长彤生物是如何虚假宣传的。
或许是因为长彤生物“事情败露”且官司缠身,不适合继续长生露的生产与销售。于是,同年8月,陈聚宝成立了中健长生露,将长彤生物的所有资产装入其中,改头换面、以一家全新的公司继续长生露的生产与销售。



















