今日商标头条:华为量产第一车上市啦,联手ARCFOX极狐汽车引爆媒体眼球!
小米造车的资讯铺天盖地,华为在新能源汽车市场从来不会寂寞。

“鸿蒙量产第一车”搭载华为智驾、鸿蒙座舱的极狐阿尔法S全新HI版
华为联手ARCFOX极狐汽车谱写华章
本月2021年12月2日-4日,被媒体誉为“鸿蒙量产第一车”搭载华为智驾、鸿蒙座舱的极狐阿尔法S全新HI版亮相海南举办的第六届中国汽车流通行业年会暨博览会,引爆媒体瞩目。本次极狐汽车是唯一作为高端新能源汽车品牌应邀参展的。
上个月2021年11月19日-28日,极狐阿尔法S全新HI版正式亮相于广州车展。在极狐相继推出阿尔法T和阿尔法S两款车型后,广大车主们对新款车型极狐阿尔法S全新HI版的热情可谓是只增不减,同时该车型也被广州车展誉为“智能汽车天花板”。
2021年11月25日,极狐汽车在第十八届昆明国际车展上迎来了自己在中国西南顶级汽车盛会的首秀,消费者充分领略了极狐阿尔法S全新HI版的全新智能驾驶体验、感知全新出行生活的智能享受。

华为联手ARCFOX极狐汽 车亮相多个车展
ARCFOX极狐汽车是谁?
极狐阿尔法S全新HI版屡屡亮相中国车展,可能很多人还不了解ARCFOX极狐汽车是谁?作为知识产权资深规划师的我开始也不了解ARCFOX极狐汽车是谁,看到这样一个名字我以为是意大利的阿尔法罗密欧(车型是阿尔法),后访问其官网(开发者北京蓝谷极狐汽车科技有限公司,但没有极狐汽车的简介)并经过多方查询才了解,ARCFOX极狐汽车竟然是我们熟知的北汽旗下的新能源汽车品牌。根据企业信息网显示,北京蓝谷极狐汽车科技有限公司,注册资本200万,投资人为北汽蓝谷新能源科技股份有限公司(简称北汽新能源,证券名称为北汽蓝谷)。

ARCFOX极狐汽车标志
ARCFOX极狐汽车商标持有人竟然是他?
被誉为华为“鸿蒙第一车”的ARCFOX极狐阿尔法S全新HI版高调亮相国内多个车展,笔者作为从业10多年的知识产权资深规划师,更关心的是ARCFOX极狐阿尔法S全新HI版的品牌所有人是谁?经查询中国商标网,作为开发者北京蓝谷极狐汽车科技有限公司旗下竟然没有任何商标,作为其母公司北汽蓝谷新能源科技股份有限公司除了19项专利外也没有任何跟ARCFOX极狐阿尔法相关的商标信息。

“ARCFOX”、“极狐”商标持有人:北京新能源汽车股份有限公司厂区
几经波折,终于查到“ARCFOX”商标持有人为北京新能源汽车股份有限公司(股东为北汽蓝谷新能源科技股份有限公司、北京蓝谷极狐汽车科技有限公司,股权分别为99.99% 、0.01%)。
“ARCFOX”商标注册情况:
根据中国商标网信息显示,从2016年3月24日起截止到2020年8月25日,北京新能源汽车股份有限公司陆续申请了“ARCFOX”商标,除第1类、2类、23类、40类、44类、45类商标空白外(没有机构申请),其申请商标部分被国家商标局驳回外,大部分商标已注册成功,但仍有大量的“ARCFOX”商标被其他机构注册。

ARCFOX商标注册情况(部分)
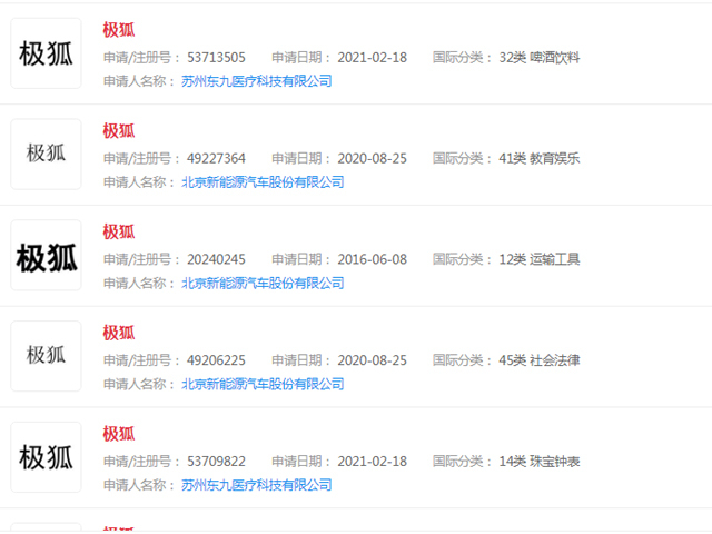
“极狐”商标注册情况:
根据中国商标网信息显示,从2016年6月8日起截止到2020年9月8日,北京新能源汽车股份有限公司陆续申请了“极狐”、“北极狐”、“南极狐”等商标,所申请商标均已注册,但仍有大量的商标类别“极狐”、“北极狐”、“南极狐”被其他机构注册。有趣的是,“极狐阿尔法”多个商标竟然在2021年被其他机构或个人抢注成功。

极狐商标注册情况(部分)
华为与ARCFOX极狐汽车到底什么关系?
来自ARCFOX极狐官网信息显示,华为作为全球领先的ICT解决方案供应商与ARCFOX极狐进行合作。2017年9月极狐汽车与华为签署了战略合作协议,在技术研发、产品创新、智能化转型等方面开展全面合作;2018年11月极狐汽车与华为签署深化战略合作框架协议,双方将在智能化转型方面展开深入研究与合作,将ICT技术与智能网联汽车深度融合;2019年1月极狐汽车联合华为共同设立了“1873戴维森创新实验室”,共同开发面向下一代的智能网联电动车技术;2020年10月ARCFOX极狐阿尔法T正式上市,量产搭载华为智能网联、智能电动领域技术;2021年4月ARCFOX 极狐 阿尔法S全新HI版正式发布,由极狐与华为联合开发,首个量产搭载华为全栈智能汽车解决方案。

2019年1月极狐汽车联合华为共同设立了“1873戴维森创新实验室”
关于作者
今日商标头条创始人王浩为互联网品牌营销策略专家(互联网从业20多年)、知识产权资深规划师、新媒体传播者、高级工商管理师、资深策划人、邦加网络传媒有限公司创始人、美净界创业学院创始人、美漾年华生命科技有限公司联合创始人、名人名品文化艺术平台创始人、逻小程少儿编程联合创始人、歧黄医圣堂中医医院集团联合创始人、中国地理标志文化产业发起人与倡导者、“走遍中国发现地标”中国地理标志产业文化推广活动发起人、万慧智库研究院地理标志委员会副主任等。

