前段时间奔驰发布了一款全新“手柄”方向盘设计图,和特斯拉Model S Plaid半幅方向盘的外观有一点相似,同样是用于部分自动驾驶车辆。不同之处是宝马用了手柄式,对空间的占有更少,特斯拉半幅式方向盘只是从圆形改为长方形,操作原理变动不大。而宝马手柄式和传统方向盘之间的区别在于,在自动驾驶期间拥有相对较多的个人空间,主要用于临时情况车主对方向盘进行接管,使用频率没那么高。

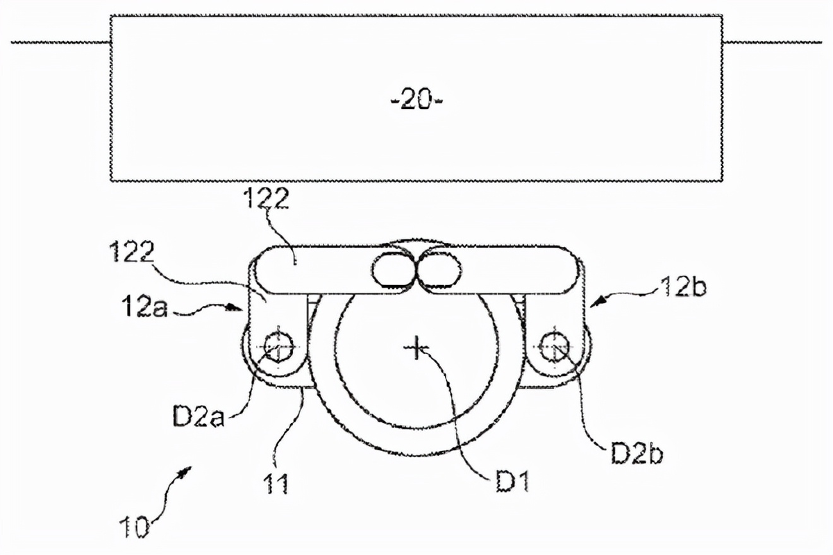
新方向盘和传统方向盘的工作原理没有太大区别,但在工作原理方面却不一样。比较别致的一点是,当车辆处于自动驾驶状态时,方向盘会以LOGO为中心进行水平折叠,进一步减少驾驶位空间占比。当车辆脱离自动驾驶状态时,折叠的方向盘会自动打开,并且左右手柄支持单手操作。
看到这里不知道大家有没有觉得,宝马全新手柄方向盘和我们国内公园的“太极手推器”有异曲同工之处呢?同样是可以一边抓住一边进行转动,趣味性进行提升。不过这只是一个调侃,在工作原理方面手臂方向盘的设计更为智能化。
话说回来,手臂方向盘的折叠设计也有一个问题存在,如果自动驾驶系统出现识别错误等问题时,车主需要临时应对突发危机,如果方向盘折叠弹出速度不够,是否存在危险性?不过,国内政策暂时不支持自动驾驶,估计还需要等待几年时间。问题来了,如果宝马选择在国内推出这款方向盘,你敢用吗?





