IT之家 5 月 6 日消息,信息显示,5 月 6 日,华为技术有限公司“柔性屏支撑机构及可卷曲的电子设备”专利获授权。

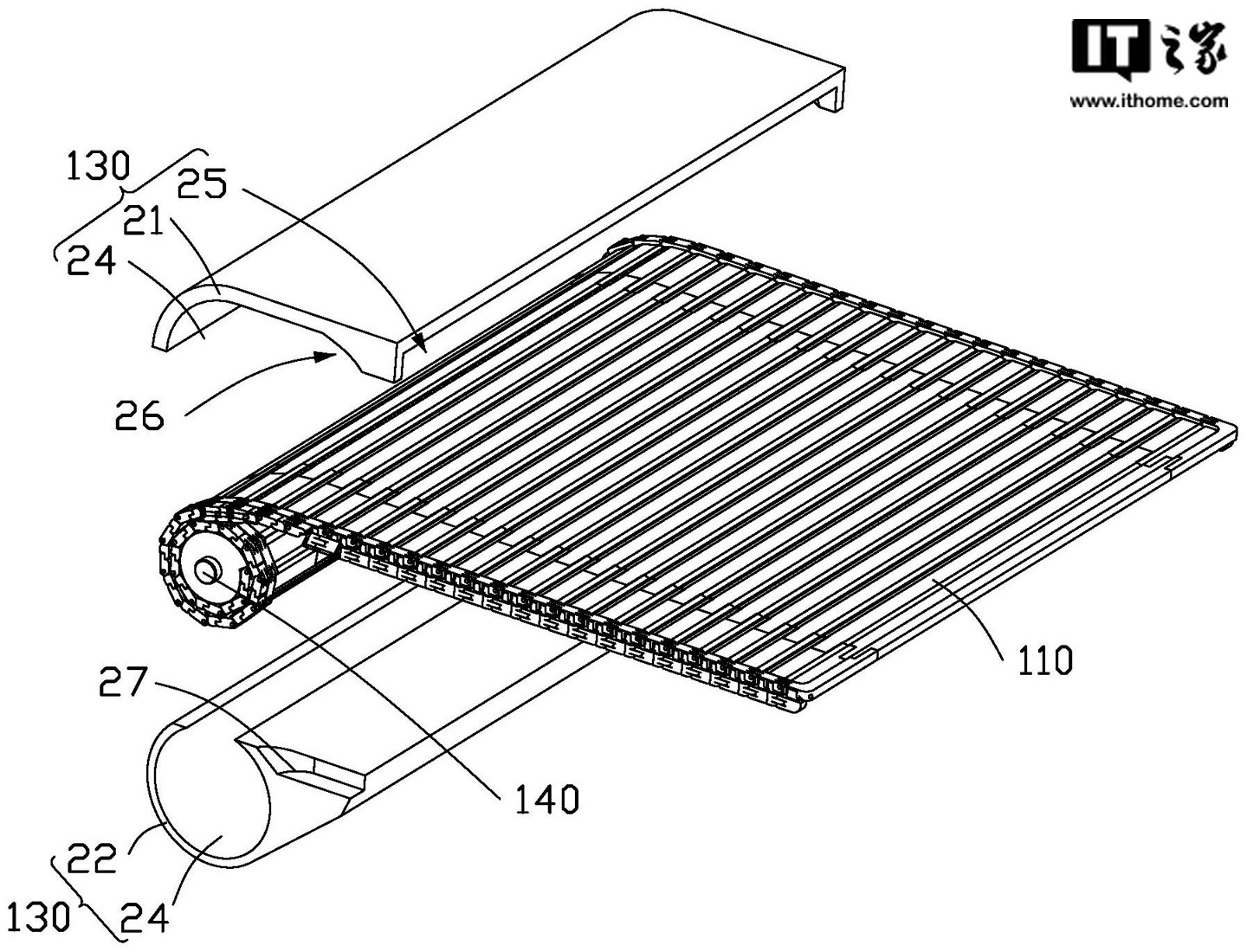
专利摘要显示,本申请提供一种柔性屏支撑机构,包括具有支撑组件和转动组件的支撑结构;相邻的支撑组件之间通过第一转动轴转动连接;转动组件与支撑组件通过第二转动轴转动连接,相邻的转动组件之间通过第三转动轴转动连接;转动组件可相对于支撑组件翻转并在第一及第二状态之间转换;当转动组件处于第一状态时,第一转动轴的轴心与第三转动轴的轴心共线,相邻的支撑结构可相对第一或第三转动轴转动,柔性屏支撑机构能够卷曲;当转动组件处于第二状态时,第一转动轴的轴心与第三转动轴的轴心相交,相邻的支撑结构不可相对转动,柔性屏支撑机构不能卷曲。本申请提供的柔性屏支撑机构及可卷曲的电子设备的结构简单、收纳空间小且可适用于便携设备。


