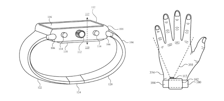
以往 Apple Watch并没有摄像头,但是这一现状或许将被打破。近 日,来自一份专利信息显示,苹果正在研究把摄像头装到 Apple Watch。而根据专利文档显示,手表会包含一个可旋转的表冠,组件中包含一个摄像头,可以通过该组件捕获图像。而图像传感器除了可用于拍摄照片的相机以外,还可以用来检测刻度旋转的传感器感测旋转输入。

而从专利图来看,Apple Watch的摄像头被设计在手表的侧框,搭配手机佩戴使用,摄像头可以沿着手指的方向进行拍摄,预计Apple Watch的屏幕会作为取景框使用。而该项功能的加入,为手表的视频通话、手表扫码、手表拍照等功能提供了可能。
其实很早之前,便已经有智能手表加入了摄像头,摄像头摆放的位置设计在手表的侧框或者屏幕的正面,除了可以拍照以外,也可以视频通话,尤其一些国产的儿童电话手表,大部分都加入了摄像头。




