
7月底,一则每日优鲜被曝宣告解散的报道引爆舆论。作为生鲜电商行业彼时的资本宠儿,每日优鲜的投资者囊括了腾讯投资、中金资本、联想创投、高盛集团、老虎环球基金等国内外知名机构,这其中,青岛国资属于比较特殊的一位。
2020年12月,青岛国信、阳光创投、青岛市政府引导基金组成联合投资主体,以每日优鲜将总部搬至青岛为前置条件,向每日优鲜战略投资20亿元(约合3.06亿美元),对每日优鲜的估值约为30亿美元。
据报道,青岛国资以5.27美元/股优先股的价格持有5499万股F轮优先股,每日优鲜的优先股与ADS的比例为3:1,由此可知,青岛国资持有每日优鲜ADS的成本约为15.81美元;而对比眼下每日优鲜的股价,青岛国资当初所投资的20亿元算是“被坑惨”。
对于这笔巨额亏损,舆论或许多有质疑。但回头看,青岛国资当时选择押注每日优鲜,大概与地方加快产业转型的顶层规划密切相关。
2020年6月,青岛出台《关于进一步压实专班责任统筹推动新旧动能转换重点任务落地落实的工作方案》,成立13个产业专班,压实责任推动13个产业发展,形成青岛新旧动能转换推进的产业体系,而作为以新一代信息技术、现代高效农业和现代物流为支撑的生鲜电商头部玩家,彼时的每日优鲜获能得青岛国资青睐多少存在一定合理性。
事实上,除生鲜电商外,近年来,围绕现代金融、文化创意、精品旅游等在内其他政策既定产业链,青岛国资展开了密集“围猎”。本期,闻旅就此盘一盘,20亿投资每日优鲜“被坑惨”的青岛国资,其在文旅赛道上押了哪些宝?运营现状又如何?
青岛航空:命途多舛数易其主,疫情重压资不抵债
青岛航空成立于2013年,最初由南山集团有限公司、青岛交通发展集团有限公司和山东航空有限公司分别持股55%、25%和20%;其中,作为烟台龙口市村办企业的南山集团,彼时由南山村村民委员会和宋作文分别占股51%和49%。
得益于山东航空团队的专业支持,青岛航空于2014年实现首飞;同年,青岛城投接盘青岛交通发展集团持有的青岛航空25%股权,由此成为青岛航空新的第二大股东。
虽背靠青岛本地国资和山东航空,但青岛航空的实际经营情况并不如意。由于亏损严重,2015年,山东航空将其持有的青岛航空20%股权转让给新南山国际控股,青岛城投将其所持有的青岛航空25%股权转让给南山集团,也即此轮股权结构调整后,青岛航空股权结构变更为南山集团和新南山国际控股分别持有80%和20%股权。
随着两大国资股东相继退出,青岛航空发展愈发艰难,截至2019年6月末,青岛航空总资产656191万元,净资产120843万元,实现营业收入115826万元,营业利润亏损1.41亿元,净利润亏损9981万元,大概是持续扩大的亏损耗尽南山集团的耐心,最终其决定将青岛航空及相关资产打包出售。
摄图网
2019年12月,青岛城投集团与南山控股及其关联公司签署《航空板块收购框架协议》,对南山集团航空板块相关资产进行收购,包括青岛航空、南山公务机、山东南山国际飞行有限公司三家公司的股权以及关联债权净额,还有公务机两架、青岛南山美爵度假酒店北楼房屋所有权及对应土地使用权。2020年9月,青岛城投集团与南山控股举行青岛航空战略重组交接仪式,青岛航空从全资民营企业正式转为全资国有企业。
自入主青岛航空后,青岛国资给予了青岛航空相应支持。据报道,2020年,青岛航空引进3架空客A320neo客机,2021年引进2架A320neo客机,2022年6月再次引入1架新飞机,目前青岛航空全空客机队规模已扩增至32架,航线网络布局不断扩展。
尽管新入主者求变姿态积极,但受疫情、管理体制等多重因素影响,青岛航空困境仍在持续加重,相应的股权结构调整仍未止步。2022年7月初,青岛城投发布公告称,将公司持有的青岛航空50%的股权,以2021年12月31日为划转基准日,无偿划转至青岛旅游集团,由此,青岛航空迎来第二次易主。
根据《青岛旅游集团有限公司2022年跟踪评级报告》,2021年,青岛航空实现收入22.62亿元,净利润-15.88亿元。截至2021年底,青岛航空资产合计165.19亿元,所有者权益-22.35亿元。
北京文化:负面舆情暴击股价大跌,连年亏损无碍青岛国资逆势增持
2020年7月6日,北京文化(000802.SZ)公告称,青岛国资青岛西海岸控股发展有限公司(以下简称“青岛西海岸控股”)通过公拍网司法拍卖平台,分两批以共计3.82亿元,竞得北京文化逾5447万股无限售流通股(占公司总股本7.6%),目前双方正按程序办理拍卖成交手续,本次股份拍卖不涉及公司实际控制权变更问题。
来源北京文化公告
资料显示,青岛西海岸控股成立于2012年10月26日,是青岛西海岸发展(集团)有限公司(以下简称“青岛西海岸发展集团”)的全资子公司,主要经营范围为现代产业投资与运营等。青岛西海岸发展集团是经青岛市委、市政府批准,为加快西海岸新区建设而成立的市直国有独资企业。
而北京文化前身为“京西旅游”,于1985年成立。经历2005年的资产重组后,更名为“北京旅游”,2014年再度更名为“北京文化”,向影视娱乐方向转型。近年来,北京文化参与出品、发行《战狼2》《我不是药神》《流浪地球》等电影,这些电影以出色的口碑和高票房成绩占据电影票房榜前列。
尽管发展势头迅猛,但进入2020年,北京文化正式迎来水逆期,其正因全资子公司世纪伙伴、星河文化的业务暴雷产生巨额亏损、自身财务造假风波等负面事件,深陷舆论冲击。
2020年4月29日,北京文化原副董事长娄晓曦在微博曝出北文现任董事长宋歌、董事会董事张云龙涉嫌背信损害上市公司利益罪,欺诈发行债券罪,违规披露、不披露重要信息罪,职务侵占罪。2020年6月6日,深交所向北京文化发出《年报问询函》,6月底,北京文化对《年报问询函》做出相关回复。
就是在这样的背景下,按照官方说法,此次青岛西海岸控股竞得北京文化,与青岛西海岸发展集团目标相符。当前,青岛西海岸发展集团已开发建设了青岛灵山湾影视文化产业区,总投资500亿元的东方影都不仅是该园区的影视产业龙头项目,也是山东省“1+N”影视产业基地布局中的核心园区。
来源北京文化2020年三季度报告
以此为起点,根据北京文化2020年三季报,彼时青岛西海岸控股的持股比例已经达到10.87%,成为北京文化的第二大流通股东。尽管青岛国资信心不减,但回到现实,自被举报财务造假、深交所问询函以来,受高管大换血、业绩亏损、股东减持等事件影响,北京文化依旧连陷困境。
2021年A股首个交易日,北京文化披露了中国证监会的《调查通知书》和北京证监局的警示函。因公司涉嫌信息披露违法违规,中国证监会决定对公司立案调查。同时,北京证监局出示的警示函指出,经查,北京文化存在违规事项。其中,2018年报财务信息披露不准确,2018年度多计营业收入约4.6亿元,多计净利润约1.91亿元;并且公司在对子公司管理、预付款及投资款管控、项目管理等方面存在重大问题。
数据显示,北京文化2019年、2020年、2021年的净亏损分别为23.06亿元、7.67亿元、1.33亿元。北京文化已经连续亏损3年,归属于母公司股东净利润累计亏损32.06亿元;至于股价,以彼时青岛西海岸控股以3.82亿元竞得北京文化逾5447万股无限售流通股为参照,目前其跌幅已超4成。
进入2022年,北京文化的困境仍在发酵,7月6日,北京文化发布公告称于近日收到北京登峰国际文化传播有限公司《起诉书》、北京壹同传奇影视文化有限公司《起诉状》、嘉影上行(北京)文化传媒有限公司《起诉状》和西虹市影视文化(天津)有限公司《起诉状》,被追索金额约1.55亿;而在此次公告前,北京文化及控股子公司还有6起相关诉讼、仲裁事项,包括5起合同纠纷和1起投资者集体诉讼,涉案金额共计约1.48亿元,北京文化及控股子公司为被告。
来源北京文化2022年一季度报告
根据北京文化2022年半年度业绩预告,预计归属于上市公司股东净利润为-2000万至-3000万元,同比减少亏损33.43%至55.62%;尽管困窘如此,但青岛国资对其信心仍在增加。根据北京文化2022年第一季度报告,青岛西海岸控股仍为公司第二大股东,且持股比例进一步增至11.85%。
青岛红树林度假世界:多次沦为被执行人,两大股东所有股权全部质押
2019年2月,青岛红树林度假世界与青岛西海岸旅游投资集团(以下简称“青岛西旅投”)以53亿元兑价正式达成股权合作事宜,按照官方说法,这标志着青岛西海岸首个混所有制大型文旅企业正式启航,是青岛市第一例经由政府“穿针引线”,引入国企通过股权合作和项目合作参与民企发展的案例。
根据企查查信息,目前青岛红树林旅业有限公司(青岛红树林度假世界项目公司)由青岛西海岸文化旅游有限公司(青岛西旅投旗下)和青岛西海岸新区海洋控股集团有限公司各持股50%,两家公司实控人均为青岛市黄岛区国有资产发展中心。
企查查显示,青岛西旅投成立于2017年5月,注册资本30亿元,根据官网信息,目前青岛西旅投资产规模达到84亿元,控股参股公司19家,主要业务涉及旅游项目开发建设与投融资,旅游景区运营、开发、建设与管理,旅游产品开发与经营,游艇码头及旅游地产开发,酒店及商业经营管理等领域。
至于青岛红树林度假世界项目原股东今典集团,官网显示,其始创于1992年,历经30余年发展,已成为多元化、跨产业发展的大型集团化企业,在休闲度假、电影、当代艺术等领域均创造了突出业绩。旗下“文旅融合标杆”品牌红树林品牌创建于2004年。其定位于集时尚、艺术、休闲、文化、娱乐、购物为一体的大型度假目的地综合体酒店,连锁布局中国一线旅游资源地。
聚焦青岛红树林度假世界,作为该品牌在中国北方的“开山之作”,项目总建筑面积80万平米,共有4000间客房,自2011年在青岛西海岸开发建设,并于2016年8月一期开业时,就在青岛西海岸创下多个“第一”。试营业期间,青岛红树林便已跻身山东省十大人气景区、灵山湾国际旅游区最具5A级景区潜力的度假目的地。今年春节假期,总客流量超过10万人次。
以此来看,青岛红树林度假世界似乎“出道即巅峰”,但据观察,资金困境始终横梗在项目发展之路上。企查查信息显示,在青岛红树林旅业公司尚未转让给青岛国资公司前,曾有过历史土地质押和历史动产质押记录,质押金额和被担保主债权数额分别为21428万元和10000万元。
谈及转让青岛红树林项目的原因,红树林品牌创始人张宝全彼时表示:“青岛红树林项目在土地出让时曾配有30%住宅,其他为商业,均可独立销售。但为了打造北方最大度假目的地综合体,我们没做房地产开发、没做一平米的物业销售,已建成开业的44万平米全部自持经营,已投入55亿元。因去年5月国家金融形势变化,红树林2个ABS没能如期发出,遭遇流动性困境。”
按照官方说法,当区域内优质民营面临融资及经营困境时,青岛西海岸区政府领导和有关部门“该出手时就出手”,在此过程中,青岛西旅投表现出极具前瞻性的战略眼光与市场格局,对与红树林的合作,以及双方未来在青岛西海岸的发展建设,提出了良好的预期与规划,真正实现“三赢”。
尽管青岛地方对接盘项目的期待颇高,但观察可以发现,资金链/运营始终是青岛红树林度假世界绕不开的难题。
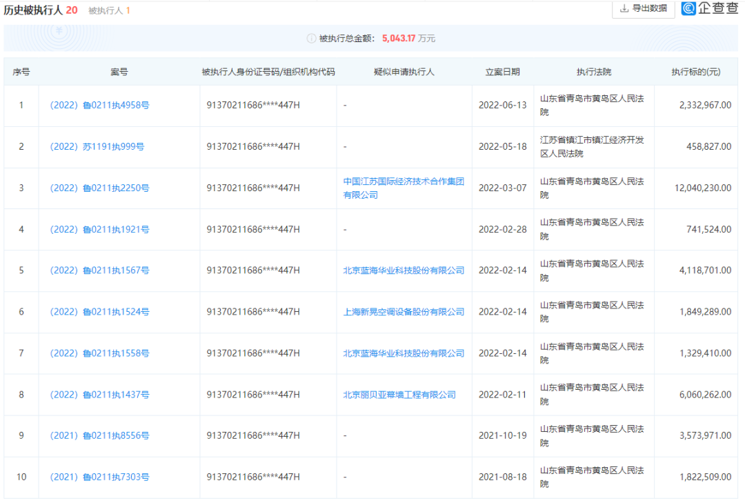
企查查信息显示,青岛西海岸新区海洋控股集团和青岛西海岸文化旅游集团分别持有的青岛红树林旅业有限公司37500万股权数额,目前均处于质押状态。而从2019年9月至今,青岛红树林旅业有限公司已经有多达20条历史被执行人信息,历史被执行总额超5000万元;同时,公司还有3条历史限制高消费记录和1条历史失信被执行人信息;就在7月底,公司再次成为被执行人,被执行总金额为63.48万元。
青岛红树林旅业有限公司部分历史被执行人信息
另根据《青岛西海岸新区海洋控股集团有限公司2022年面向专业投资者公开发行可续期公司债券(第一期)信用评级报告》,公司旅游及酒店业务主要由旅投公司负责,2019~2021年及2022年1~3月,公司分别实现旅游与酒店服务收入2.12亿元、1.18亿元、2.29亿元和0.48亿元,其中酒店业务收入主要来自青岛红树林度假世界综合体项目。目前,青岛红树林度假世界综合体项目尚处于开发建设阶段,项目总投资77亿元,分两期进行建设,已投资40亿元,其中一期项目已经完工并投入运营,二期项目正在规划中。
胶州恒大文旅城:高调开场黯然停工,身负限消令已超20条
作为老牌旅游城市,各路开发商借文旅之名低价拿地卖房的剧情,曾在青岛轮番上演,而以此模式大肆跑马圈地的地产行业龙头恒大,自然也不甘落后。这其中,胶州恒大文旅城项目算是典型代表。
相关资料显示,早在2015年,恒大就正式进军青岛,当时恒大地产以204亿元的价格收购新世界发展和周大福两家公司旗下包括青岛新世界在内的多个地产项目。
时间来到2019年3月,青岛市委书记王清宪曾在北京会见了许家印。在介绍了青岛发展面临的新形势新任务,其向恒大发出邀请,共同参与进青岛的发展事业之中。许家印也对青岛发展的全新定位、战略规划十分热衷,并在现场表达了对参与青岛建设发展的向往。
正是在这次会面后的次月,胶州市副市长李宝帅在做客《行风在线》栏目时透露,恒大水世界项目将签约胶州。据公开报道显示,胶州恒大文旅城规划投资500亿,占地3500亩,其中水世界乐园用地1000亩,拟投资150亿元,规划建设世界一流的全季节、全天候全室内水上体闲娱乐综合体。其总建筑面积30万平米,待建成运营,年游客承载量预计达到700万人次。
企查查信息显示,2019年9月,恒大相继成立青岛恒禄旅游开发有限公司和青岛恒福旅游开发有限公司,自2020年3月起,上述两家公司相继拿下项目内多宗城镇住宅用地,标志着胶州恒大文旅城项目正式落地,具体到地价,以2020年11月青岛恒禄旅游开发有限公司2.7亿元拿下的胶州规划街坊路二以南、规划支路十二以东地块为例,其楼面地价2279元/平。
根据相关报道,胶州恒大文旅城于2020年10月开盘,得益于恒大的拓客和营销,开盘期间有2000余名市民缴纳了20000元的认筹金。但是不久,有1800余户认筹客户提出退款。退款原因或许源于持续发酵的资金链危机。
2021年下半年,由于市场信心,2021年9月1日,恒大集团总部召开了“保交楼”誓师大会,集团总部将以最大决心、最大力度确保恒大各地项目工程建设稳步开展,保质保量完成楼盘交付。但誓师无法解决资金困境,伴随胶州恒大文旅城项目陷入停工状态,恒大水世界项目已基本宣布取消,由此引发项目业主广泛关注。
由于提出退认筹金却迟迟没退的投诉较多,胶州市房产管理局在2020年12月11日向青岛恒禄旅游开发有限公司、青岛恒福旅游开发有限公司下达了《责令整改通知书》,要求对方在12月15日前统计出需要退筹的客户名单,并在2021年1月31日前退款完毕。
大概迫于力保民生稳定的压力,2022年2月28日,青岛恒大文化旅游城举行了复工复产仪式,此次复工注重的是前期购房业主住宅的交付,确保“三保”顺利实现。
据本地媒体3月初透露,青岛胶州湾发展集团有限公司通过旗下平台青岛鑫瑞杰产业投资发展有限公司,已接手青岛恒大文化旅游城项目。未来青岛鑫瑞杰产业投资发展有限公司对恒大文旅城项目实施100%控股,而文旅城项目相关的建设、营销、策划、配套等相关业务则由胶州湾发展集团有限公司全面代管。
根据企查查信息,胶州恒大文旅城项目公司青岛恒禄旅游、青岛恒福旅游确已由青岛鑫瑞杰产业投资发展有限公司接管,但股权变更的实际日期均为2022年7月1日;与此同时,尽管已经转由国资接手,但目前项目公司资金链仍然承压。
企查查显示,截至目前,青岛恒福旅游身负4条限消令,有2条被执行人信息,被执行总额为15.6万元;青岛恒禄旅游身负限消令多达22条,有17条被执行人信息,被执行总金额为482.78万元,需注意的是,即便在胶州湾发展集团于7月初正式入主后,胶州恒大文旅城项目公司的新增被执行人信息仍在持续增加。
青普旅游:创始人王功权卸任法人,5年之内上市梦早已成空
稍早几年,国内消费升级成为显性趋势。聚焦文旅产业,以民宿为代表的非标住宿,迎来一波资本青睐。这其中,知名投资人光环加持的青普旅游曾吸引了不少业内关注。
综合官方信息,青普旅游创建于2015年,由号称万通“四君子”之一的王功权发起成立,据介绍,青普旅游主要倡导文化度假和度假文化,文化品位和品位文化欣赏。具体来说,就是在全国范围内,距离4A级以上景区半小时至一小时车程,有浓厚民族文化和文化沉淀的山清水秀的地方,青普租几亩地,建设创新型小型文化艺术度假中心。
按照王功权2015年9月接受地产中国网的说法,彼时青普旅游已经签约、准备建设的地方包括泸沽湖、香格里拉、玉龙雪山、丽江白沙古镇、云南腾冲古镇、福建土楼文化所在地、扬州等地方。“目前已经把场地租下来,现在正在做方案设计。我们先建一批,再收购一批。最后希望能达到上百家规模。五年之内准备上市。”
或是得益于王功权的背书,青普旅游起初颇受资本青睐。公开资料显示,青普旅游共经历了两轮融资,分别是由风云资本、华住集团、合一资本等机构共同投资6800万元的天使轮融资,和天奇创投、华瑞善德、融汇阳光资本等机构2亿元的A轮融资。
尴尬的是,尽管有资本持续加注,但反映在规模扩张上,相比此前王功权在2015年接受采访时谈到的“自建部分,我们计划明年有8家推出,后年再增加30家,第三年再增加50家,基本上按照这一速度推进”,青普旅游的扩张速率明显不如预期,青普旅游官微显示,目前可预定的青普文化行馆数量仅为9家,而定位年轻态主题生活方式度假品牌、于2020年10月首度落地海南万宁的青普 Found Hotel,目前仍然只此一家。
或是出于加速规模扩张的考虑,2017年3月,青普曾与花间堂完成股权层面融合,持有后者61.3%股权,成为大股东。当时的计划是双方融合后,提供线上社群定制、线下服务支持的旅行计划。不过,仅过去一年后,2018年8月,华住即宣布收购了青普持有的股权。
按照王功权的说法,购买股权前,曾出借给花间堂3000万元,替其偿还了到期的银行账款,解救了创始人被质押的股权,替掉了要清盘的两支基金股东,使得部分创始团队和老股东的股权套现了一半。媒体引述知情人士称,青普旅游曾以花间堂股份质押向华住集团借款4500万,并且缓期两次,而且其B轮融资不顺,所以最终出售。王功权的解释是,青普作为创业公司不可能持续投入大量资金;青普改变策略,不再谋求多产品条线发展;缓解自身资金压力。
与此同时,尽管王功权强调,为这次创业他将准备花15年的时间,只为打造一个高质量的文旅场景,其甚至放言,要让青普的产品和体验、倡导的人文度假的生活方式,成为中国大陆的时尚传承。但回归现实,有别于所谓“创造一种新中产日常接触不到的生活方式”,部分目标客群的实际体验似乎并不如意。
以2018年一篇《王功权,别糟蹋情怀二字》的文章为例,作者直指青普旅游的入住体验槽点众多,称其“硬件条件实际上不行,软件服务完全跟不上,人文活动只是形式”,该檄文旋即引起业界对于青普旅游的热议。
时间来到2020年,疫情冲击下国内旅游业哀鸿遍野,青普旅游自然无法独善其身。青普旅游创始人杨雪山接受采访谈到,这一两年里文旅行业的创业者差不多都徘徊在生死线上,其几个关系很好的同行,本来想合作,最后因为大量用户发起退款,资金运转出现危机而关了门。同一时间,青普也面临业务骤停收入骤降、人力物力空转的局面,其股东又因受多方面环境影响而陷入了极端困境,甚至很有可能比青普旅游更快倒下。
按照相关媒体的分析,得益于股东的支持,加之王功权并没有把盘子铺的很大,反而很小,一家公司的客户就足够包场。即使公司突然停业,也能运转得过来。但信息显示,因牵涉借款合同纠纷案件,北京风云天使股权投资基金管理合伙企业(有限合伙)(以下简称“风云天使基金”)此前所持的青普旅游6.36%股权被冻结,解冻日期为2020年11月16日。
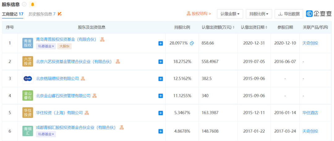
为缓解资金压力,报道称,王功权用自己的人脉资源和青岛国有资本成立了一个2亿元专项基金,并给股东输血最终解救了危机。根据企查查信息,青岛青普股权投资基金(有限合伙)于2020年12月参股青岛青普旅游,以28.0971%的持股比例成为其大股东,信息显示,青岛青普股权投资基金(有限合伙)则成立于2020年11月,注册资本2亿元,有青岛市国资委和即墨市国有资产运营服务中心参股。略显诡异的是,此次青岛国资入股青普旅游,未见任何相关报道发布。
青岛青普旅游部分股东信息
到2021年2月,北京青普旅游文化发展有限公司(以下简称“青普旅游”)法定代表人发生变更,王功权卸任,转由公司CEO杨雪山担任。按照青普旅游官方回复,王功权与杨雪山是青普共同创办人,法人代表更换仅为企业内部调整,未来王功权亦将是创始股东及董事的角色,持续与杨雪山共同带领青普,进行未来集团经营发展,与接下来的各项重要投资决策。
来源北京产权交易所
尽管青普的回应极尽淡定,但股东撤退潮似乎还在继续。据北京产权交易所新近信息,目前青岛青普旅游文化有限公司2.67%股权被挂牌转让,转让方和转让价格均未公开。闻旅查询发现,此次转让方或为上海合一科文投资合伙企业(有限合伙)(以下简称“合一资本”)。企查查显示,合一资本于2015年参与了青普旅游的天使轮融资,目前以81.6993万元的认缴出资额,持有青普旅游2.6734%的股权。
不知青岛国资会否再度出手,继续给予青普旅游资本加持?
封面源于摄图网。















