
“露天场地没门票,人山人海氛围足”、“尽管没有NBA打得精彩、漂亮,但它仍然足够可爱、足够有魅力,如果中国很多乡村都有这样的‘村BA’,那才是乡村振兴中最美的画面之一”。
酷热的八月,国内多个长线目的地受疫情冲击旅游旺季戛然而止。沉闷情绪下,贵州“村BA”因“氛围感拉满”瞬间爆红网络,包括姚明等在内的多位知名人士接连点赞,新华社、人民日报、央视等主流媒体跟进报道,推动赛事举办地黔东南州的魅力值持续上升。
来源《新闻1+1》
诚然,此次黔东南州的意外出圈,给旅游目的地营销打开新天地。但闻旅查询发现,相比于“村BA”带来的好评如潮,当地多家国资旅企的“群体躺平”显得太过违合。
8月9日,中国裁判文书网发布了案号为(2021)浙0108民初5594号的《杭州有务信息技术有限公司、凯里市文化旅游产业投资发展有限公司借款合同纠纷一审民事判决书》,杭州市滨江区人民法院判决被告凯里市文化旅游产业投资发展有限公司于本判决生效之日起十日之内(裁判日期为2022年4月26日)支付原告杭州有务信息技术有限公司借款本金及利息6784万元。
来源中国裁判文书网
根据2022年7月7日立案、案号为(2022)浙0108执1883号的被执行人信息,显然,凯里市文化旅游产业投资发展有限公司(以下简称“凯里文旅投”)未按判决在指定期限内履行给付金钱义务。
企查查信息显示,凯里文旅投成立于2012年9月,公司注册资本12000万元,公司由凯里市财政局全资控股;经营范围包括文化旅游产业投资、文化旅游艺术活动、赛事活动的组织策划与推广;文化艺术品、旅游产品的设计、开发与销售等。
债券信息显示,凯里文旅投于2016年11月和2020年3月先后发行了名为16凯文01(145160.SH)、20凯文01(162915.SH)的2支5年期私募债,票面利率均高达8%,前者发行规模为10亿元,已于2021年11月到期;后者发行规模为6亿元,到期日期为2025年3月。
虽有国企光环加身,但凯里文旅投早已深陷困境。信息显示,自2022年2月至今,凯里文旅投已有8条被执行人信息,被执行总金额增至近3.45亿元;公司董事长/法定代表人吴宇被限制高消费;公司现有3条欠税公告,欠税余额总金额为66.85万元,有73条司法拍卖记录,所持有的凯里云谷田园生态农业旅游开发有限公司1375.0576万元股权数额被冻结。
凯里文旅投欠税公告
不止于此,凯里文旅投旗下包括凯里全景文化传媒有限公司、凯里云谷田园生态农业旅游开发有限公司、凯里市绿叶方舟生态农业发展有限公司、凯里市文旅教育咨询有限公司、凯里市体育产业投资发展有限公司在内的多家子公司,目前多为被执行人/被限制高消费。其中,凯里云谷田园被执行总额为659万元,凯里市体育产业投资发展有限公司被执行总额为1716万元。
凯里云谷田园被执行信息
凯里市体育产业投资发展有限公司被执行信息
另据《贵州省凯里城镇建设投资有限公司2022年跟踪评级报告》,截至2021年底,贵州省凯里城镇建设投资有限公司对凯里文旅投担保余额总计72950万元。
凯里文旅投沦为“老赖”并非孤例,查询可以发现,这只是黔东南州几大龙头国资旅企“集体躺平”的缩影。
以黔东南州文化旅游投资(集团)有限责任公司(以下简称“黔东南州文旅集团”)为例,该公司成立于2012年7月,注册资本10000万元,官网显示,作为黔东南州州属企业中唯一一家专业从事以发展文化旅游类,文化旅游产业(酒店业),体育产业、大健康产业及相关产业为主业的旅游投资公司,黔东南州文旅集团资产规模由最初的5000万元注册资本金通过运营扩大为260460万元。
根据介绍,黔东南州文旅集团旗下经营服务型实体包括凯里文旅嘉途酒店、苗舞侗歌公司(财富山庄酒店)、贵州鼋沱庄酒店(皮划艇训练基地)、苗疆侗乡旅游运输公司、三黎文化旅行社和下司航运公司;按规划,目前黔东南州文旅投主要以实体项目开发经营为主要目标,计划通过对旗下酒店板块、运输板块、旅行社板块,景区打造板块等多项板块的投资、开发、运营,增强现有资产规模和业务能力,用五年的时间实现集团公司的整体上市。
尽管愿景美好,但回到现实,近期黔东南州文旅集团运营管理团队的震荡,显得尤为“引人注目”。
自2022年起,包括黔东南文旅投集团原党委书记/董事长杨毕天、集团党委委员/副总经理荆涛、集团综合管理部部长兼贵州文旅大酒店有限责任公司董事会董事/副董事长/法定代表人曾令为、贵州文旅大酒店有限责任公司凯都分公司副总经理吴征文接连被查。
剑河县仰阿莎旅游投资开发有限责任公司欠税公告
同时,企查查显示,黔东南州文旅集团旗下的剑河县仰阿莎旅游投资开发有限责任公司目前有多条欠税信息,欠税总额为47.21万元,闻旅注意到,该公司曾因斥资8600万元建88米高雕塑“仰阿莎”,从而引发舆论争议。
来源封面视频截图
再看黔东南州交通旅游建设投资(集团)有限责任公司(以下简称“黔东南交旅集团”),作为黔东南州国资委旗下另一家重量级国企,黔东南交旅集团成立于2019年5月,注册资本254803.47万元人民币,经营范围包括交通运输基础设施建设项目的投融资开发、城市投资开发、旅游投资开发、资产经营管理、资本运营等。
根据官网介绍,截止2021年12月底,黔东南交旅集团(不含天柱、黄平国资公司)合并报表资产总额200.88亿元,负债总额131.73亿元,资产负债率65.57%,所有者权益总额69.15亿元。
目前,公司旗下多家子公司成为被执行人。其中,黄平县国有资产运营有限责任公司被执行总额83.52万元,凯里东方城建置业开发有限公司被执行总额为143.31万元,贵州中凯交通建设有限责任公司被执行总额为80.46万元,黔东南州通达交通建设有限公司被执行总额为46.96万元。
黄平县国有资产运营有限责任公司被执行信息
凯里东方城建置业开发有限公司被执行信息
贵州中凯交通建设有限责任公司被执行信息
黔东南州通达交通建设有限公司被执行信息
至于由黔东南州国资委持股43.1824%的贵州省苗疆侗乡旅游股份有限公司,目前该公司被限制高消费;由黔东南州国资委通过黔东南州国有资本运营有限责任公司间接控股的麻江县农文旅开发投资有限公司,旗下的麻江县扶贫开发投资有限责任公司被限制高消费,被执行总金额为98.73万元,麻江县开发建设工程有限公司被执行总额为10万元,欠税38.38万元。
州属国资旅企尚且如此“躺平”,包括镇远古城和千户苗寨在内,黔东南州的多个县/市国资旅企自然“有样学样”。
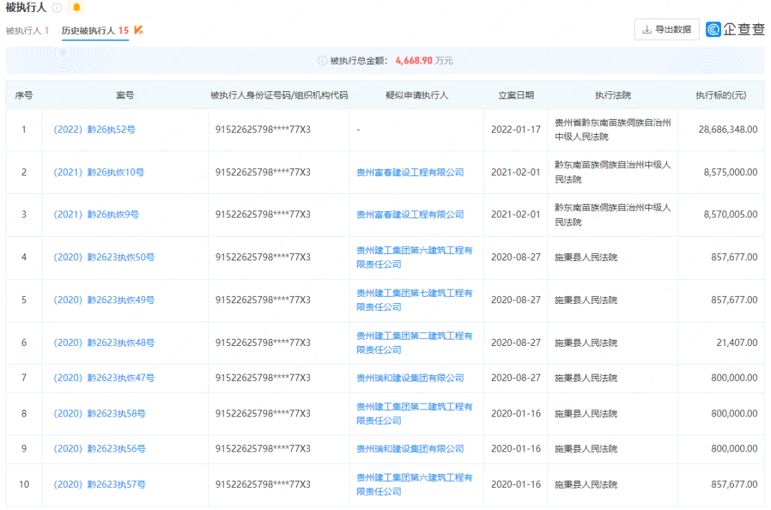
以镇远县财政局旗下的镇远县名城旅游开发经营有限责任公司为例,企查查显示,该公司有15条历史被执行人信息,历史被执行总额为4668.9万元;因拒不履行案号为(2019)黔26民初159号的建设工程施工合同纠纷案件的法院判决,2022年7月28日,镇远县名城旅游开发经营有限责任公司再次成为被执行人,被执行总额为2055.8万元;此外,该公司有2条欠税公告,欠税余额总额为41.41万元。
镇远县名城旅游开发经营有限责任公司历史被执行部分信息
作为雷山文化旅游产业园区管理委员会控股的国资旅企,贵州省西江千户苗寨文化旅游发展有限公司为西江千户苗寨景区的运营管理方。企查查显示,目前贵州省西江千户苗寨文化旅游发展有限公司有3条股权冻结信息,冻结股权标的企业包括贵州省雷山县大塘文化旅游发展有限公司、贵州省黔景无限智慧网络有限公司和贵州省西江千户苗寨旅游商品开发有限责任公司,被冻结股权数额共计4700万元人民币。
此外,千户苗寨公司控股的贵州省西江盛典文化旅游发展有限公司,目前为被执行人,被执行总额为34.5万元,同时该公司有2条欠税公告,欠税余额总额为15.16万元。
再看贵州凯里下司清江旅游开发有限公司,作为贵州凯里经济开发区国有资产管理办公室全资控股的国资旅企,该公司为4A景区凯里下司古镇的开发/运营方,值得注意的是,公司董事长、总经理陈卫于2021年11月被查。
贵州凯里下司清江旅游开发有限公司失信被执行人信息
根据企查查显示,贵州凯里下司清江旅游开发有限公司目前有5条失信被执行人信息,失信总金额为627.84万元,有11条限制高消费信息,根据《贵州凯里开元城市投资开发有限责任公司2022年跟踪评级报告》,截至2021年底,贵州凯里开元城市投资开发有限责任公司对贵州凯里下司清江旅游开发有限公司担保余额为49800万元。
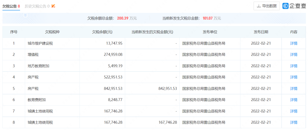
贵旅集团雷山文化旅游产业发展有限责任公司欠税公告
还有贵旅集团雷山文化旅游产业发展有限责任公司,作为贵旅集团(贵州国资委控股)旗下贵州多彩贵州城建设经营有限公司的全资子公司,该公司为雷山县苗疆盛世城市综合体项目的开发方,企查查显示,目前贵旅集团雷山文化旅游产业发展有限责任公司有8条欠税公告,欠税余额总额为200.39万元。
受疫情冲击,国内文旅产业承压不可避免,且据了解,包括黔东南苗族侗族自治州凯里宾馆、贵州丹寨丹秀文化旅游发展有限公司、贵州省黎平八舟河旅游开发有限公司等在内,近期黔东南州陷入困境的民营旅企同样不在少数,但作为地方龙头的多家国资旅企会出现如此“集体躺平”,这一现象足够引人深思。疫情因素之外,黔东南州文旅产业生态是否存在哪些沉疴顽疾待解?展望未来,这些掌握地方优质资源的国资旅企又将何去何从?对此,闻旅将保持关注。
封面源于摄图网。















