


8月23日,中国银保监会湖北监管局公布一则处罚信息,中国邮政储蓄银行股份有限公司武汉市分行被罚款3万元。
湖北银保监局机关行政处罚信息公开表(鄂银保监罚决字〔2022〕29号)显示,中国邮储银行股份有限公司武汉市分行存在以下违法违规事实:一、因管理不善导致金融许可证遗失;二、遗失金融许可证后未及时向发证机关报告;三、机构更名后未按规定换领金融许可证。中国银行保险监督管理委员会湖北监管局根据《银行保险机构许可证管理办法》第十八条第(二)项、第(四)项、第(五)项的有关规定,对邮储银行武汉市分行作出警告并罚款3万元。

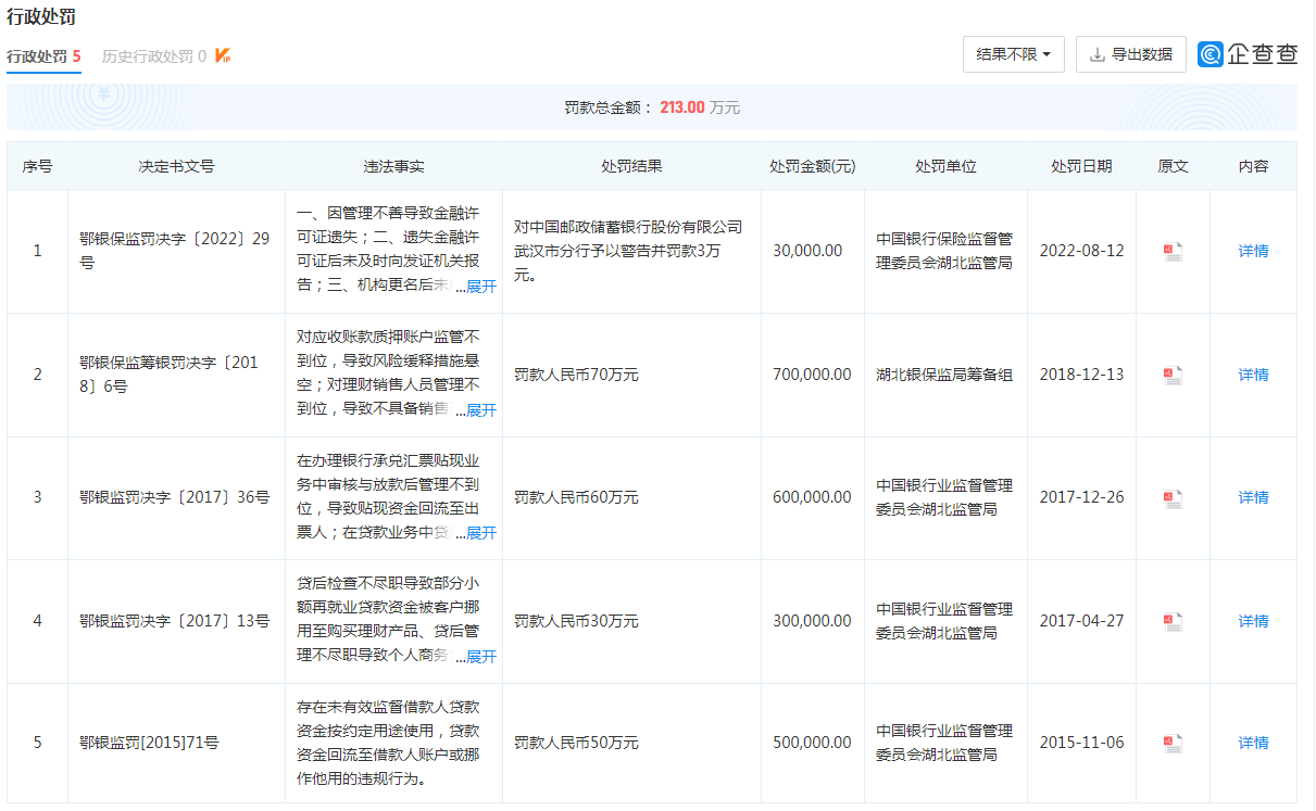
企查查数据显示,中国邮政储蓄银行股份有限公司武汉市分行成立于2008年3月19日,负责人为李晓刚,经营范围含:银行业务。该行共有5条行政处罚记录,罚款总金额213万元。
