【CNMO新闻】近些年来,餐饮业成为了企业跨界发展的重要方向。尤其是咖啡行业,更是成为了不少企业的“心头好”。此前曾有华为跨界注册咖啡商标,而后猿辅导的咖啡店也正式开启营业。近日,CNMO从企查查上发现,蔚来新注册了4枚“NIO CAFF”商标。

某品牌咖啡
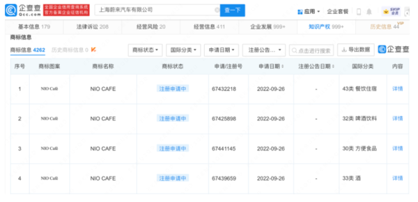
据CNMO了解,上海蔚来汽车有限公司申请注册了4枚“NIO CAFE”商标,国际分类为餐饮住宿、啤酒饮料等。当前,上述商标状态均为注册申请中。仅从商标名就能看出,此次蔚来将正式进军咖啡界。参考蔚来汽车的定位,CNMO猜测蔚来的咖啡或许将会对标星巴克等咖啡行业,走高端路线。更多有关NIO CAFF的事宜仍需等待蔚来官方公布。
蔚来申请“NIO CAFE”商标
作为国内新能源汽车的造车新势力,蔚来在新能源汽车市场已经让不少人看到了未来。而此次选择跨界咖啡行业,大概率也是看中了咖啡行业的未来发展前景。有关数据显示,国内2022年新增咖啡相关注册企业1.9万家,同比增长26.6%。而美团数据则显示,2021年我国咖啡行业市场规模达到了89.7亿元,而在2023年市场规模将继续增长至157.9亿元。不难看出,未来国内的咖啡行业将迎来蓬勃发展的时期,而蔚来提前布局该行业,想必是想吃上红利。你期待蔚来的咖啡吗?



