曾宣称“月流水约360万元,单店日流水峰值接近7万元”,网红烘焙品牌牛角村如今恐怕要“凉”了。

烘焙赛道再度传来坏消息。
近日,红餐网注意到,网红面包品牌“牛角村”总部——北京牛角村餐饮管理有限公司被市场监管部门列入经营异常名录,其董事长康健所持有的股权被冻结,牛角村旗下多家分、子公司也已出现简易注销、经营异常等问题。
之后,有不少网友在社交平台上留言称,今年牛角村已有多家店面陆续关闭,门店所剩寥寥。
遥记得一年前,牛角村还宣称“月流水约360万元,单店日流水峰值接近7万元”,如今竟这般猝不及防地退场。昔日网红,为何落得如此地步?
经营异常,董事长股权被冻结
昔日网红烘焙“落难”
公开信息显示,牛角村总部成立于2015年。2016年4月,牛角村在北京三里屯通盈中心开出第一家门店,此后一度将门店扩张到了天津、重庆、哈尔滨、郑州和深圳。
主打法式牛角包、现场烘焙,“大单品策略+现烤现制”的打法帮助牛角村在早期赢得了不少人气。
工业风装修、高端商圈选址,也逐渐成为牛角村身上的品牌标签。但真正让牛角村名气大增,蹿升为知名网红烘焙品牌则还要归功于一众明星的光环效应。
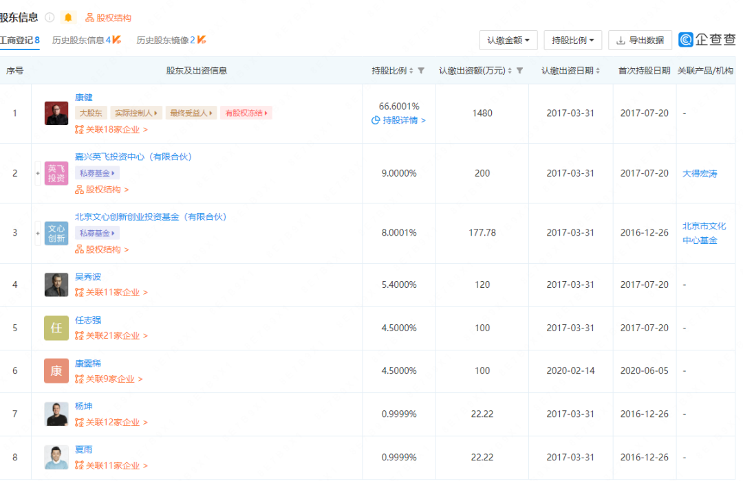
从其开业之初的宣传文案上可以看到,吴秀波、黄渤、杨坤、黄奕、蔡国庆、吴樾、吕思清、武大靖等名人都曾为其站过台。企查查信息也显示,目前牛角村的名人股东有吴秀波、杨坤和夏雨。
△图片来源:企查查
根据牛角村此前官网的宣传,其仅用了一年多时间,就在北京、哈尔滨、深圳开出了6家直营店,“月流水约360万元,单店日流水峰值接近7万元”。
然而,好景并不长久,明星效应、网红标签都未让牛角村走得更长远。
日前,有多名网友在社交平台反映称,“牛角村”北京国贸银泰店、双井乐成店、望京小街店、长楹天街店、北苑暖山生活店以及河北廊坊店已相继关停。储值卡在加盟店也无法正常使用。
红餐网注意到,牛角村公众号显示的目前门店数为19家,但实际如网友所说,其北京的不少门店已经关停。
大众点评网显示,北京以外的门店仅天津武清万达店显示营业,其余深圳、重庆店也已经关闭。牛角村通州万达店今年1月28日开业,10月26日就闭店,开业时间还不到9个月。
△图片来源:牛角村微信公众号
企查查信息也显示,牛角村公司及旗下的个别子公司、分公司被列入经营异常或被标注风险提示。
另外,值得注意的是,公司董事长康健所持有的股权目前已被冻结,公司法定代表人黄芳也被限制高消费。
昔日网红品牌缘何落得如此境地?牛角村到底经历了什么?
虚假宣传、加盟纠纷
“谎话王”牛角村翻车频频
事实上,牛角村的翻车或早有端倪。
去年年底,网上就屡有曝出“牛角村出现资金问题以及内部管理问题”等消息。
根据新京报的报道,北京一位“牛角村”加盟商表示,其2019年加盟“牛角村”,也是牛角村当时第一批加盟商,前期单店加盟费用加上押金总计投入约50万元,牛角村总部主要负责加盟授权和生产原料配送。
△图片来源:牛角村微信公众号
据该加盟商回忆,运营初期,其门店经营状况尚可。但自从总部委托第三方生产后,配送的产品质量便极不稳定,“一包货有20个牛角面团,大概有十多个都发不起来,出现大概率和大规模报损,且不给解决问题。新品研发以前一年或一个季度还能出两三个,后来研发就没人管了,总部的人基本都离职了。”
该加盟商还强调,目前,大部分加盟商门店虽在沿用“牛角村”名称,但生产和运营已完全脱离牛角村总部。有北京一位加盟商被牛角村拖欠了二三百万元的费用,牛角村公司方面给出的理由是“没钱”。
再往后,今年8月,北京市朝阳市市监局对牛角村做出罚款10万元的处罚,原因是其违反了《中华人民共和国反不正当竞争法》。
△图片来源:企查查
公开的行政处罚信息显示,牛角村官网首页宣传“目前800多家专卖店已遍及全国35省市,并且已经走出国门,走向亚洲其他国家”,经核查,牛角村最多时仅拥有28家专卖店,目前营业中的直营店6家,加盟店4家,其它店均已关闭,也未在国外设有专卖店。
官网首页宣传内容“3万平米”工厂图片,经核查,牛角村没有自建工厂,仅与北京九合食品有限公司签订过联营合作协议,总合作面积5470.7平方米,未达到3万平米。
此外,还有“6家直营店单店日流水峰值接近7万元”“斩誉无数的世界级西点烘焙大师”“拥有德国原装进口全自动智能化设备”等宣传信息存在虚假宣传或容易引人误解。
如今,牛角村的官网已无法打开。
新、老烘焙品牌皆遇“难”
烘焙赛道大洗牌
牛角村的案例只是冰山一角。近两年,烘焙赛道可谓麻烦不断。
一边是传统烘焙品牌难掩经营疲态,纷纷陷入关店潮,另一边新式烘焙品牌也仿佛遭遇“水逆”,新老品牌各有各的坎坷。
1、一批名噪一时的传统烘焙品牌黯然退场
前不久,南宁本土烘焙品牌蒂丽雪斯宣布正式倒闭和暂停营业。该品牌是南宁本地知名的烘焙品牌,成立至今已有24年,高峰期在南宁市区的直营店和加盟店达到80多家,曾有媒体报道称,蒂丽雪斯储值会员一度突破50万。
△图片来源:蒂丽雪斯微信公众号
今年7月,上海克莉丝汀陷入闭店潮,其近年经营情况不容乐观。公开信息显示,克莉丝汀的门店总数从2013年的1052家减少至目前的263家。业绩表现也每况愈下,从2013年至2021年,克莉丝汀连续9年亏损,亏损金额达13.05亿元。
3月,台湾连锁烘焙品牌85度C关闭了武汉所有门店,全面退出武汉市场。而在此之前,其已相继关闭内地多座城市的门店。
再往前,22年老品牌宜芝多从2020年开始就陷入资金危机,还被曝拖欠员工数百万工资以及多数供应商货款。2022年1月,宜芝多官方微信账号发布公告称,旗下所有直营门店均已停止营业。
△图片来源:宜芝多官方微博
“初代网红”面包新语,近两年也关店不少。
总体来看,疫情加速了一批传统烘焙老品牌的式微,但更深层的原因还在于,品牌自身的经营未能跟上消费潮流的变化。这点从网上消费者的吐槽中就可见一斑。
例如,针对克莉丝汀的闭店风波,虽然有不少消费者对其表示怀念,但更多的却是吐槽,吐槽的点集中在:价格高,味道大同小异,没有新意等。
每个时代都会有不同的消费浪潮,传统烘焙品牌如果不能抓住新的消费需求、新的客群,从产品到品牌定位都未能实现创新,必然会导致品牌竞争力的流失。
2、新式烘焙遭遇发展瓶颈
烘焙“老字号”们转身困难,新贵们也遭遇“水逆”。
今年以来,墨茉点心局收紧了扩张步伐。其公众号上显示的今年新店开业只有8家。与此同时,墨茉点心局对外披露的融资信息也停留在了去年9月。
事实上,今年以来,新中式烘焙品牌们的融资规模与此前动辄上亿元的金额相比,差距甚远。
△图片来源:鲍师傅官方微博
在红餐网看来,部分新中式烘焙品牌的衰落,大多源于其品牌运营能力的不足。近两年,整个烘焙赛道品牌不断增加,各个品牌的产品高度同质化,而许多新品牌缺乏能持续直击消费者需求的产品创新与营销玩法,一旦营销力度下降,品牌热度消散,门店就没有了生意。
眼下,部分新、老烘焙品牌遇冷已成不争的现实。那些曾高举高打、资本光环加身的烘焙品牌热度也在消退,但这并非意味着整个烘焙赛道“凉凉”了。
事实上,仍旧有一些烘焙品牌在逆势增长,他们中既有老品牌泸溪河、祥禾饽饽铺,也有新品牌东更道点心行、山河饼局等。
挤掉虚火的泡沫后,烘焙行业只是愈加归于平静。无论新、老品牌,在烘焙行业的下半场竞争中,都还有场硬仗要打。














