1.韩数万iPhone用户在向苹果索赔的诉讼中败诉
2.【专利解密】夜视丽微棱镜结构光学膜连续加工方案 实现高逆反射性能光学效果
3.涉及视频编码专利侵权禁令!法院驳回DivX请求
1、韩数万iPhone用户在向苹果索赔的诉讼中败诉

集微网消息 近日,据韩联社报道,数万名韩国 iPhone 用户周四在向苹果公司寻求赔偿的诉讼中败诉,他们指控苹果公司故意降低旧机型的性能以迫使用户购买新机型。
报道称,韩国首尔中央地区法院判决 9851 名起诉苹果的 iPhone 用户败诉,但没有给出具体的判决理由。法院还命令原告支付他们的法律费用。
2017年的苹果“电池门”可谓是闹得沸沸扬扬,当时有用户指出苹果人为降低或者限制部分iPhone机型(包括 iPhone 6、iPhone 6 Plus、iPhone 6s、iPhone 6s Plus、iPhone 7、iPhone 7 Plus 和初代 iPhone SE)的性能来维持电池的寿命。
而后有iPhone用户在2018年提起诉讼,不过当时苹果就驳斥了这项指控,并且表示降频可以避免电池过快耗电和性能问题而造成的突然关机,可以延长手机的使用寿命。同时,苹果也并未召回产品或是提供更换电池的方式,而是建议用户下载最新的软件更新解决。
原告认为,他们的 iPhone 在更新后出现了性能下降。据了解,受影响的手机是 iPhone 6 和 iPhone 7。
除了此次诉讼,据悉总共有超过 6.2 万名韩国用户对苹果提起了类似的诉讼,要求赔偿 127 亿韩元(当前约 6972.3 万元人民币),平均每个用户寻求的赔偿金额为 20 万韩元(当前约 1098 元人民币)。
代表这些用户的律师事务所 Hannuri 发表声明说,这一裁决清楚地反映了当地法律制度的局限性,即强制在审判开始时提交证据,并且缺乏集体诉讼制度。该律师事务所表示,将审查是否上诉。
据悉,苹果公司此前先是否认故意降低 iPhone 性能,但后来承认,这样做是为了保护电池续航,并辩称该措施的目的不是为了让用户购买新手机。
2、【专利解密】夜视丽微棱镜结构光学膜连续加工方案 实现高逆反射性能光学效果
【爱集微点评】夜视丽公开的具有微棱镜结构的光学膜的连续加工方案,该方案能够提高微结构膜的生产速度,具有形成的微棱镜结构质量好的优异性能,从而实现高逆反射性能的光学效果。
集微网消息,具有微棱镜阵列的反光材料由于其具有优异的逆反射性能,越来越广泛的被应用于各种道路交通安全设施、车辆被动安全防护装置、标志牌和个人安全防护用品等领域。
但是对于具有微棱镜结构的反光膜,现有技术的反光膜在微结构膜生产过程中,模具表面微结构内的气体须在高温高压下与熔融状态的基材混溶(即气液混溶体)并迅速向外表面逸散后基材熔体进入模具微结构的底部区域形成微结构膜,所以,基材熔体如何快速完美地进入模具微结构的底部区域决定着微结构膜的生产速度、模具的使用寿命以及微结构膜的产品质量。
一直以来微结构膜的生产速度、模具的使用寿命以及微结构膜的产品质量都是困扰微结构膜生产商的三大关键要素。目前国内微棱镜膜的生产速度都在0.8m/min以下,模具的使用寿命也在8000米以下,微棱镜反光膜的产品质量更是比不上国外的产品质量。
另外,现有的微微镜结构的加工中都是直接在空气环境中进行的,这样在加工的过程中由于空气环境下,即常规的是在空气环境下进行的滚压成型,在表面微棱镜结构成型过程中,模具的微棱镜结构的腔内会分布空气。这样在成型时空气在微结构中的逸出性不佳,导致基材熔体不易进入微棱镜结构腔的底部,就会导致微棱镜结构的成型质量,尤其是在微棱镜结构的底部会出现圆角等缺陷,使得到的反光膜在逆反射系数等光学性能不佳,且也会造成生产线上的生产速度变慢等问题。
因此,为了开发一种能提高微结构膜生产速度、提高模具使用寿命和提高微结构膜产品质量的生产方法,夜视丽在2022年5月25日申请了一项名为“一种具有微棱镜结构的光学膜的连续加工方法”的发明专利(申请号:202210574903.5),申请人为夜视丽新材料股份有限公司。
根据该专利目前公开的相关资料,让我们一起来看看这项技术方案吧。
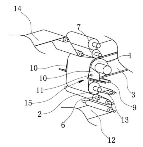
如上图,为该专利中提供的具有微棱镜结构光学膜连续加工方法的整体流程结构示意图。该结构包括有:主加热辊1、冷却辊2、微棱镜模具3、辅热辊4、水平压辊5、下压辊6、上压辊7、冷却压辊8、下挡板9、侧挡板10、氦气进气孔11、面膜12、基底膜13、引膜14以及复合膜15。
在对该光学膜进行连续加工时,首先将生产所需的面膜、基底膜和引膜分装在对应的放卷装置上,等待开机设定的各参数稳定。例如有主加热辊、辅热辊、冷却辊、风刀、主机走速所需对应的温度、电压、风速、生产速度等参数。
接着,将对应放卷辊上的基底膜和面膜分别穿好,使基底膜和面膜在张紧状态下牵引依次进入各工序。即在预热的条件下使面膜的一侧表面与基底膜的一侧表面进行复合后,再继续牵引引入到微棱镜结构的成型工序在加热下将基底膜的另一侧表面压合在微棱镜模具的表面进行滚压成型使在该表面形成微棱镜结构形成相应的半成品。
最后,将同步进入的张紧状态下连续牵引引入的引膜与上述半成品中的面膜的另一侧表面进行热复合粘合在面膜的表面,复合后再向前牵引进入冷却工序冷却后、收卷,从而得到相应的表面具有微棱镜结构的光学膜。
如上图,为加工设备的局部结构示意图。这里对面膜12、基底膜13和引膜14的牵引进入的位置进行了改进调整,使上述面膜和基底膜均从引膜的下方牵引引入,相当于是在下方从对应的放卷辊上将面膜和基底膜分别牵引引入,且使面膜和基底膜在辅热辊的加热下进行复合后(这里辅热辊的温度设置最好是控制在100℃~130℃),形成预复合使面膜和基底膜进行复合形成的复合膜。
该过程是将面膜和基底膜牵引到辅热辊和下压辊之间,通过它们压合进行复合(最好使压合位置是在辅热辊的下方水平相切位置与下压辊相切进行压合复合),再绕着该辅热辊向上牵引,使面膜与基底膜复合后形成的复合膜从下向上牵引进入滚压成型工序,使复合膜的从下向上的牵引方向与微棱镜模具的表面形成的夹角开口向下的方式。
这样相当于复合膜与微棱镜模具的表面形成呈开口向下的夹角,使基底膜下侧表面需进行微棱镜结构的成型的一侧表面与微棱镜模具的表面形成了一个“人”字型的区域,这样通入的氦气能够更有效的替换这里夹角的区域的空气。
最后,如上图,为上述加工设备结构中的下挡板与侧挡板之间的结构示意图。通过下挡板9与两个侧挡板10形成的挡气结构示意,其中的下挡板是可移动的,使用时将其倾斜向上移动至其前端靠到或靠近复合膜的内侧基底膜上即可。
而不使用时,可将下挡板沿其倾斜方向向下移出,这里可通过气缸控制,在其倾斜方向下进行移动。而两个侧挡板与下挡板之间是可分的,使用时组合在一起形成即可。这里最好使两个侧挡板与对应侧的主加热辊的侧壁之间具有间隙,间隙控制在0.3mm~0.5mm,从而更有利于形成相对封闭的空间,并有利于保持内部的氦气。
以上就是夜视丽公开的具有微棱镜结构的光学膜的连续加工方案,该方案能够提高微结构膜的生产速度,具有形成的微棱镜结构质量好的优异性能,从而实现高逆反射性能的光学效果。
3、涉及视频编码专利侵权禁令!法院驳回DivX请求
集微网消息,阿姆斯特丹地方法院驳回了数字视频技术公司DivX将初步判决与德国法院的侵权裁定相一致的请求,这意味着该法院不会在荷兰对Netflix做出同样的禁令声明。
据Juve Patent报道,在与视频流媒体巨头Netflix的纠纷中,DivX在荷兰的诉讼并不顺利。阿姆斯特丹地方法院裁定,它没有义务将其判决与德国曼海姆地区法院先前做出的侵权判决(案例编号:C/13/724642)保持一致。
据悉,2022年4月,德国法院裁定Netflix通过平台一部分的高效视频编码(HEVC)侵犯了DivX的两项专利,因此它对Netflix下达了两项禁令。
在荷兰程序法中,这种所谓的一致性规则涵盖临时救济法官原则上有义务将其判决与荷兰关于案情的平行决定或欧洲专利局的决定保持一致。然而,阿姆斯特丹法院裁定,这并不自动适用于外国判决。因此,它驳回了DivX在荷兰提出的侵权索赔。另外该法院还裁定,DivX必须向Netflix支付80676欧元的法庭费用。






