红星资本局2月20日消息,今日起,沪深交易所开始接收主板首发、再融资、并购重组在审企业申请,全面注册制正式落地实施。20日晚间,沪深交易所官网显示,已有15家主板IPO企业获得受理。
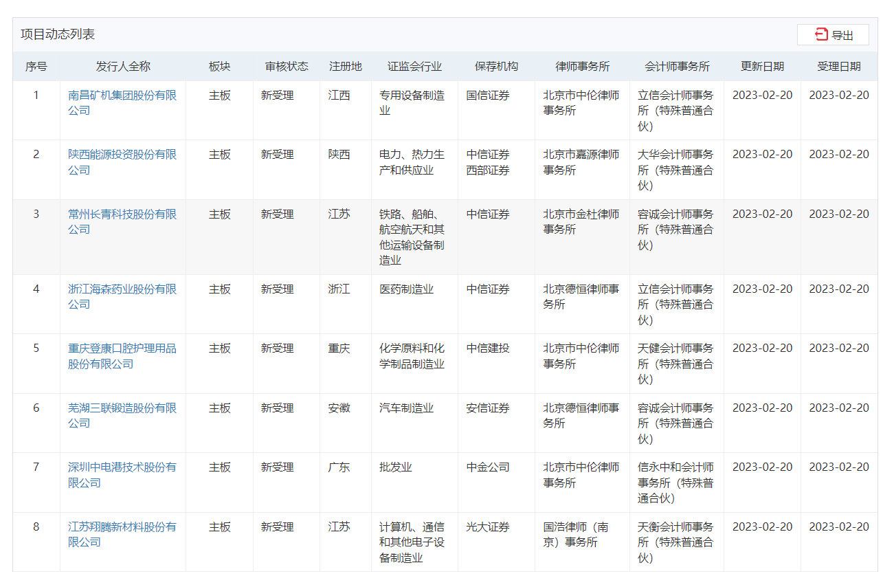
截至红星资本局发稿,深交所已接收海森药业、登康口腔等8家主板IPO企业申报材料;上交所已接收常青科技、万丰股份等7家主板IPO企业申报材料。

↑截图自深交所网站
↑截图自上交所网站
根据证监会对在审主板项目的新老划断安排,2月20日至3月3日,沪深交易所接收主板首发、再融资、并购重组在审企业提交的相关申请。3月4日起,沪深交易所开始接收主板新申报企业提交的相关申请。
编辑 余冬梅



