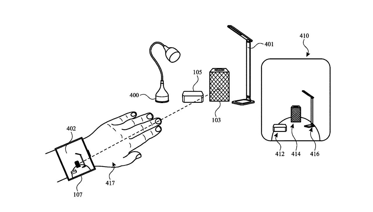
IT之家 3 月 10 日消息,设想下这样一个场景:你佩戴 Apple Watch 智能手表之后,可以通过抬手动作调高 HomePod 的音量;可以通过横扫动作来拉上智能窗帘;或者举过头顶来静音等等。这就是苹果在最新专利中构想的应用场景。

根据美国商标和专利局(USPTO)公示的清单,苹果获得了名为《多设备手势控制》(Multi-Device Gesture Control)的新专利。
专利中展示了通过在 Apple Watch 中嵌入多个传感器,来监控用户的手势,并根据手势来操控其它联网设备。
IT之家翻译专利摘要内容如下:“该电子设备可以通过将一组有限的用户手势映射到多个其他设备,特定手势可以控制某个特定元素,从而通过手势来控制多个设备的不同功能”。




