说起近期我大A吸金效应最显著的板块,相信各位库里南车主都能抢答了。除了数字经济外,那必须是“中特估”!相关个股那可谓是乘风破浪高歌猛进!
说巧也不巧,走在政策最前沿的市值风云APP,去年就推出了“中国特色估值”系列文章,挖掘了很多家被低估的优秀上市公司。

(来源:带你避雷掘金的市值风云APP)
后来的事情相信你们也都听说了,文章发表后大涨的股票已经数不过来了!还是那句话,各位炒股的王姨、赵姨、孙姨,不下载市值风云APP,真的会错过好多钱啊!
回归正题,存量资金下,一些板块走出了爹不疼娘不爱的行情,比如新能源。反观以三大运营商为首的中字头,洋洋洒洒地一路走高。
万得中字头央企概念指数(884992.WI)今年来涨幅13%,将市场上主要指数远远甩在后头。
(注:截至20230321。制图:市值风云APP)
一、中特估行情火热,“援军”即将到达战场
这波中特估行情,还得追溯到去年11月,证监会主席易会满提出“探索建立具有中国特色的估值体系”,“中特估”概念应运而生。
随后12月,中央经济工作会议提出深化国企改革;再有今年初,国资委召开的央企负责人会议提出,央企考核中新增提升ROE……
总之,政策的东风一阵阵吹起。
据统计,以2022年前三季度累计净利润计算,A股市场中,国有企业贡献近7成利润,但市值占比不到5成。
政策上的力挺,加上客观上存在的价值重估空间,“中特估”概念背后的央企、国企逐渐被市场关注。
与政策同步,去年11月26日,国新央企主题系列指数正式发布,包括:
“中证国新央企现代能源指数(932037.CSI,以下简称现代能源)”、“中证国新央企科技引领指数(932038.CSI,以下简称科技引领)”、“中证国新央企股东回报指数(932039.CSI,以下简称股东回报)”。
这三个指数与前期发布的中证国新央企综合指数(932004.CSI,以下简称综合指数),共同组成“1+N”系列央企指数。其中,综合指数反映的是沪深两市央企上市公司的整体表现。
随着中特估行情持续发酵,今年3月14日,9家头部基金公司集体上报央企主题ETF,而其背后跟踪的指数,就是去年11月发布的三大央企主题指数。
每只指数各有3家公司申报:
工银瑞信、博时、嘉实三家申报央企能源ETF指数基金;
易方达、南方、银华三家申报的是科技引领ETF指数基金;
广发、汇添富以及招商申报的是股东回报ETF指数。
(制表:市值风云APP)
市场人心开始躁动,有人认为有渠道可以分享国企改革红利了,还有另一种声音高喊,韭菜要开始接盘了。
风云君闻声赶来,给一些打算借9只ETF上车“中特估”行情的基民们,掰扯掰扯这3只指数,好让各位在被新基广告轰炸时,做到心里有数。
二、各具特色、差异化定位的三大指数
3只央企主题指数均在去年11月16日发布,因选择成分股的角度各不相同,可以满足不同板块偏好的投资者。
(注:截至20230321。制表:市值风云APP)
实际上,从命名上也能看出三大指数的不同定位。
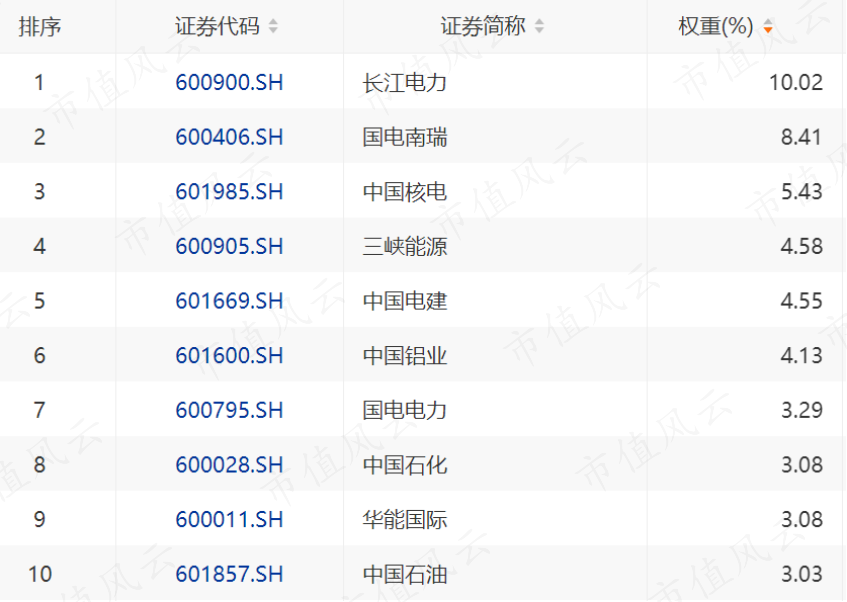
“现代能源”的50只成分股,主要选取国资委下属涉及绿色能源、化石能源、能源输配等行业的企业作为指数样本,反映的是现代能源主题上市央企的整体表现。
(注:申万二级分类。来源:Wind)
按行业分类,电力行业个股权重达45%,其中长江电力(600900.SH)10%,国电南瑞(600406.SH)为8%,前十大成分股占比50%。
总体而言,成分股中能源属性强,且以电力为核心。
(注:截至20230321。来源:Choice数据)
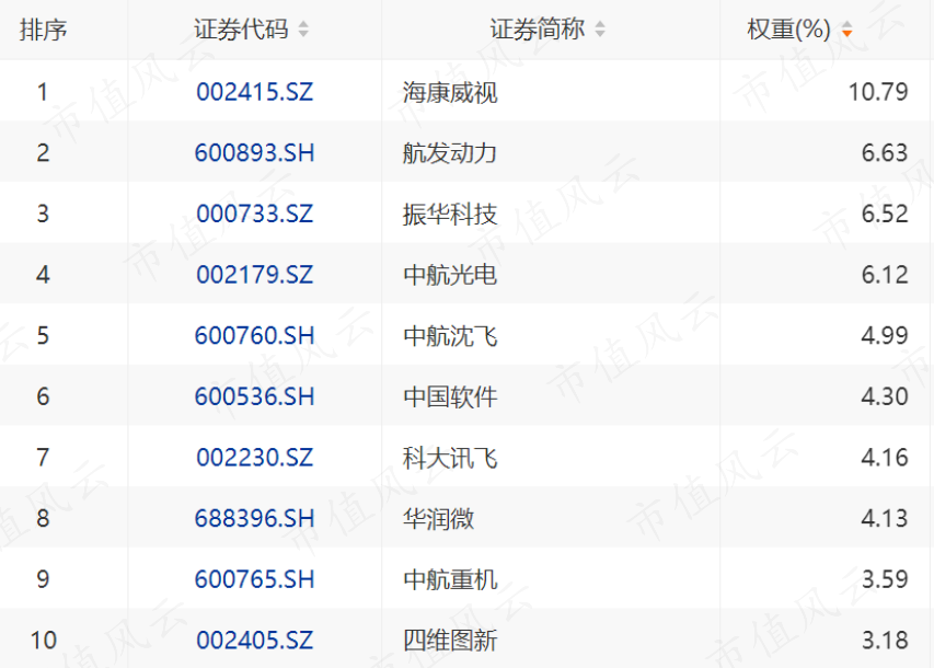
“科技引领”50只成分股,主要选取国资委下属涉及航空航天与国防、计算机、电子、半导体、通信设备及技术服务等行业的企业作为指数样本,反映的是科技主题上市央企的整体表现。
(来源:带你避雷掘金的市值风云APP)
不同于“现代能源”的是,“科技引领”行业更为分散,按申万二级行业分类,航空装备、军工电子、计算机设备等三大行业占比50%。
(注:申万二级分类。来源:Wind)
具体成分股中,安防领域的海康威视(002415.SZ)权重为11%,航发动力(600893.SH)、振华科技(000733.SZ)、中航光电(002179.SZ)等权重均超6%,前十大权重股占比54%。
总体而言,成分股中科技属性强,以国防军工为核心。
(注:截至20230321。来源:Choice数据)
此外,该指数总市值在三大主题指数中最低,仅2.4亿,远低于现代能源(5.4亿)和股东回报(6.3亿)。成分股中,六成个股市值低于300亿,因而该指数相对来说弹性更大。
(来源:带你避雷掘金的市值风云APP)
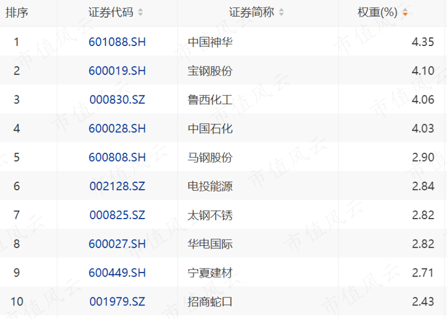
“股东回报”的50只成分股,主要选取国资委下属现金分红、或回购总额占总市值比率较高的企业作为指数样本,反映具备高分红特征上市央企的整体表现。
既然是以分红和回购作为样本选取的“锚”,自然也就意味着该指数不局限于特定行业。
因此,较前面提到的两只央企指数,“股东回报”更分散,权重最大的普钢行业占比13%,其次是电力占比近12%。
(注:申万二级分类。来源:Wind)
截至2023年3月21日,该指数暂时没有单只个股权重超5%,第一大权重股中国神华(601088.SH)占比仅4.3%,前十大权重股合计占比33%,明显低于“现代能源”和“科技引领“。
(注:截至20230321。来源:Choice数据)
总体而言,成分股以成熟行业龙头为主,稳字当头。
因而可以看到,三大央企指数将央企投资价值按不同维度进行区分,用以匹配不同的投资者类型。
看好新旧能源的投资者可以匹配“现代能源”,对国防科技等感兴趣的投资者可以匹配“科技引领”,而追求高分红的投资者可以匹配“股东回报”。
三、稳健的“股东回报”更受青睐
3只央企指数的基准日均为2016年12月30日,因而做横向的业绩比较非常方便。
截至2023年3月21日,“科技引领”和“股东回报”的点位非常接近,分别为1,477.69点和1,410.27点;“现代能源”相对较少,为1,196.41点。
(注:截至20230321,白线为现代能源、绿线为股东回报、紫线为科技引领。来源:Wind)
换言之,自2016年12月30日至今,“科技引领”和“股东回报”的累计收益率为48%和41%,“现代能源”约为20%,复合年化收益率分别为6.7%、5.9%、3%。
分年度来看:
“股东回报”在2018、2022年下跌行情里,回撤相对较低,对应的在上涨行情里涨幅也较小;
“现代能源”回撤居中,但在上涨时仅2021年跑过股东回报;
“科技引领”回撤最大,但上涨弹性也大。
(制图:市值风云APP)
从历史数据看来:
“股东回报”具备低波动、低回撤等特性,投资者持仓体验相对较好,虽在上涨时获得收益有限,但胜在稳健,年化收益在5%左右;
“创新引领”的特征是大起大落,对风险容忍度不高的投资者并不友好,年化收益6%左右;
“现代能源”收益极不稳定,可以说是开张吃三年,且年化收益最低,约2%出头。
当然,老铁可能更关心,这轮“中特估”行情中,3只指数的表现如何。毕竟最近几年,并没有出现大规模炒作央企的行情,此前的指数表现可能参考意义不大。
根据指数走势图显示,今年以来(截至2023年3月21日),“股东回报”涨幅11.4%,“科技引领”和“现代能源”则分别获得10.7%、7%的收益。
涨幅最大的“股东回报”,市盈率和市净率在三大指数中最低,分别为9倍、1倍,“现代能源”略高。
科技含量最高的“科技引领”,享受市场最多估值,市盈率为40倍,市净率为4倍。
(注:截至2023年3月21日。制表:市值风云APP)
综合来看,长期表现稳健的“股东回报”,目前获得了资金更多认可。值得一提的是,该指数是全市场首只、同时纳入了分红和回购的高股息策略指数。
提到分红,还可以联系到另外一个要点。
前面提到,央企考核指标将纳入ROE。而ROE的分子端是净利润,分母端是净资产。在利润保持一定的情况下,净资产越低,ROE越高。
因此,通过分红或回购等方式提升ROE是常规操作。
对央企而言,大多上市公司具备稳定的盈利能力和现金流获取能力,积极提高分红或进行回购,或将成为未来多数央企的常态。
比如前段时间,中国移动(600941.SH)、中国电信(601728.SH)这俩哥们同时宣布,逐步将现金分红率提升至70%以上。次日,两巨头股价大涨,市场用真金白银表示认可。
实际上,近期国企投资热度如此火热,公募早已出手布局相关产品。
其中,易方达在去年底就申请了易方达国企主题混合A/C(017987.OF/017988.OF),鹏扬基金、景顺长城、华安基金等也正在申请中。
(来源:Choice数据)
“中特估”行情走到目前为止,已有不少资金获利盘。
新基金从申报、到发行、再到募资建仓需要一定时间,且如果在市场火热的时候进场,容易买在阶段高位,这在大A市场司空见惯。
另外,按规定,募资后基金经理手中的“子弹”需在一定时间内打入市场,很大程度上会接盘已持有相同标的的存量基金抛出的筹码。
如果基民急于上车,市场上名称中带有“央企”、“国企改革”等字眼的基金,是否是不错的选择呢?






















