1.华为北斗通信专利可接收其他网络信件

集微网消息,华为于3月23日发布新品P60旗舰系列手机,新机支持双向北斗卫星消息,即在支持向外发送消息同时支持消息回复,有效实现求助方与施救方的双向联络。
据天眼查显示,3月24日,华为技术有限公司公开了多个北斗通信系统相关专利公布。
其中,“北斗通信系统中出站数据传输方法、系统及相关装置”专利可提升信道利用率。专利内容显示,本申请涉及卫星通信技术领域,公开了北斗通信系统中出站数据传输方法,可以实现终端在入站的第一用户帧中携带MCS信息,发送给北斗网络设备,指示北斗网络设备按照终端建议的MCS信息编码调制发送给终端的业务数据。这样,不用额外的信令开销,即可以完成终端反馈出站MCS给北斗网络设备,提升信道利用率。
此外华为申请的“北斗通信系统中的信箱概况查询方法、系统及相关装置”专利,可使用户在北斗网络下查询到其他用户是否有发送信件给自己。“北斗通信系统中的信件下载查询方法、系统及相关装置”专利,可使用户在北斗网络下接收到其他蜂窝网络下用户发送的信件。
2.【专利解密】安努奇提高滤波器电感品质因数
【爱集微点评】安努奇的滤波器专利,衬底采用通孔的设置方式,使得第一封装载体在与衬底连接时,可与通孔对应的上/下焊盘电连接,因此第一封装载体的高度设置更加灵活,而第一封装载体的高度直接影响电感的品质因数,所以可以设置第一封装载体的高度为电感品质因数最高时的高度,提升了电感的品质因数。
集微网消息,近日,世界移动通信大会(MWC 2023)在巴塞罗那顺利召开,在这期间云塔科技(安努奇)发布了世界最全滤波器产品。
在现代无线通信系统中,滤波器的应用极为广泛,是无线通讯射频前端中必不可少的元器件。随着5G、物联网等无线通信领域的飞速发展,滤波器的需求数量大大提升,由此对产品小型化和高性能的要求越来越高。滤波器中重要器件包括电容与电感,而电容与电感的品质因数直接影响了滤波器的性能,但现有技术中电容与电感的品质因数普遍较低。
为此,安努奇于2022年11月15日申请了一项名为“一种滤波器封装结构及其制作方法”的发明专利(申请号:202211427464.1),申请人为安徽安努奇科技有限公司。
图1滤波器封装结构100示意图
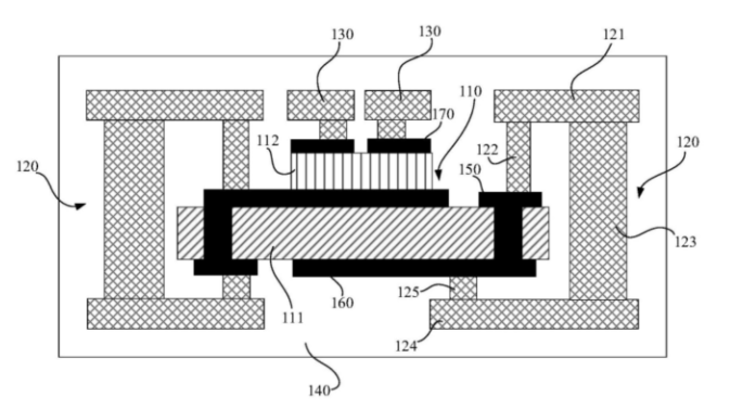
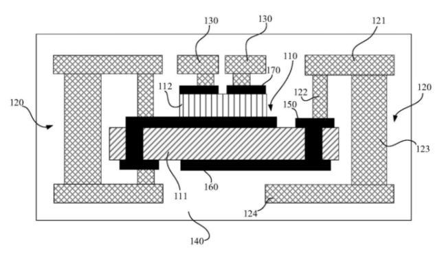
图1为本专利提出的一种滤波器封装结构100示意图,滤波器封装结构100包括电容芯片110、第一封装载体120、第二封装载体130以及第三封装载体140。其中,电容芯片110包括衬底111与电容主体112,电容主体112位于衬底111上。衬底111上设置一个至多个通孔180,通孔180内填充有金属,同时衬底111的顶面与底面均有与金属连接的上焊盘150与下焊盘160,且每个第一封装载体120分别与一个通孔180对应的上焊盘150和下焊盘160电连接,而第二封装载体130与电容主体112电连接。另外电容芯片110、第一封装载体120以及第二封装载体130均塑封于第三封装载体140内。
图2 衬底的一种俯视图
图3 滤波器封装结构的第二种结构示意图
另外,结合图1,当第一封装载体120与通孔180对应的上焊盘150与下焊盘160均电连接时,第一金属柱122与通孔180对应的上焊盘150电连接,第二金属柱125与通孔180对应的下焊盘160电连接。请参阅图2与图3,当第一封装载体120与通孔180对应的上焊盘150或下焊盘160电连接时,则第一金属柱122与通孔180对应的上焊盘150电连接,或第二金属柱125与通孔180对应的下焊盘160电连接。
图4滤波器封装结构制作方法的流程图
图4为本专利提供了一种滤波器封装结构制作方法的流程图,用于制作上述的滤波器封装结构。首先提供一电容芯片(S102);然后对电容芯片进行塑封,并形成第三封装载体(S104);接着对第三封装载体进行处理,以在第三封装载体内形成第一封装载体与第二封装载体,其中,每个第一封装载体分别与一个通孔对应的上焊盘和下焊盘均电连接,第二封装载体与电容主体电连接,且第一封装载体和第二封装载体形成一至多个感性元件(S106)。
简而言之,安努奇的滤波器专利,衬底采用通孔的设置方式,使得第一封装载体在与衬底连接时,可与通孔对应的上/下焊盘电连接,因此第一封装载体的高度设置更加灵活,而第一封装载体的高度直接影响电感的品质因数,所以可以设置第一封装载体的高度为电感品质因数最高时的高度,提升了电感的品质因数。
云塔科技(安努奇)坐落于合肥高新区创新产业园,在2017年成立之初,就汇聚半导体行业资深专家和国内外名校优秀人才创立。现如今具备自主知识产权专利已超过100项,同时多次获得安徽省荣誉奖项,相信在新的一年里,云塔科技(安努奇)可以为我们带来更多的优质产品。
3.美国NPE Longhorn IP子公司与Sonim达成专利许可协议
集微网消息,近期,美国非执业实体(NPE)Longhorn IP发布消息称,子公司Ox Mobile Technologies(OMT)已与Sonim达成专利许可协议,授权L2MT的标准基本专利。
据悉,Sonim是美国领先的超坚固移动解决方案提供商,专为在工作环境中从事关键任务的任务工作者设计。该公司的技术解决方案主要分为三类:超坚固的移动设备、工业级配件和基于云的软件和应用服务。
公开资料显示,OMT已从一家主要的中国电信设备和智能手机制造商那里获得了一系列专利,其投资组合包括与覆盖全球的4G/LTE 相关的资产,以及与智能手机实施相关的中国资产。
据了解,Longhorn IP是一家成立于2016年的专利运营公司,旗下子公司曾对HTC、三星电子、SK海力士、小米、TCL等多家公司发起专利侵权诉讼。
4.国知局发布《数字经济核心产业分类与国际专利分类参照关系表(2023)》
集微网消息,近日,国家知识产权局办公室发布了关于印发《数字经济核心产业分类与国际专利分类参照关系表(2023)》的通知。
国家知识产权局办公室指出,为贯彻落实党的二十大关于加快发展数字经济相关部署要求,助力构建数字经济统计监测体系,加强对数字经济核心产业专利规模、结构、质量的统计监测,满足各级党委、政府和社会各界相关统计需求,为科学决策和管理提供统计支撑,促进知识产权与数字经济核心产业融合发展,我局组织制定了《数字经济核心产业分类与国际专利分类参照关系表(2023)》。
以下为数字产品制造业大类中电子元器件及设备制造部分:
5.首个我国主导制定的有源光器件IEC国际标准发布
集微网消息,日前,中国电子技术标准化研究院联合中国信科集团制定的《光纤有源元件和器件-封装和接口标准 第22部分:带温度控制单元的25Gb/s直接调制激光器封装》(以下简称《标准》),由国际电工委员会(IEC)发布。该标准的发布是光通信有源器件领域第一项由我国主导制定的IEC国际标准。
该标准规定25Gb/s DML激光器封装规范,相关产品广泛应用在5G、数据中心和WDM传输网络设备,这是光通信有源器件领域第一项由我国牵头起草的光通信有源器件国际标准。光模块是网络通信中实现光电互相转换的基础单元,被视为通信网络建设中最重要的组件之一。随着全球5G通信系统迭代升级,光信号传输速率大幅提升,对波长稳定性也越来越高。
央广网消息指出,该《标准》的制定发布,不仅可在5G时代惠及我国相关上下游产业发展,也将为6G时代抢占先机奠定基础。
6.清华本科生发现诺奖背景报告公式笔误,收到来自瑞典的致谢
集微网消息,近日,清华大学物理系教授王向斌收到来自瑞典的感谢信,感谢他和学生木清(化名)发现并指出2022年诺贝尔物理学奖科学背景报告中的一处笔误。
2022年12月,清华大学电子系大二学生木清发现2022年诺贝尔物理学奖科学背景报告的量子纠缠swapping推导中第十一页最后一个公式|Psi>_{1234}似乎有些不对,木清将自己发现的问题告知了老师王向斌,王向斌帮助木清把发现的问题反馈给了瑞典皇家科学院,对方诚挚接受并按照建议更新了报告版本。
量子纠缠是一种奇特的量子力学现象,此前三位科学家因开创性实验,展示了处于纠缠状态的粒子潜力,获得诺贝尔物理学奖。



















