据央视新闻5月3日报道,2023年5月2日14时许,陕西龙翼通用航空有限公司一架小型民用直升机在西安市灞桥区狄寨原附近坠落,机上三人不幸遇难,救援工作已经结束。善后处置工作正在开展,事故原因正在加紧调查中。
据中国青年报青蜂侠,5月2日,有网友爆料称,西安白鹿仓景区一架直升机坠落。
现场视频显示,坠落的直升机有受损。另一段视频中有人称“白鹿仓的直升机掉到了村民的樱桃地里了”,并提醒围观人员不要轻易触碰,现场有人报警。

事故现场(社交平台视频截图)
据公开资料显示,白鹿仓景区位于西安灞桥区,该景区含有直升机飞行体验项目。
3日上午,极目新闻记者致电该景区,工作人员表示景区目前正常营业,直升机飞行体验是一个外包项目,事故具体情况需咨询运营方。随后,记者多次拨打景区提供的运营方电话,无人接听。
事故现场(社交平台视频截图)
记者从灞桥区警方获悉,事故发生当天,辖区派出所有出警处理此事。
灞桥区应急管理局工作人员表示,事故发生后,区应急局等有关部门人员已到现场开展救援工作,具体救援进展及事故原因,需咨询灞桥区宣传部门,“我们从昨天(2日)到现在一直在开展相关工作。”
另据九派新闻报道,龙翼通航工作人员表示,接到民航局通知,辖区内所有项目均已停飞。相关资料显示,陕西白鹿仓景区飞行营地主要机型为贝尔206直升机,该机型最多承载5人。
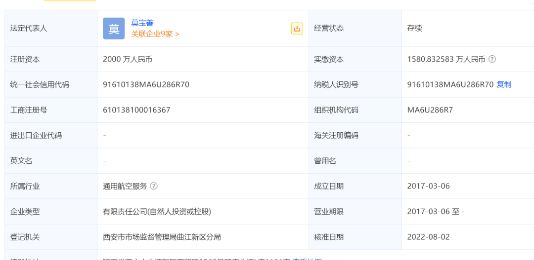
据启信宝APP,陕西龙翼通用航空有限公司于2017年03月06日成立,为陕西航空集团主公司。
公司信息
法定代表人莫宝善,公司经营范围包括:民用航空器及航材销售;航空技术服务;飞机租赁;飞行模拟器研发及销售;会展服务;机场建筑工程的设计、施工;机场的运营、管理;货物及技术的进出口业务(国家禁止或者限制进出口的货物和技术除外);农用科技的研发、技术咨询及技术转让;体育用品的销售等。
公司信息
延伸阅读:
涉事航司:辖区内所有项目均已停飞
5月2日,有网友拍摄视频显示:一架直升机坠落在陕西省西安市白鹿仓景区。在视频拍摄的现场画面中可以看到,一架白色的直升机机身受损明显,周围有很多被压断的树枝。据视频拍摄者称,是白鹿仓的直升机掉到村民的樱桃地里了。当日,该事件引发媒体关注,当地有关部门回应称,目前正在处理此事。
3日,记者从事故现场接诊的医院获悉,事故中有3人救治无效身亡。据公开资料显示,白鹿仓景区位于西安市灞桥区,该景区含有直升机飞行体验项目。白鹿仓景区工作人员表示景区目前正常营业,直升机飞行体验是一个外包项目,事故具体情况需咨询运营方。
据了解,该景区白鹿仓飞行营地的运营方为龙翼通航,龙翼通航工作人员表示,接到民航部门通知,辖区内所有项目均已停飞。截至发稿前,记者从灞桥区有关部门获悉,具体事故原因正在调查。





