1、瑞昱在美发动诉讼战 联发科回应:已进入美国司法程序 对公司无重大影响
2、中国企业再次遭受恶意抹黑 ADVA声称华为违反FRAND承诺
3、黑莓专利技术出售遭第三方插手 Catapult IP怒将Malikie告上法庭
4、荣耀“触控显示面板、驱动方法及触控显示装置”专利获授权
5、时创意“存储芯片和固态硬盘”专利获授权
1、瑞昱在美发动诉讼战 联发科回应:已进入美国司法程序 对公司无重大影响

集微网消息,针对瑞昱在美对联发科发动反垄断诉讼,指控联发科与专利主张实体(PAE)联手利用琐碎且成本高昂的诉讼骚扰瑞昱的相关报道,联发科6月8日发布公告称,该案已进入美国司法程序,本公司将依法提出事证,进行答辩。该诉讼案件对本公司无重大影响。
联发科指出,媒体报道的诉讼指控与事实不符,所谓与专利主张实体(PAE)联手利用诉讼骚扰等指谪均属曲解,若因为不实指谪或报道造成本公司任何损害,将依循法律途径保护本公司的权利,绝不宽待。
据悉,外媒报道称,瑞昱6月6日在提交给美国加州北区联邦地区法院的诉状中主张,联发科在2019年与知识产权管理公司IPValue Management旗下子公司Future Link Systems达成协议,鼓励Future Link对联发科的竞争对手瑞昱发动专利战。瑞昱在诉状中也将Future Link与IPValue列为被告,并把它们比为受雇佣的打手。
2、中国企业再次遭受恶意抹黑 ADVA声称华为违反FRAND承诺
集微网消息,5月9日,德国通信技术公司ADVA将华为告上美国法庭,声称华为试图向其许可光传输网络和数字网的标准必要专利,而在该过程中,华为违反了FRAND原则,并拒绝向华为支付其不需要的专利使用费用。
据了解,其认为华为违反的FRAND原则包括:
1)试图向ADVA索取严重过高或超竞争性的使用费,以获得其所谓的OTN和DC SEP的许可;
2)要求ADVA为事实上对ITU-T标准并不重要的专利支付专利费;
3)将必要的和非必要的专利捆绑在一起,并要求ADVA为其不需要许可的专利支付使用费。
ADVA详细列出了它与华为之间从开始谈判到最终未能达成一致,走上法庭的整个邮件和谈判的过程信息。然而,华为在许可谈判中,无论从以实施人的身份进行谈判,还是后来转变为权利人的身份进行许可谈判,都有丰富的许可经验。尤其是对于FRAND行为的把控具有世界级水平,这一点已经在华为和中兴通讯进行为期多年的FRAND之争后得到了证明。
据悉,ADVA在起诉书中试图将华为与中国政府和军方挂钩,而该手段也成为近来中国企业在美国遇到专利侵权案件时的普遍现象。虽然ADVA提出了这项诉讼,但其对华为许可谈判的细节描述总结显示,ADVA依旧存在拒绝妥协的可能性。
3、黑莓专利技术出售遭第三方插手 Catapult IP怒将Malikie告上法庭
集微网消息,近日,加拿大知名科技公司黑莓的专利出售一事,经历了一波三折。起初,黑莓计划出售一些非核心传统专利给Catapult IP Innovations 公司,总价值达6亿美元,其中包括4.5亿美元现金和1.5亿美元本票形式。
Catapult IP Innovations 公司注册在美国特拉华州,是为了这笔收购而专门注册的公司。其为此次收购的主要资金是一笔4.5亿美元的高级担保定期贷款,该公司已从多伦多Third Eye Capital为首的贷款机构获得4亿美元的有条件承诺。
但由于Catapult IP筹措资金遇到麻烦,交易一度搁浅。黑莓随后向其他买家探索机会,并将以9亿美元的高价出售主要与移动设备相关的专利。其中,Malikie Innovations 公司将从黑莓手中购买价值2亿美元的专利。据悉,此次交易共分为两个部分,分别是交易结束时支付的1.7亿美元现金和三年后再支付的3000万美元。同时,黑莓将从专利产生的利润中获得一年度的现金版税。
然而,由于前期交易的失败,最初计划购买黑莓专利的Catapult IP Innovations 公司将Malikie Innovations 公司告上了法庭,指控黑莓违反了原本的合同。目前,相关诉讼正在进行中,并等待进一步处理。
“爱集微知识产权”由曾在华为、富士康、中芯国际等世界500强企业工作多年的知识产权专家、律师、专利代理人、商标代理人以及资深专利审查员组成,熟悉中欧美知识产权法律理论和实务。依托爱集微在ICT领域的长期积累,围绕半导体及其智能应用领域,在高价值专利培育、投融资知识产权尽职调查、上市知识产权辅导、竞争对手情报策略、专利风险预警和防控、专利价值评估和资产盘点、贯标和专利大赛辅导等业务上具有突出实力。在全球知识产权申请、挖掘布局、专利分析、诉讼、许可谈判、交易、运营、一站式托管服务、专利标准化、专利池建设等方面拥有丰富的经验。我们的愿景是成为“ICT领域卓越的知识产权战略合作伙伴”。
4、荣耀“触控显示面板、驱动方法及触控显示装置”专利获授权
集微网消息,天眼查显示,荣耀终端有限公司“触控显示面板、驱动方法及触控显示装置”专利获授权,授权公告日为6月6日,授权公告号为CN115016667B。
图片来源:天眼查
专利摘要显示,本申请提供了一种触控显示面板、驱动方法及触控显示装置。涉及显示技术领域,可以提高触控的灵敏度,提高用户体验。该触控显示面板包括:多个触控电极;触控电极用于接收触控扫描信号;至少一个辅助电极,与触控电极电连接,用于在触控电极接收触控扫描信号时向触控电极提供辅助信号;其中,辅助信号和触控扫描信号相同。
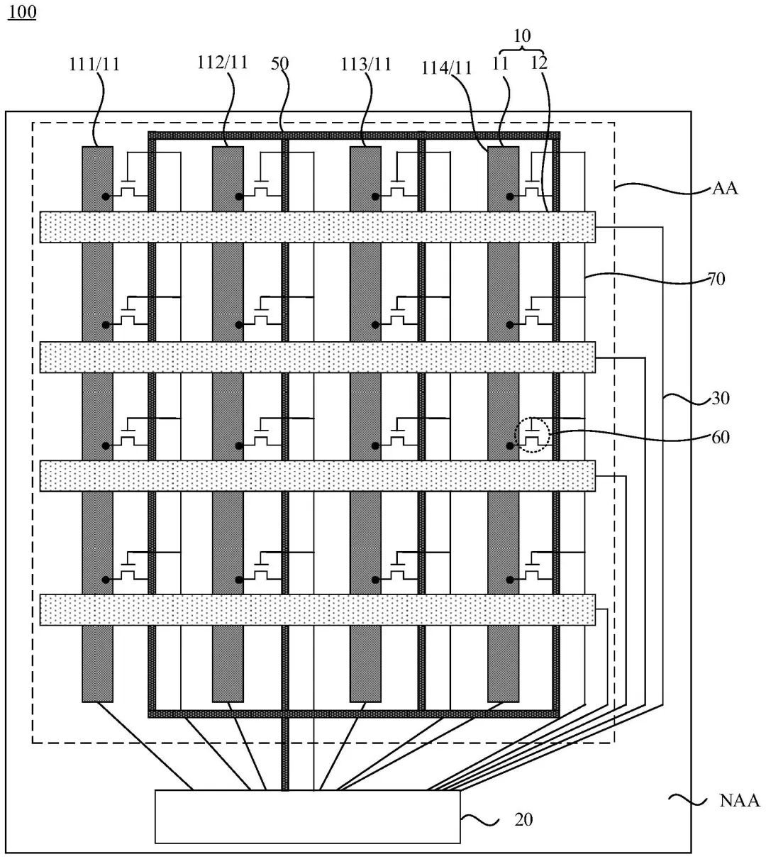
5、时创意“存储芯片和固态硬盘”专利获授权
集微网消息,国知局消息显示,深圳市时创意电子有限公司“存储芯片和固态硬盘”专利获授权,授权公告日为6月6日,授权公告号为CN219144174U。
图片来源:国知局
专利摘要显示,本申请公开了一种存储芯片和固态硬盘,存储芯片的基板划分为晶圆封装区和焊盘封装区,晶圆封装区包括第一晶圆封装区和第二晶圆封装区,焊盘封装区包括所述第一焊盘封装区、第二焊盘封装区、第三焊盘封装区和第四焊盘封装区,分别设置在第一晶圆封装区的两侧和第二晶圆封装区的两侧;第一晶圆封装区内的第一晶圆分别通过键合走线连接至第一焊盘封装区和第二焊盘封装区的焊盘;第二晶圆封装区内的第二晶圆分别通过键合走线连接至第三焊盘封装区和第四焊盘封装区的焊盘。
据悉,本申请将基板两侧的焊盘分散至四个焊盘封装区,从而减少基板边缘的焊盘的数量,降低基板边缘的焊盘密度,从而降低基板的设计难度。
中国芯上市公司薪酬、人员、业绩等分析:
1.30%企业下降,中国芯上市公司人均薪酬最高近百万,最低不足十万
2.30家中国芯上市企业在裁员!近半数裁员幅度超10%
3.近7成净利下滑,A股150家半导体公司Q1业绩揭晓




