
图源:摄图网
7月26日,据华为中国官方公众号消息,华界智行光储充样板点正式发布。
据介绍,东莞华界智行汽车销售服务有限公司将携手华为打造“一站式华为终端产品超级体验中心”,这也是全国最大的鸿蒙智行超级体验中心,将可实现“充电一秒一公里”、“一杯咖啡满电出行”的体验,官方指出,寮步鸿蒙智行光储充项目的亮点之一,即是“让新能源车用新能源电”。
据介绍,东莞华界智行引入了华为光储充一体化解决方案,具备光伏转换技术、高效储能系统及智能充电管理等功能,还应用了华为全球首款风液智冷储能新品 ——LUNA2000-215-2S1。
官方估计,寮步鸿蒙智行光储充项目安装615kW光伏、2套华为液冷储能系统以及2套超充设备,每年能产生67万度绿电,储能错峰发电26万度,既满足节能减排与降碳需求,又为用电高峰提供保障,实现电力成本优化。
根据前瞻产业研究院整理,目前主流的储能电池有锂离子电池、铅蓄电池、钠离子电池及液流电池。其中,锂离子电池及铅蓄电池技术较为成熟,钠离子电池正加快商业应用部署,液流电池正加速示范应用。
液流电池技术路径包括全钒液流电池、铁铬液流电池、锌溴液流电池等,其中,全钒液流电池综合性能最佳、商业化程度最高,液流电池是长时储能最具竞争优势的技术。根据GGII披露的信息,我国液流电池产业已经进入产能爆发增长期,2023年液流电池产能达6GW/年(含爬坡产能),23家液流电池产业链企业投资金额超过420亿元,产能规划达18.98GW,2025年我国液流电池产能有望跃升至30GW/年。
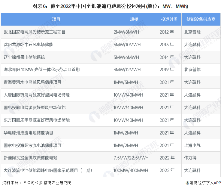
2021年以来国内已有数个百MWh级别的大型全钒液流电池项目陆续启动。2022年10月底,由大连融科建设的首个国家级大型化学储能示范项目大连恒流储能电站一期100MW/400MWh正式并网发电,是迄今全球功率最大、容量最大的百兆瓦级液流电池储能调峰电站。
刘科院士在2023中国国际新型储能发展峰会上谈新型储能发展时表示,液流电池或成为未来主流。
有储能电池行业人士预测,至2050年长时储能储电量占比将达95%。就全钒液流技术路线来看,目前我国从事相关领域布局的企业已超200家。





