
天职国际
天职国际会计师事务所(特殊普通合伙)(下称“天职国际”)31个在审项目集体搁浅。
近日,沪深北交易所先后更新的发行上市审核信息显示,被证监会暂停从事证券服务业务6个月的天职国际,在审项目出现“中止潮”。其中,上海证券交易所(下称“上交所”)官网显示,天职国际的7个IPO项目、4个再融资项目审核状态更新为中止,1个IPO项目的审核状态更新为终止。
深圳证券交易所(下称“深交所”)方面,天职国际的8个IPO项目、3个再融资项目和2个重大资产重组项目的审核状态更新为中止,1个再融资项目审核状态为终止(撤回)。北京证券交易所(下称“北交所”)方面,天职国际有5个IPO项目的审核状态为中止。
8月16日晚间,证监会公布的行政处罚决定书表示,对天职国际罚没共计2707.54万元,并处暂停从事证券服务业务6个月。
根据《股票发行上市审核规则》,如果IPO企业的保荐人、证券服务机构被中国证监会依法采取限制业务活动、责令停业整顿、指定其他机构托管或者接管等措施,尚未解除的,需要中止发行上市审核。
具体来看,上交所官网显示,目前在发行上市方面,天职国际共有7个项目的审核状态更新为中止。其中,5个为主板项目,分别涉及扬州天富龙集团股份有限公司、财信证券股份有限公司、上海友升铝业股份有限公司、苏州高泰电子技术股份有限公司、陕西省水电开发集团股份有限公司。
2个为科创板项目,分别涉及广州必贝特医药股份有限公司、长沙北斗产业安全技术研究院股份有限公司。
此外,发行上市板块为科创板的湖南兴天电子科技股份有限公司项目,目前审核状态为终止。
再融资方面,目前有4家公司的项目状态更新为中止,分别为滨化股份(601678)、华锐精密(688059)、松井股份(688157)、中远海特(600428)。
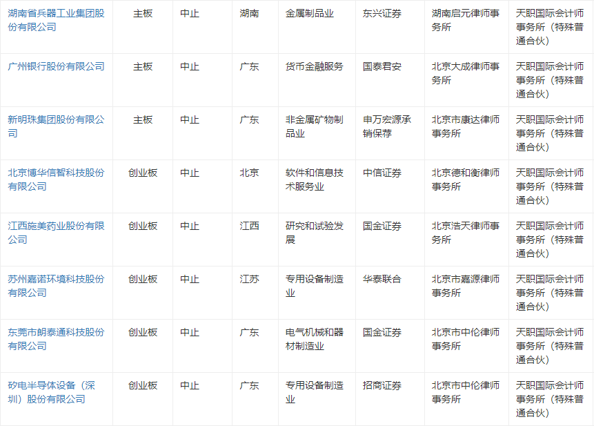
深交所官网显示,目前审核状态更新为中止的天职国际项目,IPO方面共有8家。其中,主板项目有3个,分别为湖南省兵器工业集团股份有限公司、广州银行股份有限公司、新明珠集团股份有限公司。
创业板项目有5个,分别涉及北京博华信智科技股份有限公司、江西施美药业股份有限公司、苏州嘉诺环境科技股份有限公司、东莞市朗泰通科技股份有限公司、矽电半导体设备(深圳)股份有限公司。
再融资方面,天职国际有4个项目的审核状态更新为中止,分别为恒帅股份(300969)、太阳能(000591)、江苏神通(002438)。此外,京北方(002987)的审核状态为终止(撤回)。
重大资产重组方面,天职国际相关的2个项目审核状态更新为中止,分别为维信诺(002387)、路畅科技(002813)。
北交所方面,天职国际的5个项目审核状态更新为中止,分别为能之光(873715)、奥美森(873044)、锦华新材(874085)、珠海鸿瑞(839036)、大鹏工业(873739)。
8月16日,证监会公布的行政处罚决定书显示,天职国际在江西奇信集团股份有限公司(下称“奇信股份”)年报审计中未勤勉尽责和伪造、篡改、毁损审计工作底稿行为进行了立案调查、审理,本案现已调查、审理终结。
证监会行政处罚书指出,经查明,天职国际存在两方面违法事实:一是在奇信股份年报审计中未勤勉尽责,制作、出具的审计报告存在虚假记载;二是伪造、篡改、毁损审计工作底稿。根据违法行为的事实、性质、情节与社会危害程度,证监会决定:对天职国际责令改正,给予警告,没收业务收入367.92万元,处以2339.62万元罚款,并处暂停从事证券服务业务6个月。



