
财联社11月27日讯(记者 邹俊涛)11月26日晚,中国平安人寿保险股份有限公司(下称“平安人寿”)在官网发布《关于大额未上市股权投资的信息披露公告(签署协议阶段)》显示,公司正在进行重大投资事项。
根据公告,平安人寿于2024年11月21日与浙江盈德控股集团有限公司(下称“浙江盈德”)、杭州盈德气体有限公司(下称“杭州盈德”)签署《关于浙江盈德控股集团有限公司之收购协议》、《关于杭州盈德气体有限公司之股东协议》,参与投资金额为人民币37.5亿元,为首次投资。该报告未披露更多有关投资细节。
11月27日,财联社记者向平安人寿相关人士咨询后获悉,上述投资事项尚处于签署协议阶段,目前没有更多信息可以披露,后续交割完毕后,将会披露完整的标的和股权占比信息。
财联社记者注意到,更多相关信息显示,上述投资或与近期市场关注的国内工业气体龙头杭氧集团股份有限公司(证券简称“杭氧股份”)与气体动力科技整合交易生变有关。
天眼查信息显示,除了平安人寿以外,阳光人寿也参与杭州盈德增资。不过,财联社记者今日查询,截止目前,阳光人寿官网尚未发布有关大额未上市股权投资的信息披露公告。
国内工业气体龙头整合交易近期生变
据了解,2017年,亚洲知名私募股权投资基金太盟投资集团将国内工业气体龙头盈德气体私有化,2018年,其又取得了宝钢气体的控制权,并将盈德气体和宝钢气体整合为气体动力科技。2021年,气体动力科技曾递表港交所,但最终未能成功上市。根据气体动力科技招股书,该公司在国内工业气体行业排行第一位。
2023年5月,国内第五大工业气体公司杭氧股份发布公告称,公司间接控股股东杭州市国有资本投资运营有限公司(下称“杭州资本”)与其他投资人、盈德香港以及气体动力科技签署协议,约定杭州资本与其他投资人将设立一家特殊目的公司(SPV1),并通过SPV1收购盈德香港旗下的浙江盈德控股集团有限公司(即上文平安人寿公告中提到“浙江盈德”)100%股权。
当时公告称,在收购完成后,杭州资本将成为SPV1的第一大股东,持有其30%的股份。杭州资本当时承诺,将在交易完成后的36个月内推动SPV1与杭氧股份进行资产重组。
不过,就在今年11月22日,杭氧股份发布公告称,因此前协议约定的交割先决条件未能满足,数家投资人与卖方(即太盟投资集团)另行签署交易协议,约定成立一家新的特殊目的公司(SPV)(公告中称为“买方SPV2”)来收购标的资产(即气体动力科技工业气体业务)100%的股权。而这也导致原有的交易方案终止。
值得关注的是,新的交易协议签署时间为2024年11月21日。
△截图来着杭氧股份发布公告
在新的协议中,杭氧股份间接控股股东杭州资本将以有限合伙人(LP)的身份出资成立杭州杭盟管理咨询合伙企业(有限合伙)(下称“杭州杭盟”),杭州杭盟在前述SPV2中持股19.55%,不会成为SPV2的第一大股东,杭州资本也不拥有SPV2的董事席位,并将不再享有对收购公司的决策权和管理权。也因此,原定的资产整合计划将出现重大不确定性。
有市场消息称,上述签署协议约定新成立的特殊目的公司(SPV2)正是杭州盈德。不过,该消息未获官方证实。
杭州盈德刚完成超186亿元增资,平安人寿有参投
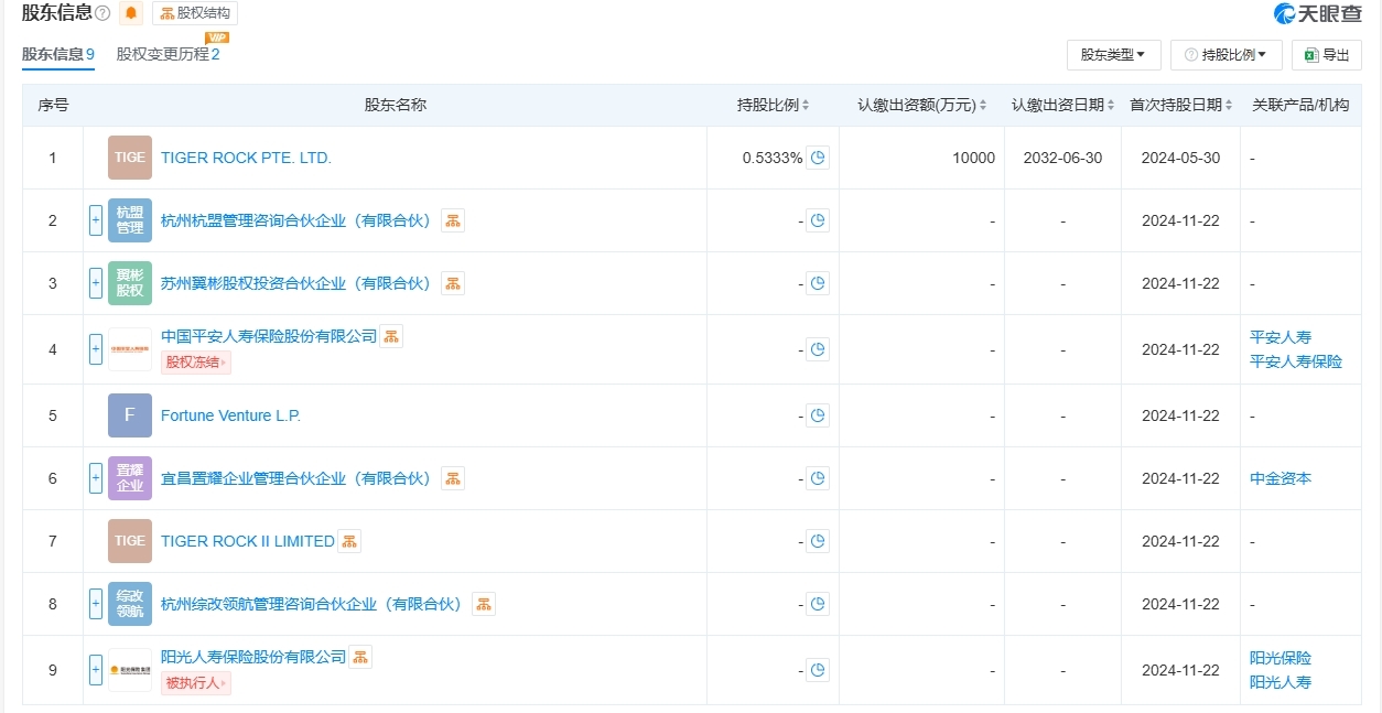
天眼查工商信息显示,杭州盈德为今年5月30日注册成立,位于浙江省杭州市,是一家以从事仪器仪表制造业为主的企业,初始出资人为TIGER ROCK PTE.LTD.;注册资本10000万元人民币。TIGER ROCK PTE. LTD为外资企业,更多信息无法查询。
11月22日,杭州盈德迎来首度增资,注册资本由10000万元人民币增加至1875000万元人民币。市场主体类型也由“有限责任公司外国法人独资”变更为“有限责任公司(外商投资、非独资)”。
值得关注的是,平安人寿作为新股东参与了增资,此外还有杭州杭盟管理咨询合伙企业(有限合伙)(即杭州杭盟)、苏州翼彬股权投资合伙企业(有限合伙)、Fortune Venture L.P.、宜昌置耀企业管理合伙企业(有限合伙)、TIGER ROCK II LIMITED、杭州综改领航管理咨询合伙企业(有限合伙)、阳光人寿保险股份有限公司等7家新股东加入。其中,宜昌置耀企业管理合伙企业(有限合伙)为中金公司成员企业。
天眼查工商信息显示,目前,除了披露TIGER ROCK PTE.LTD.持股比例为0.5333%、认缴出资额10000万人民币以外,其余8家新进股东的出资金额及持股比例尚未披露。
△截图来自天眼查





