小米首款SUV车型小米YU7终于在昨晚正式亮相,官方发布了与小米SU7并排展示的外观图。从整体设计来看,小米YU7可视为小米SU7的纵向拉长版,前脸和尾部设计均进行了比例上的延伸和提升。外观设计较为简洁,符合现代SUV的流线型特点。作为一款注重实用性和多人乘坐体验的车型,YU7预计将在明年六七月份上市,但具体售价尚未公布。

今日雷军又发布了更多小米YU7的官图
小米YU7的推出迅速成为热议话题,在社交平台上登上了微博热搜榜。许多网友对其外观设计给出了积极评价,认为它的外型既现代又有辨识度,可能会引发一车难求的现象。此外,部分网友还调侃称YU7的名字与“玉妻”谐音,玩笑称这是“男人的第二个妻子”,称小米的命名功力非凡。这也使得小米YU7的热度不断攀升。
针对小米YU7的起售价,一些汽车博主推测,该车型可能会比小米SU7的定价贵3到5万元。考虑到SU7已经具备较高的市场关注度和一定的销售成绩,因此YU7的价格区间或许会与其相似或略有上浮。对于这款新车的市场定位,消费者们的预期相对较高,尤其是那些更注重车辆实用性的用户。
不少网友都在吐槽小米YU7这次采用隐藏式门把手
然而,YU7的外型设计并非没有争议。与小米SU7不同的是,工信部的证件照显示,YU7放弃了半隐藏式门把手,改用了全隐藏式设计。这一变化引发了网友的热议,尤其是一些曾经认可小米SU7门把手设计的车主表示不满。雷军的微博评论区里,不少人希望小米能够重新考虑这一设计,甚至呼吁恢复SU7的半隐藏式门把手。
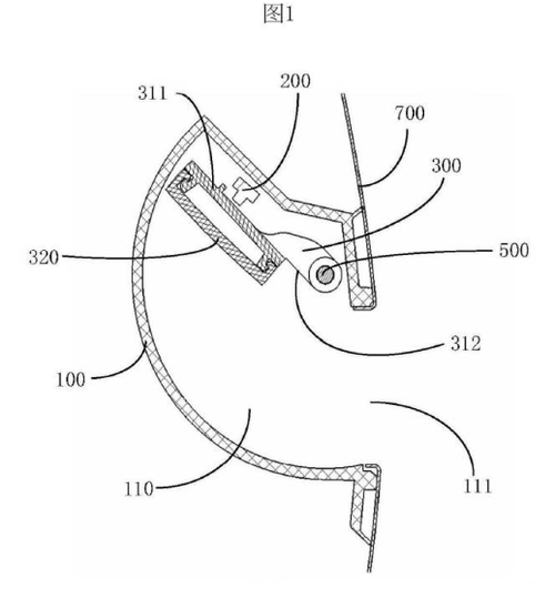
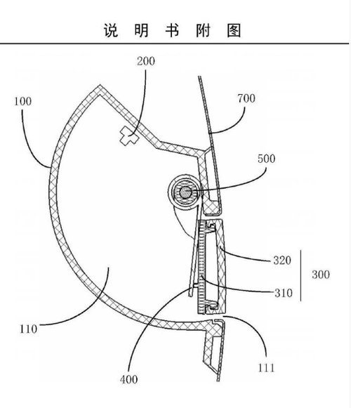
尽管如此,根据小米之前申请的专利文件,有网友推测,YU7的门把手可能并非外界所认为的弹出式设计,而可能只是一个盖子,打开后用户可以伸手拉开车门,这或许是SU7半隐藏式门把手的升级版。对此,尽管有不少猜测,但截止发稿时,小米官方尚未明确公布有关YU7门把手的最终设计细节,因此这一部分仍然存在不小的悬念。
根据工信部的信息,小米YU7的尺寸为4999mm长、1996mm宽、1600mm高,轴距达到3000mm,整车质量为2405kg。它搭载了前后双电机,电动机功率分别为YS210XY103和TZ220XY109,综合最大功率达到508千瓦。这样的动力配置意味着小米YU7具备了相当强的性能,预计将成为市场上竞争力较强的一款电动SUV车型。
那么,大家更喜欢小米SU7的半隐藏式门把手,还是小米YU7的隐藏式门把手设计呢?










