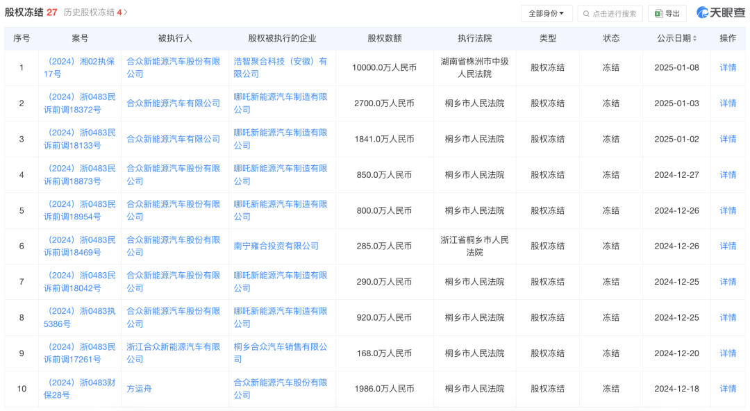
据天眼查官网,1月8日,哪吒汽车关联公司合众新能源汽车股份有限公司新增一条股权冻结信息,股权被执行的企业为浩智聚合科技(安徽)有限公司,被冻结股权数额1亿人民币,冻结期限自2025年1月8日至2028年1月7日,执行法院为湖南省株洲市中级人民法院。

天眼查App显示,浩智聚合科技(安徽)有限公司成立于2023年9月,法定代表人为彭庆丰,注册资本1亿人民币,经营范围含汽车零部件研发、汽车零部件及配件制造、仪器仪表销售、软件开发、人工智能应用软件开发等,由合众新能源汽车股份有限公司全资持股。
天眼风险信息显示,合众新能源汽车有限公司现存多条股权冻结信息。近日,该公司新增一条股权冻结信息,股权被执行的企业为哪吒新能源汽车制造有限公司,冻结股权数额10亿人民币,冻结期限自2025年1月3日至2028年1月2日,执行法院为浙江省嘉兴市桐乡市人民法院。
此外,该公司还现存1条被执行人信息,执行金额超911万。
图源:VCG
哪吒汽车近期风波不断,1月6日凌晨,哪吒汽车官网出现异常,打开后的页面显示“系统维护中,请稍后再试”。
6日下午16时许,@哪吒汽车 发文回应:“在收到用户反馈后,我们技术人员在第一时间修复官网,目前已恢复正常。对于网络上的倒闭谣言,我们已截图取证。”
随后,哪吒汽车官网已经可以正常访问。
1月8日,@哪吒汽车法务部 再发声明,称此前哪吒汽车官网因技术原因出现短暂无法访问的情况,“在此期间部分自媒体借官网异常事件,发布不实言论,严重误导公众。对恶意编造事实对哪吒汽车品牌造谣抹黑的部分自媒体,公司已经取证,并采取了必要的法律手段维护自身权益。”
哪吒汽车是合众新能源汽车股份有限公司(下称“合众新能源”)的汽车品牌,后者成立于2014年10月,法定代表人为方运舟,注册资本28.37亿元。
此前,2024年11月,哪吒汽车被曝出大规模裁员、工厂停摆等消息。
2024年12月上旬,哪吒汽车CEO张勇辞职,转任哪吒汽车公司顾问,哪吒汽车创始人、董事长方运舟兼任公司CEO。12月中旬,方运舟被桐乡市人民法院冻结股权数额1986万元,股权被执行的企业为合众新能源汽车股份有限公司。
微信编辑:吴祈
审核:林夕合



