2024年的房地产市场,可谓是风起云涌。这一年,房地产市场持续调整,市场供求关系也发生着重大转变;这一年,政策主基调持续“宽松”,从降低房贷利率到取消购房资格限制;这一年,土地市场成交规模延续缩量,民营房企开始返场拿地……
2024年,长沙楼市又交出了一份怎样的年中答卷呢?凤凰网房产推出“2024长沙楼市年终盘点”,一起回顾这一年的楼市变幻。
从全年土地出让情况来看,2024年,长沙土地市场供应成交相对平稳,民营企业逐渐在土地市场中活跃……
98宗经营性用地 揽金约281亿元
据统计,2024年,长沙六区一县共成交98宗经营性用地,包括51宗住宅用地、9宗商住用地和38宗商业用地,总成交面积约399.8万方,总成交金额约281亿元.
从区域来看,长沙县是2024年土地市场成交地块最多的区域,成交57宗地,排在第二的是岳麓区,2024年成交12宗地,另外,望城区成交8宗地块,天心区成交7宗地块,开福区6宗,芙蓉区和雨花区各4宗地块。
值得关注的是,除了之前在长沙活跃的房企外,2024年的长沙土地市场还迎来了几个新面孔,包括能建城发、常宁万象地产、四川邦泰地产和衡阳汇方地产。
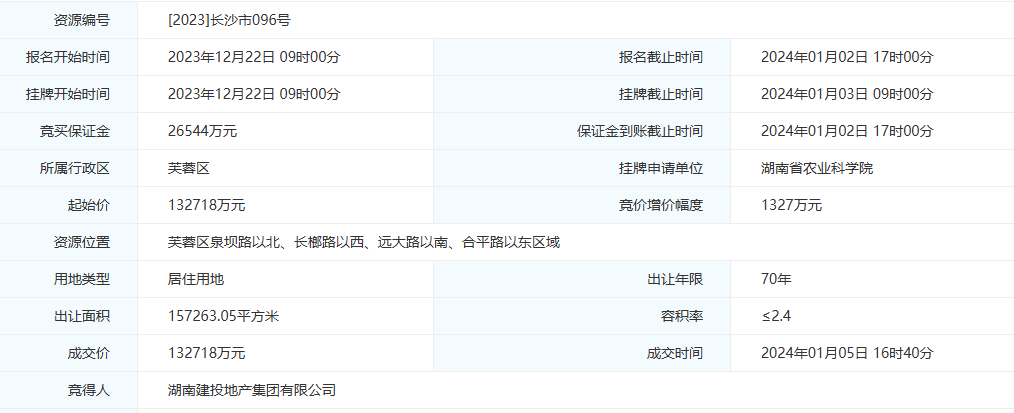
出让面积最大
1月3日,位于芙蓉区的[2023]长沙市096号住宅用地迎来出让,经过一轮报价后,该地块由湖南建投地产集团有限公司以底价竞得,出让面积为157263.05平方米,也是2024年长沙土地市场出让面积最大的涉宅地块。

成交价格最高
12月5日,天心区[2024]长沙市061号住宅用地迎来出让,经过一轮报价后,该地块由湖南建投地产集团有限公司以底价157500万元拿下,楼面价6374元/平。这也是2024年长沙成交价最高的住宅用地。
该地块位于天心区省府北板块,区位优势显著,宗地面积8.82万平方米,容积率2.8,计容建筑面积24.71万平方米,涵盖二类居住用地与中小学用地。
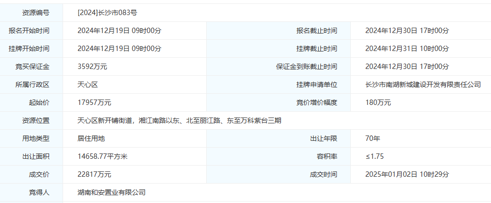
溢价率最高
12月31日,天心区新开铺街道的[2024]长沙市083号地块竞拍激烈,4家房企出价27笔,溢价27%,最终,地块被湖南和安置业有限公司收入囊中,成交总价22817万元,楼面价8895元/平。这也是2024年长沙土地市场中溢价率最高的住宅地块。
楼面价最高
12月25日,经过3家房企13轮激烈竞价,位于观沙岭板块的[2024]长沙市071号商住用地最终由长沙驰景房地产开发有限公司(绿城)摘得,总成交金额90244万元,楼面价10057元/平,成为2024年长沙土地市场中成交楼面价最高的地块。
来源: 凤凰网房产长沙站



