2025年3月10日,广发银行发布公告表示,该行董事长白涛因工作调动递交辞呈。高管变阵同时,该行董事会构成也有变化,3月4日,中信信托党委委员、副总经理田明明当选广发银行第十届董事会董事,这是该行第二大股东中信信托首次获得董事席位。
文丨时也运也
编丨顾柠
广发银行董事长辞任!
2025年3月10日,广发银行发布公告表示,该行董事长白涛因工作调动递交辞呈。高管变阵同时,该行董事会构成也有变化,3月4日,中信信托党委委员、副总经理田明明当选广发银行第十届董事会董事,这是该行第二大股东中信信托首次获得董事席位。
在此之前,广发银行披露了2024年的经营数据:据未经审计财务报告显示,广发银行2024年营收同比下降0.65%,归母净利润同比下降4.98%,与同业发展趋势一致。
1.
/ “老工行”白涛卸任广发银行董事长,
蔡希良定调2025发展方向 /
3月10日,广发银行官网更新公告显示,董事会当日收到辞任函,白涛因工作变动辞去该行董事长、董事职务,即日起生效。经查阅,广发银行官网董事会页面已更新,白涛不在其列。这意味着,自2024年8月28日白涛被免去中国人寿集团党委书记职务半年之后,其正式卸任广发银行的相应职务。

资料显示,白涛出生于1963年,毕业于中国人民大学金融学专业,经济学博士,职业生涯横跨“银行、保险”两个行业。早期,白涛曾在工行体系任职30年之久,历任海南分行行助,吉林分行副行长,湖南分行副行长(主持工作)、行长,总行资产风险管理部总经理、风险管理部总经理、内部审计局局长等职。
随后,白涛投身保险行业,2014年5月,白涛任国寿集团副总裁;2018年7月,转任人保集团总裁;任职不到两年,白涛被任命为国家开发投资集团董事长;2022年1月,白涛先被任命为国寿集团党委书记,同年6月正式出任董事长。
目前,广发银行高管阵容变更为:党委书记、行长王凯,党委副书记、监事长罗玉冰,党委委员、董事会秘书李广新,党委委员、副行长林德明,党委委员、副行长、风险责任人李小水,党委委员、副行长李冰,纪委书记、党委委员杨林,首席信息官李怀根,首席信贷官金茜。
作为广发银行的大股东,中国人寿董事长兼任广发银行董事长的历史由来已久。白涛之前,杨明生(2016年—2018年)、王滨(2018年—2022年年初)亦如是。此外,广发银行行长王凯、副行长李冰、纪委书记杨林等此前也均在国寿集团任职。
当下,国寿集团党委书记、董事长为去年11月内部晋升的蔡希良。2025年1月17日,广发银行召开2025年工作会议,蔡希良出席会议并表示,接下来广发银行的战略部署,将主要集中在增收、降本、转型、控险、合规等方面。会议号召,广发银行要进一步全面深化改革、苦练内功本领、勇挑使命重任,走好中国特色金融发展之路,为实现集团党委“333战略”贡献广发力量。
2.
/ 入股14年二股东首次进入广发银行董事会,
副总经理田明明当选董事 /
2025年3月4日,广发银行临时股东大会决议公告显示,中信信托党委委员、副总经理田明明当选广发银行第十届董事会董事,值得一提的是,这是其第二大股东中信信托首次获得该行董事席位。此外,中央财经大学金融学院副教授李德峰为广发银行第十届董事会独立董事。
白涛辞任董事长、董事,田明明、李德峰入围之后,广发银行董事会构成如下,董事:王凯(国寿集团副总裁)、王兵(候任)(广银理财董事长)、于胜全(国寿集团首席财务官)、刘辉(中国人保副总裁)、田明明(候任)(中信信托副总经理)、杨东伟(国网英大董事长)、许越洪(江西交投投资发展部部长)、张林富(广州城投总会计师)。
独立董事:郭云钊(国信国投基金管理(海南)总裁)、陈世敏(中欧国际工商学院会计学教授)、赵旭东(中国政法大学教授)、王曦(中山大学中国转型与开放经济研究所所长)、李德峰(候任)(中央财经大学金融学院副教授)。
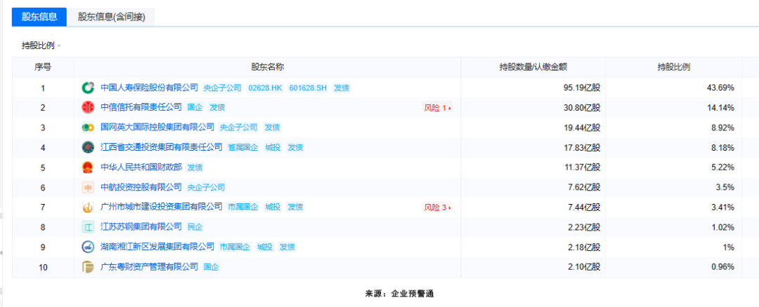
截至2024年末,广发银行前十大股东合计持股90.043%,与2023年末相比,原持有2.24亿股股份(占总股本的1.03%)的华晨汽车退出前十大股东行列,广东粤财资产管理现身前十大股东名单,位列第十,共计持有2.1亿股股份,持股比例为0.96%。
前十大其他股东持股比例较2023年未发生变化,其中国寿集团持股43.639%,为第一大股东,其次是中信信托、国网英大、江西交投、财政部、中航投资、广州城建投资、江苏苏钢、湖南湘江新区发展,分别持股14.14%、8.92%、8.18%、5.22%、3.50%、3.41%、1.02%、0.96%。其中,国寿集团与中航投资构成关联关系,国网英大的关联方国网上海市电力公司持股0.099%。
如今田明明的加入,派驻高管这一事实可被视作强化话语权的信号,2011年,中信信托入股广发银行,此后持股比例稳定在14.137%。有同业人士分析认为,中国人寿“333战略”提出培育三大上市平台,广发银行作为唯一未上市全国性股份行,控制权分配直接影响其资本运作路径,但股东在资源协同与战略目标上的博弈仍需观察。
2025年3月7日,官方招标网站发布了《中国人寿2024年度审计机构选聘项目中标结果变更公告》。其内显示,因原中标人天职国际会计师事务所(特殊普通合伙)自愿放弃广发银行年报审计项目中选资格,中标人(第2包参审会计师事务所(广发银行)),变更为立信会计师事务所(特殊普通合伙),其他内容不变。
3.
/ 总资产3.64万亿元,
不良率降至1.53% /
高管、董事变阵的同时,广发银行2024年业绩披露。广发银行2025年度同业存单发行计划显示,据2024年度未经审计的财务数据,期内该行实现营业收入687.96亿元,同比下降0.65%,实现归母净利润150.06亿元,同比下降4.98%。
资产负债规模上,截至2024年末,广发银行总资产为3.64万亿元,总负债3.35万亿元,所有者权益2982.41亿元,分别较2023年末增长3.86%、3.51%、7.87%。广发银行总负债规模增长放缓,和存款规模增长放缓不无关系。
受居民存款定期化影响,近几年,广发银行个人定期存款规模大幅增长,但占比超过三分之二的企业定期存款规模近两年却连续下降。2024年6月末,广发银行存款余额为2.05万亿元,相较2023年末下降了4.17个百分点。
虽然业绩有所承压,但广发银行近几年的资产质量得到明显改善。2024年,广发银行11次转让不良资产收益权,涉及原始不良资产总额327亿元,最终以21亿元成交,对不良资产的大力出清,在降低不良贷款率上起到了一定作用。2023年末,广发银行不良率为1.58%,不良贷款金额为326.1亿元,实现不良双降。2024年,广发银行不良率进一步下降,同比下降0.05个百分点至1.53%。





