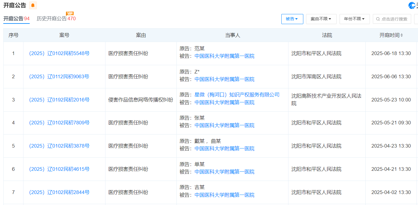
据天眼查开庭公告显示,2025年5月21日,中国医科大学附属第一医院因医疗损害责任纠纷被张某告上法庭[案号(2025)辽0102民初7809号],在沈阳市和平区人民法院开庭审理。

什么是医疗损害责任纠纷?
医疗损害责任纠纷是指因医疗机构及其医务人员的过错,致患者在诊疗护理活动中受到人身损害,应当由医疗机构承担侵权责任所产生的纠纷。根据《侵权责任法》的规定,医疗损害责任适用过错责任归责原则,改变了审判实践中长期采取的过错推定的原则。在责任性质上,医疗损害责任是一种替代责任,由医疗机构对其医务人员给患者造成的损害承担赔偿责任。
天眼查开庭公告还显示,2025年6月6日,中国医科大学附属第一医院同样因医疗损害责任纠纷被告[案号(2025)辽0112民初9063号],在沈阳市浑南区人民法院第三十五法庭开庭审理。6月18日,中国医科大学附属第一医院又因医疗损害责任纠纷被范某告上法庭[案号(2025)辽0102民初5548号],在沈阳市和平区人民法院战友院区三十六法庭开庭审理。
根据“复旦版”《2023年度中国医院综合排行榜》和《2023年度中国医院专科声誉排行榜》,中国医科大学附属第一医院被评为A++++,全国排名前20名。 据官网介绍,中国医科大学附属第一医院是一所大型综合性三级甲等医院,医院现有和平、浑南两个院区,和平院区现有建筑面积33.5万平方米,浑南院区规划面积约32.53万平方米。全院现有开放床位4230张(其中和平院区3121张、浑南院区1109张),全年门急诊量340.1万人次,住院量21.1万人次,手术量(含手术及治疗性操作)14.5万例,平均住院日6.18天。院长为尚红院士。
中国医科大学附属第一医院共获得国家科技进步二等奖8项,国家科技进步三等奖1项,国家自然科学三等奖1项,何梁何利基金科学与技术进步奖1项,法国医学科学院塞维雅奖1项,吴阶平医学奖1项,中华医学会百年纪念荣誉状1项。每年发表SCIE论文约500篇,重要临床队列研究成果发表在《Nature》《New England Journal of Medicine》。近5年间,全院共获得各级各类课题1400余项,科研经费近7亿元。

