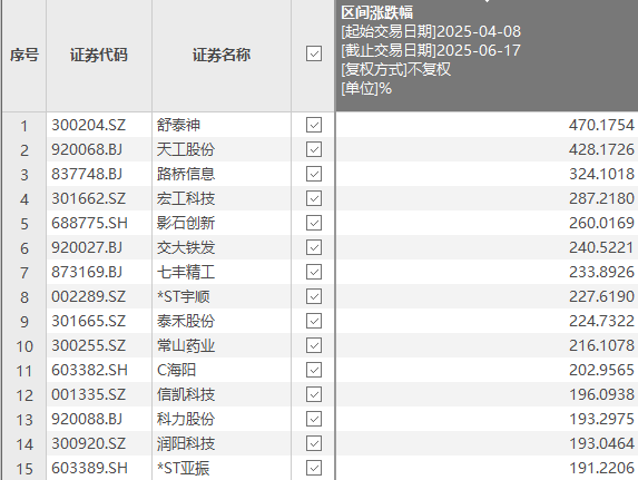
创新药今年走出趋势性行情,创新药中接连有“出头鸟”成为市场关注的焦点。从股价涨跌幅来看,自4月8日以来,舒泰神成了当之无愧的创新药A股“涨幅王”,即使跟所有A股股票相比,它也是最强的,涨跌幅达470%。

图片来源:Choice
舒泰神,这个“创新药之神”到底有啥可被炒的点?
舒泰神被炒作背后
从眼下的业绩来看,并不能成为推动舒泰神股价上涨的直接动力,原因很直接:就是不咋地。
根据财报数据,今年一季度,舒泰神营收为6321.40万元,同比下降33.45%;归母净利润为-233.50万元,同比增长38.05%;扣非归母净利润为-337.67万元,同比增长23.93%;基本每股收益0元!
对于这种既没有营收,也没有利润,连每股收益都是0的“三无”公司而言,证明股价的推动并非来自内生的业绩。
不过,舒泰神业务还是有点看头的。尤其是最近,舒泰神表示,多个在研项目所对应的多项适应症在持续推进临床试验中;公司研发管线中有部分临床前在研项目持续推进。
业务范围上,舒泰神的药,基本都是治疗疑难杂症的,在研药物囊括血管炎、血友病、少弱精子症等。
图片来源:公司公告
注射用STSP-0601是引发公司行情大涨的导火索之一。日前,注射用STSP-0601的上市申请获国家药品监督管理局正式受理,并被纳入优先审评程序。
注射用STSP-0601是用来治疗血友病的,舒泰神采用的创新性的疗法,可以起到促进快速止血的目的,在伴抑制物血友病的治疗中具有不可替代性。
IIb期临床试验显示,STSP-0601在伴抑制物患者中12小时有效止血率达81.94%,优于诺和诺德的治疗效果。
目前国内血友病患者约14万人,伴抑制物患者占比约20%,若扩展至不伴抑制物适应症,市场规模有望达百亿。
而且,血友病已被纳入国家罕见病防治专项规划,如果能进入医保,公司业务也有望放量。
除此之外,有机构称,2025年可能是创新药行业“三大元年”的起点。
第一,收入放量元年:国内创新药新品审批速度越来越快,叠加创新药如果纳入医保,对创新药的销量会起到带动作用。
第二,盈利跨越元年:创新药企业盈利要经过漫长的时期,起步普遍需要8-10年。中国创新药基本起步于2015年,不过目前来看,很多企业已经跨过盈亏平衡点。
第三,估值抬升元年:医保局已经有意引导商业保险覆盖高价创新药,AI等新技术的发展也有望助力创新药估值提升。
所以,从未来的营利性和公司业务前景来推理,舒泰神能涨也不奇怪。
资金左右互博
今年,押注创新药的基金活得很滋润。2025年刚过半,市场已经出现了一只相关领域的翻倍基,重仓创新药板块的汇添富香港优势精选A,年内收益99.5%左右。
不过,创新药涨得最好的舒泰神并非其持仓标的。
如果进一步翻看舒泰神基金重仓情况,竟然很少有专门创新药领域的基金。叠加ETF持仓,基金持有的舒泰神仅有58万股,合计持有流通市值不过才430万左右。毕竟舒泰神过去业绩太差了,没法入公募基金的眼。
图片来源:Choice
公募没敢买的票,这波让游资们炒起来了。
5月27日—6月9日,舒泰神多次出现在龙虎榜中,据悉,5月28日—5月30日,买入金额前五名的席位中,4家为机构席位,机构合计净买入约2.11亿元。
以5月27日为例,游资陈小群、量化基金都来横插一脚,双方合力抬升舒泰神的股价。
图片来源:同花顺
到了5月29日,舒泰神继续登上龙虎榜,除了机构投资者之外,中小投资者,所谓的散户见势大量买入,一共买进59.4亿。不过,还有一些散户看见舒泰神连续多日上涨选择获利了结,主打一个落袋为安。
整个29日这天,可以说舒泰神就是一个散户专场。
图片来源:同花顺
当你以为舒泰神涨太多的时候,游资总爱玩逆反心态。所以到了5月30日,陈小群再次大量买入。买方席位前五中,除了游资,全部都是机构专用户,散户又无影无踪了。
图片来源:同花顺
6月3日,陈小群开始卖出舒泰神,合计金额2512.59万,不过结合前面这几天的买入金额,他手中还有9200多万的货,只是后面几个交易日,没有再出现在龙虎榜上。
图片来源:同花顺
6月9日,龙虎榜坐席上留下的都是一批散户,在相互交换筹码。
图片来源:同花顺
结语
今年,创新药确实存在很多机会。无论是政策,还是盈利能力上,都有望提振相关公司的估值。
此外,汇添富基金经理指出,看好中国新药公司未来在全球的成长空间。2024年license out(对外许可)海外大药企的交易占比接近30%,2025年一季度进一步提升,全球5000亿美金+的新药市场,有望为中国新药公司打开新的成长空间。
国内方面,随着内需的回暖,2025年产品型企业将迎来恢复性增长。各项政策支持在支付端、准入端、投融资端都对行业有所帮助。
创新药,最重要的是在创新二字,不管是研发层面还是技术路线层面上的创新,差异化是避免进入内卷的有效出路。










