十亿级品牌陷“罗生门”,品牌授权合作模式下的权责边界亟待明晰。
作者 | 文 静
责编 | Lucky
近日,人民法院公告网新增了一例开庭公告,内容涉及股东知情权纠纷。梳理事件相关,发现这一事件背后的本质是“两个AKF”之争。

△截图自人民法院公告网
事实上,自去年以来业内人士普遍发现有两个“AKF”品牌并行于世,从官方公众号来区分,分别为“AKF化妆品”、“AKF美妆”,分属于青岛艾乐肤化妆品有限公司(下称:青岛艾乐肤)、艾乐肤(广州)生物科技有限公司(下称:广州艾乐肤)。
△截图自AKF化妆品、AKF美妆微信公众号
事实上,除了青岛和广州艾乐肤之外,该案件还牵扯进了第三家艾乐肤,那就是韩国艾乐肤化妆品株式会社(下称:韩国艾乐肤),而韩国艾乐肤是AKF商标权人。
需要注意的是,去年,青岛艾乐肤与韩国艾乐肤均将对方告上法庭,而近日公告开庭的官司只是相关诉讼中的冰山一角。
通过对系列相关案件的梳理,或许我们可以揭开“AKF之争”背后的真相。
为什么会有两个AKF?
结合企查查等信息梳理品牌历史,可以看到,AKF品牌创立于2018年,自2020年起布局彩妆赛道,聚美丽过往报道显示,AKF在2022年产品全渠道销量为3700万件,彼时,AKF全年销售额达14亿元。
从品牌归属来看,有消息称该品牌由“韩国艾乐肤株式会社”即韩国艾乐肤打造,亦有传该品牌背后是国内某知名MCN机构自创,该机构旗下头部红人和AKF做了深度绑定。聚美丽此前曾咨询传闻涉及的该机构,得到的回复是他们“双方没有股权或投资关系,只是红人合作”。
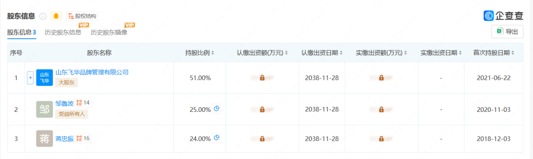
通过最新的调查,聚美丽发现,AKF最早由刘进华、邹鲁波等人创办。具体的分工与合作结构中,邹鲁波作为韩国艾乐肤的股东、法定代表人,持有相关商标。而由刘进华旗下的山东飞华品牌管理有限公司作为控股股东、邹鲁波作为第二大股东的青岛艾乐肤作为运营主体。韩国艾乐肤通过独占许可的方式将商标授权给青岛艾乐肤。
△截图自企查查
值得注意的是,有消息人士告诉聚美丽,韩国艾乐肤在中国没有任何人员、办事处、资产,甚至连开户银行都没有。所以,韩国艾乐肤只是持有商标的主体。
同时,判决书内容显示,邹鲁波亦是广州艾乐肤的法人、实控人(目前企查查显示该公司法人为邹树龙)。
所以韩国艾乐肤在将品牌以“独占许可”的方式授权给青岛艾乐肤之后,涉嫌“一女二嫁”又将该品牌授权给了邹鲁波实际控制的广州艾乐肤,并由此引发系列纷争。
据上述消息人士及相关媒体透露,去年,由邹鲁波实际控制的广州艾乐肤曾利用品牌声誉搞“供应链金融”。其模式主要为要求合作方接受“先货后款”并设置2-3个月的超长账期,吸引不少供应链企业入局。
然而,由于该公司运作的品牌在市场上货盘混乱,产品动销乏力,甚至在拼多多渠道也难以销售,至今已拖欠多家供应链企业货款数千万元。此外,广州艾乐肤也已与为其运营拼多多的服务商终止合作。
另外,在天眼查上可以看到广州艾乐肤已涉多起司法诉讼,案由包括合同纠纷与商标权纠纷等。其中广州艾乐肤的代工厂,也因合同纠纷将其告上法庭。
△图源:天眼查
据此前的判决书显示,2021年11月25日,由邹鲁波担任法人、股东的韩国艾乐肤与青岛艾乐肤签订《商标使用许可合同》,该合同中明确约定韩国艾乐肤以独占许可的方式授权青岛艾乐肤使用第19934072号及第38843675号注册商标,并授权其维权的权利,合同带有双方公章,经国家知识产权局公告备案后已产生公信效力。因此,青岛艾乐肤系由邹鲁波与山东飞华合资运营,由韩国艾乐肤提供独占许可授权,在中国市场生产、销售和推广AKF品牌化妆品。
然而,2024年4月29日,韩国艾乐肤向青岛艾乐肤发送《商标使用许可终止通知书》,并授权案外人广州艾乐肤使用第19934072号及第38843675号注册商标。
因此,简单梳理三者关系,大致如下图:
目前,一审法院判决双方于2021年11月25日签订的《商标使用许可合同》有效,同时判决韩国艾乐肤立即停止违反《商标使用许可合同》约定的行为,立即向中华人民共和国国家知识产权局撤回“提前终止备案申请”,立即停止自行或授权第三方使用第38843675号、第19934072号注册商标。但《授权书》效力则于2024年5月13日止。
一审判决依据何在
文章开头已有提到,青岛艾乐肤与韩国艾乐肤均将对方诉上法庭,在两份判决书中,重点需要关注的便是《商标使用许可合同》《授权书》效力问题。
如前文所言,《商标使用许可合同》中约定双方以“独占许可的方式授权”已经由国家知识产权局公告备案后已产生公信效力,这一点也在韩国艾乐肤2024年5月30日向其供货商出具的《针对青岛艾乐肤化妆品有限公司的回应》(下称:《回应》)中予以确认。
与此同时,在韩国艾乐肤发送的《商标使用许可终止通知书》中,亦明确表示:“我单位(即韩国艾乐肤)以独占许可方式许可贵司使用我单位享有注册商标专用权的第19934072号AKF商标和第38843675号AKF商标……”
值得注意的是,通过韩国艾乐肤公开发布的声明中可见,虽然韩国艾乐肤称双方在实际经营中对涉案商标授权是普通许可,并非独占许可授权关系,但其并未否认该份合同的真实性。因此,基于上述事实,法院认为涉案《商标使用许可合同》系由双方签订、真实存在的文件,是双方真实的意思表示,合同内容不违反法律、行政法规的强制性规定,故判定该合同合法有效,合同履行期限尚未届满,韩国艾乐肤无权单方面解除。
需明确的是,法院认为《授权书》是双方意思的真实表示,合法有效,但考虑到《授权书》所涉68枚商标系无固定期限的免费授权使用等情况,《授权书》的效力于2024年5月13日终止。
不过,双方之间的商标使用许可关系并不能因《授权书》的效力已终止就当然解除。在《授权书》之外,双方还签订了《商标使用许可合同》,两份文件均系双方之间商标使用许可法律关系的依据,涉案《商标使用许可合同》仍然合法有效,因此,对于双方之间的商标授权关系依然具有约束力。
目前,该案件正进入二审阶段,这场关乎品牌身份争夺战正式拉开序幕,未来这一十亿级美妆品牌的最终归属何方还需留待法律来裁定,聚美丽将持续关注。
AKF作为近年来快速崛起的新锐彩妆品牌,曾以高频高性价比单品如散粉、睫毛膏、唇泥等切入市场,在抖音生态以凌厉的运营打法出圈,快速成长为头部新锐品牌,但企业刚上规模就爆出股东纷争,也使得这一品牌的未来蒙上一层阴影。
视觉设计:乐乐
微信排版:苹果





