据「新知南通研究院」不完全统计,2026年1月,南通大市累计挂牌涉宅地块17宗,全部以底价成交,总出让土地面积约65万㎡,实现土地出让金收入约69亿元。
环比2025年12月,成交宗数减少5宗,面积减少约42万㎡,收入减少约11亿元;同比2025年1月,成交宗数减少3宗,面积减少约37万㎡,收入减少约30亿元。

就区域表现而言——1月卖地收入最高为如皋,8宗地块贡献近27亿元,占总收入约39%;位列第二的是启东,3宗地块揽金近19亿元,占比约27%;南通市区及通州湾1月无新增宅地供应。
就成交楼面价而言——1月未有“万元地”新增,最高楼面价约9801元/㎡(启东25045地块)。
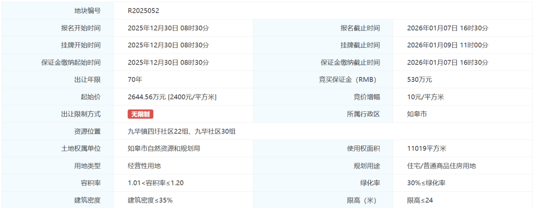
就拿地主体而言——16宗由地方国企摘牌,仅1宗由民营企业摘牌(如皋R2025052地块)。
拿地民企为南通天业置业有限公司,摘牌地块位于如皋九华镇,土地面积11019㎡,容积率1.01-1.2,成交总价2645万元,楼面价2000元/㎡。天眼查信息显示,该公司成立于2008年,是一家以从事房地产业为主的企业,企业注册资本3200万人民币。
总体来看,2026年1月南通土地市场延续“国企托底”态势,市场活跃度仍待提升。
数据说明
*统计时间:2026年2月3日
*数据来源:南通市自然资源网上交易平台
*转载或引用,请注明来源「新知南通研究院」
来源: 凤凰网房产南通站





