2月20日消息,如今越来越多的手机开始具备卫星通信能力,苹果自然也不会落下。据外媒报道,苹果一项新获批的专利显示,苹果正在研究将相控阵天线与手机壳相结合,以便让iPhone甚至iPad具备卫星通信的能力。

早在2022年iPhone 14上,苹果就推出了卫星紧急求救(Emergency SOS)功能以来,并且也已在多次险情中立功,但其局限性也十分明显。受限于手机内部微小的天线面积和发射功率,用户必须在空旷地带精准对准卫星,且数据传输速度极慢,仅能维持文字通信。
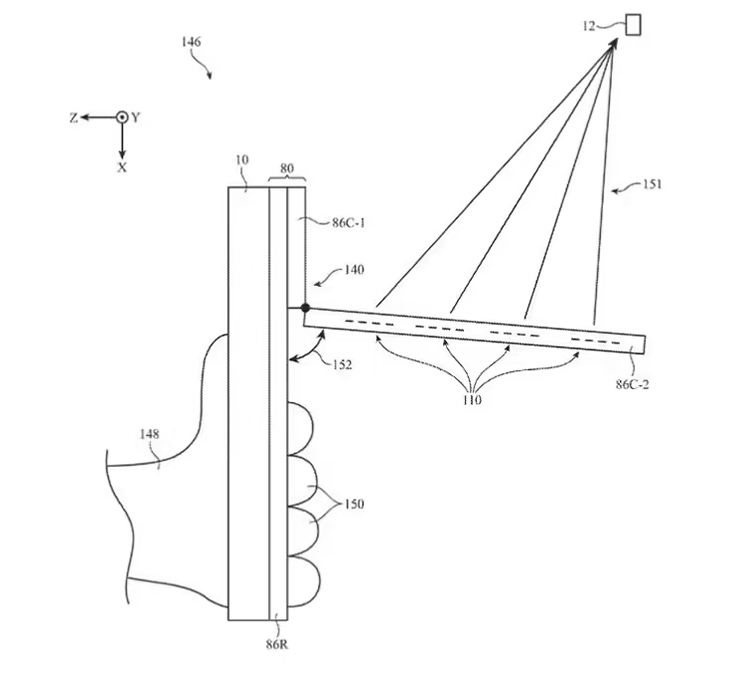
而苹果这一新专利,则是提供了一个新的思路,如果手机装不下大天线,就让手机壳来背。专利显示的保护壳内置了复杂的相控阵天线阵列。与传统天线不同,它拥有多个发射和接收单元,能够通过波束成形技术,在不移动设备的情况下,自动追踪并锁定天空中移动的卫星群。
同时,信息显示,该保护壳可以同时连接多颗低轨卫星。这意味着当一颗卫星飞离视线时,信号能无缝切换到下一颗,从而维持稳定的数据链路。
此外,专利信息还提到,该保护壳能显著提升数据吞吐量。目前的卫星通信仅能处理几百字节的求救文本,而配备了该保护壳的iPhone或iPad,将具备处理宽带级数据的能力。这意味着在没有基站的荒漠、深海或是偏远山区,用户可能直接通过卫星刷网页、收发带附件的电子邮件,甚至进行社交媒体互动。
尽管目前仅处于专利阶段,但依旧展示了苹果近期在卫星领域的大动作。此前,苹果已向卫星运营商Globalstar追加了11亿美元的投资,明显能够感受到苹果在卫星通信领域的布局。
如果该专利最终量产,它将彻底改变户外运动爱好者、航海者及偏远地区工作者的通信习惯。它不再是一个“一生用一次”的救命开关,而是一个将iPhone变成全球漫游终端的专业配件。 虽然专利转化为实际产品尚需时日,但可以预见,未来的iPhone用户或许只需要换个手机壳,就能撕掉“无服务”的标签,在地球的任何一个角落随时联网。




